Polaris
Browse New Models
Shop In-Stock
Honda
Browse New Models
Shop In-Stock
KTM
Browse New Models
Shop In-Stock
Beta
Browse New Models
Shop In-Stock
Timbersled
Browse New Models
1318 W 2nd St
,
The Dalles, OR
97058
541-298-1161
Search Inventory
Toggle navigation
Home
Brands
Inventory
All Inventory In Stock
New Inventory In Stock
Pre-Owned Inventory
Polaris Off-Road
Polaris Snowmobiles
Timbersled
Manufacturer Models
Value Your Trade-In
Request a Model
Government Purchasing Program
OEM Promotions
Secure Financing
Parts
Parts Department
Parts Finder
Shopping Cart
Service
Service Department
Warranty & Recall Look-Up
Schedule Polaris Service
Financing
About
Our Dealership
Our Team
Reviews
Customer Survey
Employment
Location & Hours
Contact
541-298-1161
The Dalles, OR
Fiche | Parts Diagrams
Home
›
Parts
›
Parts Finder
Search by :
Part / Desc
VIN
Please Select
Honda
KTM
Polaris
*Please enter at least 3 characters
SEARCH
Manufacturer
Honda
Motorcycles
2007
CR250R A
VIEW WISH LIST
Select a Section
Show/Hide
AIR CLEANER ('05-'07)
CARBURETOR ('04-'07)
CARBURETOR OPTIONAL PARTS
CLUTCH
CRANKCASE ('05-'07)
CRANKSHAFT
CYLINDER@CYLINDER HEAD
EXHAUST VALVE ('05-'07)
EXPANSION CHAMBER
FRAME
FRONT BRAKE CALIPER
FRONT BRAKE MASTER
FRONT FENDER
FRONT SHOCK ABSORBER
FRONT WHEEL
FUEL TANK
GEARSHIFT DRUM
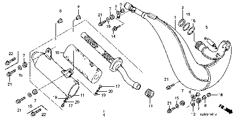
HANDLE LEVER@SWITCH@CABLE
HANDLEBAR@TOP BRIDGE
KICK STARTER SPINDLE
LABELS
LEFT CRANKCASE COVER
MARKS ('06-'07)
PEDAL
RADIATOR ('05-'07)
REAR BRAKE CALIPER
REAR BRAKE MASTER
REAR FENDER
REAR SHOCK ABSORBER
REAR WHEEL
RIGHT CRANKCASE COVER
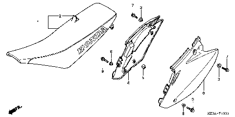
SEAT
SERVO MOTOR
STEERING STEM
STEP
SWINGARM
TOOLS
TRANSMISSION
WATER PUMP
WIRE HARNESS
AIR CLEANER ('05-'07)
CARBURETOR ('04-'07)
CARBURETOR OPTIONAL PARTS
CLUTCH
CRANKCASE ('05-'07)
CRANKSHAFT
CYLINDER@CYLINDER HEAD
EXHAUST VALVE ('05-'07)
EXPANSION CHAMBER
FRAME
FRONT BRAKE CALIPER
FRONT BRAKE MASTER
FRONT FENDER
FRONT SHOCK ABSORBER
FRONT WHEEL
FUEL TANK
GEARSHIFT DRUM
HANDLE LEVER@SWITCH@CABLE
HANDLEBAR@TOP BRIDGE
KICK STARTER SPINDLE
LABELS
LEFT CRANKCASE COVER
MARKS ('06-'07)
PEDAL
RADIATOR ('05-'07)
REAR BRAKE CALIPER
REAR BRAKE MASTER
REAR FENDER
REAR SHOCK ABSORBER
REAR WHEEL
RIGHT CRANKCASE COVER
SEAT
SERVO MOTOR
STEERING STEM
STEP
SWINGARM
TOOLS
TRANSMISSION
WATER PUMP
WIRE HARNESS
VIEW WISH LIST