Polaris
Browse New Models
Shop In-Stock
Honda
Browse New Models
Shop In-Stock
KTM
Browse New Models
Shop In-Stock
Beta
Browse New Models
Shop In-Stock
Timbersled
Browse New Models
1318 W 2nd St
,
The Dalles, OR
97058
541-298-1161
Search Inventory
Toggle navigation
Home
Brands
Inventory
All Inventory In Stock
New Inventory In Stock
Pre-Owned Inventory
Polaris Off-Road
Polaris Snowmobiles
Timbersled
Manufacturer Models
Value Your Trade-In
Request a Model
Government Purchasing Program
OEM Promotions
Secure Financing
Parts
Parts Department
Parts Finder
Shopping Cart
Service
Service Department
Warranty & Recall Look-Up
Schedule Polaris Service
Financing
About
Our Dealership
Our Team
Reviews
Customer Survey
Employment
Location & Hours
Contact
541-298-1161
The Dalles, OR
Fiche | Parts Diagrams
Home
›
Parts
›
Parts Finder
Search by :
Part / Desc
VIN
Please Select
Honda
KTM
Polaris
*Please enter at least 3 characters
SEARCH
Manufacturer
Honda
Motorcycles
2007
VTX1300R AC
VIEW WISH LIST
Select a Section
Show/Hide
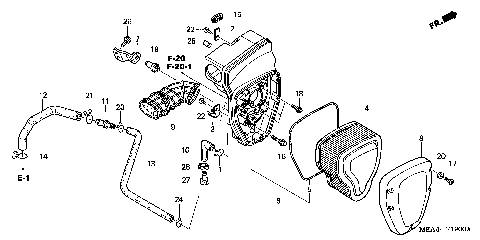
AIR CLEANER
AIR INJECTION CONTROL
AIR INJECTION CONTROL(2)
ALTERNATOR
BALANCER
BATTERY
BRAKE LINE
CAM CHAIN@TENSIONER
CAMSHAFT@VALVE
CARBURETOR
CAUTION LABELS@MARKS
CLUTCH
CRANKCASE
CRANKSHAFT@PISTON
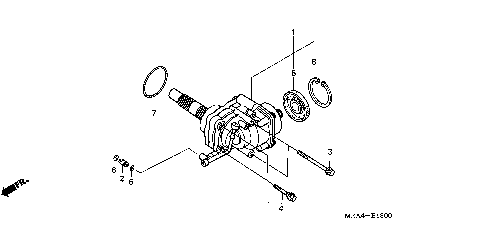
CROSS SHAFT
CYLINDER
CYLINDER HEAD (FR.)
CYLINDER HEAD (RR.)
CYLINDER HEAD COVER (FR.)
CYLINDER HEAD COVER (RR.)
EMBLEM@MARK
EVAP CANISTER (AC)
FINAL DRIVEN GEAR
FRAME
FRONT BRAKE CALIPER
FRONT BRAKE MASTER
FRONT FENDER
FRONT FORK
FRONT WHEEL (VTX1300R)
FRONT@REAR TURN SIGNAL
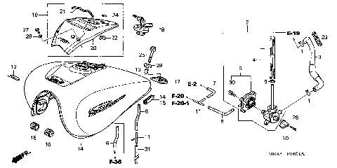
FUEL TANK
GASKET KIT A
GASKET KIT B
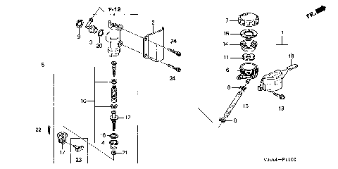
GEARSHIFT DRUM
HANDLE SWITCH
HANDLEBAR@TOP BRIDGE
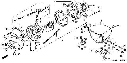
HEADLIGHT
LEFT CRANKCASE COVER
MUFFLER
OIL FILTER@OIL PUMP
PEDAL
RADIATOR
REAR BRAKE CALIPER
REAR BRAKE MASTER
REAR FENDER@GRAB RAIL
REAR SHOCK ABSORBER
REAR WHEEL (VTX1300R)
RIGHT CRANKCASE COVER
SEAT
SIDE COVER
SIDE STAND
SPEEDOMETER
STARTING MOTOR
STEERING STEM
STEP
SWINGARM
TAILLIGHT
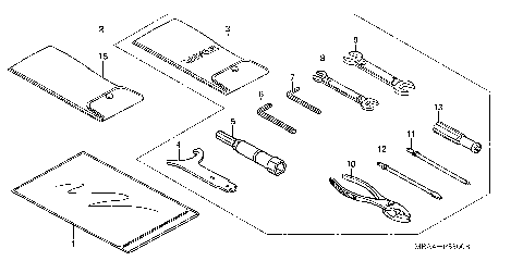
TOOLS
TRANSMISSION
WATER PUMP
WIRE HARNESS
AIR CLEANER
AIR INJECTION CONTROL
AIR INJECTION CONTROL(2)
ALTERNATOR
BALANCER
BATTERY
BRAKE LINE
CAM CHAIN@TENSIONER
CAMSHAFT@VALVE
CARBURETOR
CAUTION LABELS@MARKS
CLUTCH
CRANKCASE
CRANKSHAFT@PISTON
CROSS SHAFT
CYLINDER
CYLINDER HEAD (FR.)
CYLINDER HEAD (RR.)
CYLINDER HEAD COVER (FR.)
CYLINDER HEAD COVER (RR.)
EMBLEM@MARK
EVAP CANISTER (AC)
FINAL DRIVEN GEAR
FRAME
FRONT BRAKE CALIPER
FRONT BRAKE MASTER
FRONT FENDER
FRONT FORK
FRONT WHEEL (VTX1300R)
FRONT@REAR TURN SIGNAL
FUEL TANK
GASKET KIT A
GASKET KIT B
GEARSHIFT DRUM
HANDLE SWITCH
HANDLEBAR@TOP BRIDGE
HEADLIGHT
LEFT CRANKCASE COVER
MUFFLER
OIL FILTER@OIL PUMP
PEDAL
RADIATOR
REAR BRAKE CALIPER
REAR BRAKE MASTER
REAR FENDER@GRAB RAIL
REAR SHOCK ABSORBER
REAR WHEEL (VTX1300R)
RIGHT CRANKCASE COVER
SEAT
SIDE COVER
SIDE STAND
SPEEDOMETER
STARTING MOTOR
STEERING STEM
STEP
SWINGARM
TAILLIGHT
TOOLS
TRANSMISSION
WATER PUMP
WIRE HARNESS
VIEW WISH LIST