Polaris
Browse New Models
Shop In-Stock
Honda
Browse New Models
Shop In-Stock
KTM
Browse New Models
Shop In-Stock
Beta
Browse New Models
Shop In-Stock
Timbersled
Browse New Models
1318 W 2nd St
,
The Dalles, OR
97058
541-298-1161
Search Inventory
Toggle navigation
Home
Brands
Inventory
All Inventory In Stock
New Inventory In Stock
Pre-Owned Inventory
Polaris Off-Road
Polaris Snowmobiles
Timbersled
Manufacturer Models
Value Your Trade-In
Request a Model
Government Purchasing Program
OEM Promotions
Secure Financing
Parts
Parts Department
Parts Finder
Shopping Cart
Service
Service Department
Warranty & Recall Look-Up
Schedule Polaris Service
Financing
About
Our Dealership
Our Team
Reviews
Customer Survey
Employment
Location & Hours
Contact
541-298-1161
The Dalles, OR
Fiche | Parts Diagrams
Home
›
Parts
›
Parts Finder
Search by :
Part / Desc
VIN
Please Select
Honda
KTM
Polaris
*Please enter at least 3 characters
SEARCH
Manufacturer
Honda
Motorcycles
2007
VTX1800C1 A
VIEW WISH LIST
Select a Section
Show/Hide
ADJUSTABLE BACKREST (WITH
AIR CLEANER
AIR INJECTION CONTROL
ALTERNATOR
BACKREST (CHROME) (LOW)
BACKREST (CHROME) (LOW,
BACKREST (CHROME) (TALL)
BACKREST (CHROME) (TALL)(2)
BACKREST (LOW, SPORT
BACKREST (TALL, SPORT
BACKREST DELUXE (CHROME
BACKREST DELUXE RR.
BACKREST RR. CARRIER
BACKREST TRIM (CHROME)
BACKREST TRIM (CHROME)(2)
BACKREST TRIM (LOW, SPORT
BACKREST TRIM (TALL,
BACKREST TRIM DELUXE
BALANCER
BATTERY
BILLET UPPER FORK NUT
BOLT COVERS BANJO BILLET
BOLT INSERTS ALLEN (5MM)
BOLT INSERTS ALLEN (6MM)
BOLT INSERTS ALLEN (8MM)
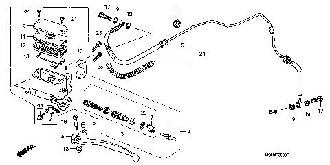
BRAKE LINES
CAM CHAIN@TENSIONER
CAMSHAFT@VALVE
CARRIER REAR DELUXE
CHROME LIGHT BAR
CLUTCH
CLUTCH COVER (BILLET
CLUTCH COVER (BILLET(2)
CLUTCH MASTER CYLINDER
COUNTERSHAFT COVER
COUNTERSHAFT COVER TRIM
COUNTERSHAFT COVER TRIM(2)
CRANKCASE
CRANKSHAFT@PISTON
CROSS SHAFT
CYCLE COVER
CYLINDER
CYLINDER HEAD (FR.)
CYLINDER HEAD (RR.)
CYLINDER HEAD COVER
DIGITAL AUDIO SYSTEM
DIPSTICK (BILLET
DIPSTICK (BILLET FLUTED)
DRIVESHAFT BOLT COVER
DRIVESHAFT BOLT COVER(2)
DRIVESHAFT BOLT COVER(3)
DRIVESHAFT COVER
EMBLEM@MARK (VTX1800C)
EVAP CANISTER (AC)
FINAL DRIVEN GEAR
FRAME
FRONT BRAKE CALIPER (L.)
FRONT BRAKE CALIPER (R.)
FRONT BRAKE MASTER
FRONT FENDER
FRONT FORK (2)
FRONT LEATHER POUCH
FRONT LEATHER POUCH(2)
FRONT LEATHER POUCH(3)
FRONT WHEEL (VTX1800C)
FUEL TANK (2)
GASKET KIT A
GASKET KIT B
GEARSHIFT DRUM
GRAB RAIL (PASSENGER)
HANDLE SWITCH (2)
HANDLEBAR@TOP BRIDGE
HEADLIGHT (VTX1800C)
HEATED GRIPS (CHROME)
LABELS
LEFT CRANKCASE COVER
LICENSE PLATE FRAME
LIGHT BAR BULB
MASTER CYLINDER CAP
MASTER CYLINDER CAP(2)
MASTER CYLINDER CAP(3)
MUFFLER (VTX1800C)
OIL FILTER@OIL PUMP
PASSENGER BILLET
PEDAL
RADIATOR (VTX1800C1)
REAR BRAKE CALIPER
REAR BRAKE MASTER
REAR CARRIER (CHROME)
REAR CARRIER (SPORT
REAR FENDER PANEL
REAR FENDER@GRAB RAIL
REAR SHOCK ABSORBER (2)
REAR WHEEL (VTX1800C)
RIGHT CRANKCASE COVER
SADDLEBAG (LEATHER)
SADDLEBAG (LEATHER)(2)
SADDLEBAG (LEATHER)(3)
SADDLEBAG, MOUNT BRACKETS
SEAT (VTX1800C)
SIDE COVER (2)
SIDE STAND
SPARK PLUG COVER TRIM
SPEEDOMETER (2)
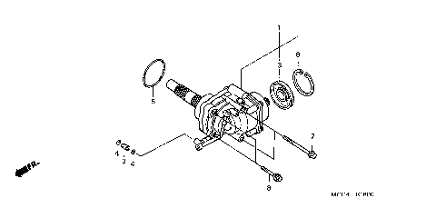
STARTING MOTOR
STEERING STEM
STEP (VTX1800C)
STRIPE@MARK (VTX1800C)
SWINGARM
SWINGARM COVER
SWINGARM PIVOT COVER SET
SWINGARM PIVOT COVER SET(2)
TAILLIGHT (VTX1800C)
TANK BELT (LEATHER)
TANK BELT (LEATHER)(2)
THROTTLE BODY
TIMING COVER (BILLET
TIMING@CRANKSHAFT
TOOLS
TOURING BAG (LEATHER)
TOURING BAG (LEATHER)(2)
TOURING BAG (LEATHER)(3)
TRANSMISSION
TURN SIGNAL (2)
WATER PUMP
WINDSHIELD
WINDSHIELD (BOULEVARD)
WINDSHIELD (BOULEVARD)(2)
WINDSHIELD (BOULEVARD)(3)
WINDSHIELD (BOULEVARD)(4)
WINDSHIELD (CUSTOM)
WINDSHIELD (SPORT)
WINDSHIELD AIR DEFLECTOR
WIRE HARNESS
ADJUSTABLE BACKREST (WITH
AIR CLEANER
AIR INJECTION CONTROL
ALTERNATOR
BACKREST (CHROME) (LOW)
BACKREST (CHROME) (LOW,
BACKREST (CHROME) (TALL)
BACKREST (CHROME) (TALL)(2)
BACKREST (LOW, SPORT
BACKREST (TALL, SPORT
BACKREST DELUXE (CHROME
BACKREST DELUXE RR.
BACKREST RR. CARRIER
BACKREST TRIM (CHROME)
BACKREST TRIM (CHROME)(2)
BACKREST TRIM (LOW, SPORT
BACKREST TRIM (TALL,
BACKREST TRIM DELUXE
BALANCER
BATTERY
BILLET UPPER FORK NUT
BOLT COVERS BANJO BILLET
BOLT INSERTS ALLEN (5MM)
BOLT INSERTS ALLEN (6MM)
BOLT INSERTS ALLEN (8MM)
BRAKE LINES
CAM CHAIN@TENSIONER
CAMSHAFT@VALVE
CARRIER REAR DELUXE
CHROME LIGHT BAR
CLUTCH
CLUTCH COVER (BILLET
CLUTCH COVER (BILLET(2)
CLUTCH MASTER CYLINDER
COUNTERSHAFT COVER
COUNTERSHAFT COVER TRIM
COUNTERSHAFT COVER TRIM(2)
CRANKCASE
CRANKSHAFT@PISTON
CROSS SHAFT
CYCLE COVER
CYLINDER
CYLINDER HEAD (FR.)
CYLINDER HEAD (RR.)
CYLINDER HEAD COVER
DIGITAL AUDIO SYSTEM
DIPSTICK (BILLET
DIPSTICK (BILLET FLUTED)
DRIVESHAFT BOLT COVER
DRIVESHAFT BOLT COVER(2)
DRIVESHAFT BOLT COVER(3)
DRIVESHAFT COVER
EMBLEM@MARK (VTX1800C)
EVAP CANISTER (AC)
FINAL DRIVEN GEAR
FRAME
FRONT BRAKE CALIPER (L.)
FRONT BRAKE CALIPER (R.)
FRONT BRAKE MASTER
FRONT FENDER
FRONT FORK (2)
FRONT LEATHER POUCH
FRONT LEATHER POUCH(2)
FRONT LEATHER POUCH(3)
FRONT WHEEL (VTX1800C)
FUEL TANK (2)
GASKET KIT A
GASKET KIT B
GEARSHIFT DRUM
GRAB RAIL (PASSENGER)
HANDLE SWITCH (2)
HANDLEBAR@TOP BRIDGE
HEADLIGHT (VTX1800C)
HEATED GRIPS (CHROME)
LABELS
LEFT CRANKCASE COVER
LICENSE PLATE FRAME
LIGHT BAR BULB
MASTER CYLINDER CAP
MASTER CYLINDER CAP(2)
MASTER CYLINDER CAP(3)
MUFFLER (VTX1800C)
OIL FILTER@OIL PUMP
PASSENGER BILLET
PEDAL
RADIATOR (VTX1800C1)
REAR BRAKE CALIPER
REAR BRAKE MASTER
REAR CARRIER (CHROME)
REAR CARRIER (SPORT
REAR FENDER PANEL
REAR FENDER@GRAB RAIL
REAR SHOCK ABSORBER (2)
REAR WHEEL (VTX1800C)
RIGHT CRANKCASE COVER
SADDLEBAG (LEATHER)
SADDLEBAG (LEATHER)(2)
SADDLEBAG (LEATHER)(3)
SADDLEBAG, MOUNT BRACKETS
SEAT (VTX1800C)
SIDE COVER (2)
SIDE STAND
SPARK PLUG COVER TRIM
SPEEDOMETER (2)
STARTING MOTOR
STEERING STEM
STEP (VTX1800C)
STRIPE@MARK (VTX1800C)
SWINGARM
SWINGARM COVER
SWINGARM PIVOT COVER SET
SWINGARM PIVOT COVER SET(2)
TAILLIGHT (VTX1800C)
TANK BELT (LEATHER)
TANK BELT (LEATHER)(2)
THROTTLE BODY
TIMING COVER (BILLET
TIMING@CRANKSHAFT
TOOLS
TOURING BAG (LEATHER)
TOURING BAG (LEATHER)(2)
TOURING BAG (LEATHER)(3)
TRANSMISSION
TURN SIGNAL (2)
WATER PUMP
WINDSHIELD
WINDSHIELD (BOULEVARD)
WINDSHIELD (BOULEVARD)(2)
WINDSHIELD (BOULEVARD)(3)
WINDSHIELD (BOULEVARD)(4)
WINDSHIELD (CUSTOM)
WINDSHIELD (SPORT)
WINDSHIELD AIR DEFLECTOR
WIRE HARNESS
VIEW WISH LIST