Polaris
Browse New Models
Shop In-Stock
Honda
Browse New Models
Shop In-Stock
KTM
Browse New Models
Shop In-Stock
Beta
Browse New Models
Shop In-Stock
Timbersled
Browse New Models
1318 W 2nd St
,
The Dalles, OR
97058
541-298-1161
Search Inventory
Toggle navigation
Home
Brands
Inventory
All Inventory In Stock
New Inventory In Stock
Pre-Owned Inventory
Polaris Off-Road
Polaris Snowmobiles
Timbersled
Manufacturer Models
Value Your Trade-In
Request a Model
Government Purchasing Program
OEM Promotions
Secure Financing
Parts
Parts Department
Parts Finder
Shopping Cart
Service
Service Department
Warranty & Recall Look-Up
Schedule Polaris Service
Financing
About
Our Dealership
Our Team
Reviews
Customer Survey
Employment
Location & Hours
Contact
541-298-1161
The Dalles, OR
Fiche | Parts Diagrams
Home
›
Parts
›
Parts Finder
Search by :
Part / Desc
VIN
Please Select
Honda
KTM
Polaris
*Please enter at least 3 characters
SEARCH
Manufacturer
Honda
Motorcycles
2007
VTX1800N2 2AC
VIEW WISH LIST
Select a Section
Show/Hide
AIR CLEANER
AIR INJECTION CONTROL
ALTERNATOR
BALANCER
BATTERY
BILLET BANJO BOLT COVERS
BILLET CLUTCH COVER
BILLET CLUTCH COVER(2)
BILLET COUNTERSHAFT
BILLET COUNTERSHAFT COVER
BILLET DIPSTICK
BILLET DIPSTICK (CHROME)
BILLET DRIVESHAFT BOLT
BILLET DRIVESHAFT BOLT(2)
BILLET LICENSE PLATE
BILLET MASTER CYLINDER
BILLET MASTER CYLINDER(2)
BILLET MASTER CYLINDER(3)
BILLET SPARK PLUG COVER
BILLET SWINGARM PIVOT
BILLET SWINGARM PIVOT(2)
BILLET TIMING AND
BILLET TIMING COVER
BILLET UPPER
BILLET UPPER FORK NUT
BOULEVARD SCREEN (CLEAR)
BOULEVARD SCREEN (SMOKE)
BOULEVARD SCREEN MOUNT
BOULEVARD SCREEN MOUNT(2)
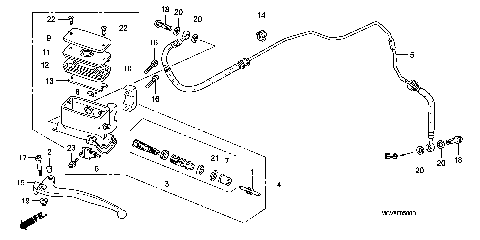
BRAKE LINES
CAM CHAIN@TENSIONER
CAMSHAFT@VALVE
CHROME ALLEN BOLT INSERTS
CHROME ALLEN BOLT INSERTS(2)
CHROME ALLEN BOLT INSERTS(3)
CHROME BACKREST@REAR
CHROME BACKREST@REARCARR
CHROME FORK TUBE COVER
CHROME LIGHT BAR
CHROME LIGHT BAR(2)
CHROME MASTER CYLINDER
CHROME PASSENGER GRAB
CHROME RADIATOR GUARD
CHROME REAR CARRIER
CHROME SPOTLIGHT VISORS
CLUTCH
CLUTCH MASTER CYLINDER
CRANKCASE
CRANKSHAFT@PISTON
CUSTOM WINDSHIELD
CYCLE COVER
CYLINDER
CYLINDER HEAD COVER
DIGITAL AUDIO SYSTEM
EVAP CANISTER (AC)
EXHAUST MUFFLER
FINAL DRIVEN GEAR
FRAME
FRONT BRAKE MASTER
FRONT CYLINDER HEAD
FRONT FENDER
FRONT FENDER (CHROME)
FRONT FORK
FRONT WHEEL
FUEL TANK
GASKET KIT A
GASKET KIT B
GEARSHIFT DRUM
HANDLE SWITCH@CABLE
HANDLEBAR@TOP BRIDGE
HEADLIGHT
LABELS
LEATHER FRONT POUCH
LEATHER FRONT POUCH(2)
LEATHER FRONT POUCH(3)
LEATHER SADDLEBAGS
LEATHER SADDLEBAGS(2)
LEATHER SADDLEBAGS(3)
LEATHER TANK BELT
LEATHER TANK BELT (PLAIN)
LEATHER TOURING BAG
LEATHER TOURING BAG(2)
LEATHER TOURING BAG(3)
LEFT CRANKCASE COVER
LEFT FRONT BRAKE CALIPER
LOW CHROME BACKREST
LOW CHROME BACKREST TRIM
LOW CHROME BACKREST(2)
LOWER WIND DEFLECTORS
MARK@STRIPE (2)
NEO-RETRO CHROME REAR
NEO-RETRO LOW CHROME
NEO-RETRO LOW CHROME(2)
NEO-RETRO TALL CHROME
NEO-RETRO TALL CHROME(2)
OIL FILTER@OIL PUMP
PEDAL
RADIATOR
REAR BRAKE CALIPER
REAR BRAKE MASTER
REAR CYLINDER HEAD
REAR FENDER@GRAB RAIL
REAR SHOCK ABSORBER
REAR WHEEL (1)
REPLACEMENT LIGHT BULB
REPLACEMENT LIGHT BULB(2)
RIGHT CRANKCASE COVER
RIGHT FRONT BRAKE CALIPER
SADDLEBAG MOUNTING
SEAT (2)
SIDE COVER
SIDE GEAR CASE
SIDE STAND
SPEEDOMETER
SPORT SCREEN
STARTING MOTOR
STEERING STEM
STEP
SWINGARM
TAILLIGHT (2)
TALL CHROME BACKREST
TALL CHROME BACKREST TRIM
TALL CHROME BACKREST(2)
THROTTLE BODY
TOOLS
TRANSMISSION
TURN SIGNAL
WATER PUMP
WIRE HARNESS
AIR CLEANER
AIR INJECTION CONTROL
ALTERNATOR
BALANCER
BATTERY
BILLET BANJO BOLT COVERS
BILLET CLUTCH COVER
BILLET CLUTCH COVER(2)
BILLET COUNTERSHAFT
BILLET COUNTERSHAFT COVER
BILLET DIPSTICK
BILLET DIPSTICK (CHROME)
BILLET DRIVESHAFT BOLT
BILLET DRIVESHAFT BOLT(2)
BILLET LICENSE PLATE
BILLET MASTER CYLINDER
BILLET MASTER CYLINDER(2)
BILLET MASTER CYLINDER(3)
BILLET SPARK PLUG COVER
BILLET SWINGARM PIVOT
BILLET SWINGARM PIVOT(2)
BILLET TIMING AND
BILLET TIMING COVER
BILLET UPPER
BILLET UPPER FORK NUT
BOULEVARD SCREEN (CLEAR)
BOULEVARD SCREEN (SMOKE)
BOULEVARD SCREEN MOUNT
BOULEVARD SCREEN MOUNT(2)
BRAKE LINES
CAM CHAIN@TENSIONER
CAMSHAFT@VALVE
CHROME ALLEN BOLT INSERTS
CHROME ALLEN BOLT INSERTS(2)
CHROME ALLEN BOLT INSERTS(3)
CHROME BACKREST@REAR
CHROME BACKREST@REARCARR
CHROME FORK TUBE COVER
CHROME LIGHT BAR
CHROME LIGHT BAR(2)
CHROME MASTER CYLINDER
CHROME PASSENGER GRAB
CHROME RADIATOR GUARD
CHROME REAR CARRIER
CHROME SPOTLIGHT VISORS
CLUTCH
CLUTCH MASTER CYLINDER
CRANKCASE
CRANKSHAFT@PISTON
CUSTOM WINDSHIELD
CYCLE COVER
CYLINDER
CYLINDER HEAD COVER
DIGITAL AUDIO SYSTEM
EVAP CANISTER (AC)
EXHAUST MUFFLER
FINAL DRIVEN GEAR
FRAME
FRONT BRAKE MASTER
FRONT CYLINDER HEAD
FRONT FENDER
FRONT FENDER (CHROME)
FRONT FORK
FRONT WHEEL
FUEL TANK
GASKET KIT A
GASKET KIT B
GEARSHIFT DRUM
HANDLE SWITCH@CABLE
HANDLEBAR@TOP BRIDGE
HEADLIGHT
LABELS
LEATHER FRONT POUCH
LEATHER FRONT POUCH(2)
LEATHER FRONT POUCH(3)
LEATHER SADDLEBAGS
LEATHER SADDLEBAGS(2)
LEATHER SADDLEBAGS(3)
LEATHER TANK BELT
LEATHER TANK BELT (PLAIN)
LEATHER TOURING BAG
LEATHER TOURING BAG(2)
LEATHER TOURING BAG(3)
LEFT CRANKCASE COVER
LEFT FRONT BRAKE CALIPER
LOW CHROME BACKREST
LOW CHROME BACKREST TRIM
LOW CHROME BACKREST(2)
LOWER WIND DEFLECTORS
MARK@STRIPE (2)
NEO-RETRO CHROME REAR
NEO-RETRO LOW CHROME
NEO-RETRO LOW CHROME(2)
NEO-RETRO TALL CHROME
NEO-RETRO TALL CHROME(2)
OIL FILTER@OIL PUMP
PEDAL
RADIATOR
REAR BRAKE CALIPER
REAR BRAKE MASTER
REAR CYLINDER HEAD
REAR FENDER@GRAB RAIL
REAR SHOCK ABSORBER
REAR WHEEL (1)
REPLACEMENT LIGHT BULB
REPLACEMENT LIGHT BULB(2)
RIGHT CRANKCASE COVER
RIGHT FRONT BRAKE CALIPER
SADDLEBAG MOUNTING
SEAT (2)
SIDE COVER
SIDE GEAR CASE
SIDE STAND
SPEEDOMETER
SPORT SCREEN
STARTING MOTOR
STEERING STEM
STEP
SWINGARM
TAILLIGHT (2)
TALL CHROME BACKREST
TALL CHROME BACKREST TRIM
TALL CHROME BACKREST(2)
THROTTLE BODY
TOOLS
TRANSMISSION
TURN SIGNAL
WATER PUMP
WIRE HARNESS
VIEW WISH LIST