Polaris
Browse New Models
Shop In-Stock
Honda
Browse New Models
Shop In-Stock
KTM
Browse New Models
Shop In-Stock
Beta
Browse New Models
Shop In-Stock
Timbersled
Browse New Models
1318 W 2nd St
,
The Dalles, OR
97058
541-298-1161
Search Inventory
Toggle navigation
Home
Brands
Inventory
All Inventory In Stock
New Inventory In Stock
Pre-Owned Inventory
Polaris Off-Road
Polaris Snowmobiles
Timbersled
Manufacturer Models
Value Your Trade-In
Request a Model
Government Purchasing Program
OEM Promotions
Secure Financing
Parts
Parts Department
Parts Finder
Shopping Cart
Service
Service Department
Warranty & Recall Look-Up
Schedule Polaris Service
Financing
About
Our Dealership
Our Team
Reviews
Customer Survey
Employment
Location & Hours
Contact
541-298-1161
The Dalles, OR
Fiche | Parts Diagrams
Home
›
Parts
›
Parts Finder
Search by :
Part / Desc
VIN
Please Select
Honda
KTM
Polaris
*Please enter at least 3 characters
SEARCH
Manufacturer
Honda
Motorcycles
2008
CB250 AC
VIEW WISH LIST
Select a Section
Show/Hide
AIR CLEANER
BACKREST
BATTERY
CAM CHAIN@TENSIONER
CAMSHAFT@VALVE
CANISTER
CARBURETOR
CAUTION LABEL
CLUTCH
CRANKCASE
CRANKSHAFT@PISTON
CYLINDER
CYLINDER HEAD
CYLINDER HEAD COVER
EXHAUST MUFFLER
FRAME
FRONT BRAKE PANEL
FRONT FENDER
FRONT FORK
FRONT WHEEL
FUEL TANK
GASKET KIT A
GASKET KIT B
GEARSHIFT DRUM
GENERATOR
HANDLE LEVER@SWITCH@CABLE
HANDLEBAR
HEADLIGHT
LEFT CRANKCASE COVER
MARK@STRIPE
METER
OIL PUMP
PEDAL
REAR BRAKE PANEL
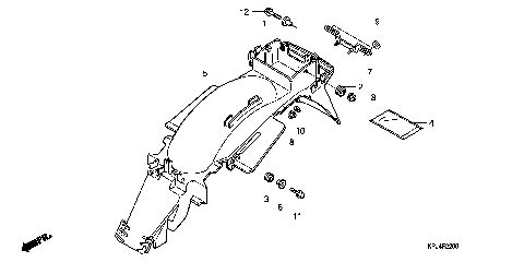
REAR FENDER
REAR SHOCK ABSORBER
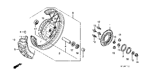
REAR WHEEL
RIGHT CRANKCASE COVER
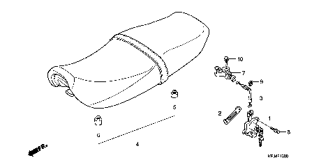
SEAT
SIDE COVER
STAND
STARTING CLUTCH
STARTING MOTOR
STEERING STEM
STEP
SWINGARM
TAILLIGHT
TANK PAD
TOOLS
TRANSMISSION
TURN SIGNAL
WIRE HARNESS
AIR CLEANER
BACKREST
BATTERY
CAM CHAIN@TENSIONER
CAMSHAFT@VALVE
CANISTER
CARBURETOR
CAUTION LABEL
CLUTCH
CRANKCASE
CRANKSHAFT@PISTON
CYLINDER
CYLINDER HEAD
CYLINDER HEAD COVER
EXHAUST MUFFLER
FRAME
FRONT BRAKE PANEL
FRONT FENDER
FRONT FORK
FRONT WHEEL
FUEL TANK
GASKET KIT A
GASKET KIT B
GEARSHIFT DRUM
GENERATOR
HANDLE LEVER@SWITCH@CABLE
HANDLEBAR
HEADLIGHT
LEFT CRANKCASE COVER
MARK@STRIPE
METER
OIL PUMP
PEDAL
REAR BRAKE PANEL
REAR FENDER
REAR SHOCK ABSORBER
REAR WHEEL
RIGHT CRANKCASE COVER
SEAT
SIDE COVER
STAND
STARTING CLUTCH
STARTING MOTOR
STEERING STEM
STEP
SWINGARM
TAILLIGHT
TANK PAD
TOOLS
TRANSMISSION
TURN SIGNAL
WIRE HARNESS
VIEW WISH LIST