Polaris
Browse New Models
Shop In-Stock
Honda
Browse New Models
Shop In-Stock
KTM
Browse New Models
Shop In-Stock
Beta
Browse New Models
Shop In-Stock
Timbersled
Browse New Models
1318 W 2nd St
,
The Dalles, OR
97058
541-298-1161
Search Inventory
Toggle navigation
Home
Brands
Inventory
All Inventory In Stock
New Inventory In Stock
Pre-Owned Inventory
Polaris Off-Road
Polaris Snowmobiles
Timbersled
Manufacturer Models
Value Your Trade-In
Request a Model
Government Purchasing Program
OEM Promotions
Secure Financing
Parts
Parts Department
Parts Finder
Shopping Cart
Service
Service Department
Warranty & Recall Look-Up
Schedule Polaris Service
Financing
About
Our Dealership
Our Team
Reviews
Customer Survey
Employment
Location & Hours
Contact
541-298-1161
The Dalles, OR
Fiche | Parts Diagrams
Home
›
Parts
›
Parts Finder
Search by :
Part / Desc
VIN
Please Select
Honda
KTM
Polaris
*Please enter at least 3 characters
SEARCH
Manufacturer
Honda
Motorcycles
2008
CRF250R A/A
VIEW WISH LIST
Select a Section
Show/Hide
AIR CLEANER ('06-'09)
ALTERNATOR
BALANCER
CAM CHAIN@TENSIONER
CAMSHAFT@VALVE
CARBURETOR
CARBURETOR OPTIONAL KIT
CLUTCH
CRANKCASE
CRANKSHAFT@PISTON
CYLINDER
CYLINDER HEAD
CYLINDER HEAD COVER
EXHAUST MUFFLER ('07-'09)
FRAME
FRONT BRAKE CALIPER
FRONT BRAKE MASTER
FRONT FENDER
FRONT FORK
FRONT WHEEL
FUEL TANK
GASKET KIT A
GASKET KIT B
GEARSHIFT DRUM
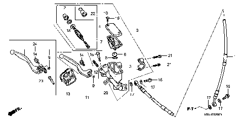
HANDLE LEVER@SWITCH@CABLE
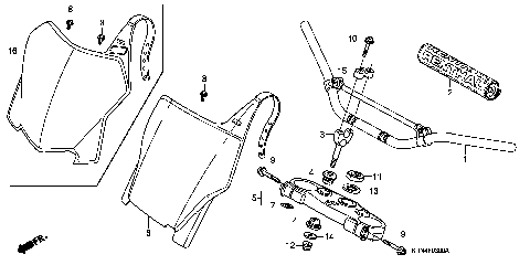
HANDLEBAR@TOP BRIDGE
KICK STARTER SPINDLE
LABELS
LEFT CRANKCASE COVER
MARK ('08)
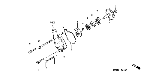
OIL PUMP
PEDAL@KICK STARTER ARM
RADIATOR
REAR BRAKE CALIPER
REAR BRAKE MASTER
REAR FENDER
REAR SHOCK ABSORBER
REAR WHEEL
RIGHT CRANKCASE COVER
SEAT@SIDE COVER
STAND@STEP
STEERING STEM/DAMPER
SWINGARM
TOOLS
TRANSMISSION
WATER PUMP
WIRE HARNESS
AIR CLEANER ('06-'09)
ALTERNATOR
BALANCER
CAM CHAIN@TENSIONER
CAMSHAFT@VALVE
CARBURETOR
CARBURETOR OPTIONAL KIT
CLUTCH
CRANKCASE
CRANKSHAFT@PISTON
CYLINDER
CYLINDER HEAD
CYLINDER HEAD COVER
EXHAUST MUFFLER ('07-'09)
FRAME
FRONT BRAKE CALIPER
FRONT BRAKE MASTER
FRONT FENDER
FRONT FORK
FRONT WHEEL
FUEL TANK
GASKET KIT A
GASKET KIT B
GEARSHIFT DRUM
HANDLE LEVER@SWITCH@CABLE
HANDLEBAR@TOP BRIDGE
KICK STARTER SPINDLE
LABELS
LEFT CRANKCASE COVER
MARK ('08)
OIL PUMP
PEDAL@KICK STARTER ARM
RADIATOR
REAR BRAKE CALIPER
REAR BRAKE MASTER
REAR FENDER
REAR SHOCK ABSORBER
REAR WHEEL
RIGHT CRANKCASE COVER
SEAT@SIDE COVER
STAND@STEP
STEERING STEM/DAMPER
SWINGARM
TOOLS
TRANSMISSION
WATER PUMP
WIRE HARNESS
VIEW WISH LIST