Polaris
Browse New Models
Shop In-Stock
Honda
Browse New Models
Shop In-Stock
KTM
Browse New Models
Shop In-Stock
Beta
Browse New Models
Shop In-Stock
Timbersled
Browse New Models
1318 W 2nd St
,
The Dalles, OR
97058
541-298-1161
Search Inventory
Toggle navigation
Home
Brands
Inventory
All Inventory In Stock
New Inventory In Stock
Pre-Owned Inventory
Polaris Off-Road
Polaris Snowmobiles
Timbersled
Manufacturer Models
Value Your Trade-In
Request a Model
Government Purchasing Program
OEM Promotions
Secure Financing
Parts
Parts Department
Parts Finder
Shopping Cart
Service
Service Department
Warranty & Recall Look-Up
Schedule Polaris Service
Financing
About
Our Dealership
Our Team
Reviews
Customer Survey
Employment
Location & Hours
Contact
541-298-1161
The Dalles, OR
Fiche | Parts Diagrams
Home
›
Parts
›
Parts Finder
Search by :
Part / Desc
VIN
Please Select
Honda
KTM
Polaris
*Please enter at least 3 characters
SEARCH
Manufacturer
Honda
Motorcycles
2008
GL1800 3A
VIEW WISH LIST
Select a Section
Show/Hide
ACCESSORY SOCKET KIT (12V
AIR CLEANER
AIR DUCT (GL1800'06-)
AIR INJECTION VALVE
AIRBAG HARNESS
AIRBAG MODULE
ALTERNATOR
ARMREST (PASSENGER)
AUDIO CONTROL (PASSENGER)
AUDIO UNIT (GL1800'06-)
AUDIO UNIT (GL1800'06-)(2)
AUTO CRUISE (GL1800'06-)
AUTO CRUISE (GL1800'06-)(2)
BAR ENDS (CHROME)
BATTERY
CAM CHAIN@TENSIONER
CAMSHAFT@VALVE
CARBON TYPE FRONT FENDER
CB ANTENNA KIT
CB RADIO KIT (40 CHANNEL)
CD CHANGER ATTACHMENT KIT
CD CHANGER UNIT (6-DISC)
CHROME EXHAUST TIPS (TURN
CHROME EXHAUST TIPS (W/GL
CHROME FRONT FENDER
CHROME FRONT LOWER COWL
CHROME GL ICON FENDER
CLUTCH
CLUTCH COVER
CLUTCH MASTER CYLINDER
COIN HOLDER
CONTROL UNIT (GL1800'06-)
CONTROL UNIT (GL1800'06-)(2)
COOLING FAN (GL1800'06-)
COWL
COWL STAY (GL1800'06-)
CRANKSHAFT@PISTON
CYCLE COVER
CYLINDER BLOCK
CYLINDER HEAD
CYLINDER HEAD COVER
DELAY VALVE
DELUXE HEADSET (FULL
DELUXE HEADSET (OPEN
DELUXE SADDLEBAG TRUNK
DELUXE SADDLEBAG TRUNK(2)
DELUXE SADDLEBAG@TRUNK
ENGINE GUARD
EVAP CANISTER
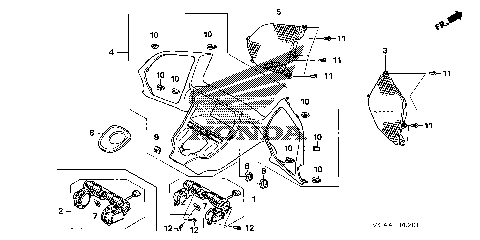
FAIRING POUCH
FAIRING SIDE AIR
FINAL DRIVEN GEAR
FINAL SHAFT
FLOORBOARD COVER
FLOORBOARD LOWER COVER
FOGLIGHT KIT
FOGLIGHT LENS PROTECTOR
FRAME
FRONT BRAKE MASTER
FRONT COVER@TRANSMISSION
FRONT DISC COVERS
FRONT FENDER
FRONT FENDER EMBLEM
FRONT FENDER EXTENSION
FRONT FENDER RAIL
FRONT FORK
FRONT NOSE MASK
FRONT WHEEL
FUEL TANK
GASKET KIT A
GASKET KIT B
GOLD CYLINDER HEAD COVER
GOLD WING OWNERS MANUAL
HANDLE SWITCH (1)
HANDLE SWITCH (2)
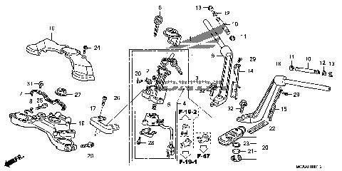
HANDLEBAR@TOP BRIDGE
HEADLIGHT
IGNITION COIL
INJECTOR
INNER TRUNK POUCH
LABELS
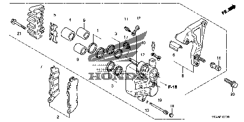
LEFT FRONT BRAKE CALIPER
METER (GL1800'06-'10)
METER PANEL (GL1800 '06-)
MUFFLER (1)
MUFFLER (2)
NAVIGATION UNIT
NYLON SADDLE@TRUNK LINER
OIL PUMP
OPENER UNIT
PEDAL
PRIMARY DRIVE GEAR
PROPORTION CONTROL VALVE
RADIATOR
REAR BRAKE CALIPER
REAR BRAKE MASTER
REAR CASE
REAR COMBINATION LIGHT
REAR FENDER (GL1800'06-)
REAR SHOCK ABSORBER
REAR SPOILER (W/BRAKE
REAR SPOILER ACCENT
REAR WHEEL
REVERSE GEAR
REVERSE SHIFT ACTUATOR
RIGHT FRONT BRAKE CALIPER
RIGHT FRONT BRAKE CALIPER(2)
SADDLEBAG
SADDLEBAG COOLER (W/HONDA
SADDLEBAG LID ORGANIZER
SADDLEBAG MOLDING KIT
SADDLEBAG MOLDING KIT(2)
SADDLEBAG SCUFF COVERS
SEAT
SEAT WEATHER COVER
SHELTER (GL1800'06-)
SHELTER (GL1800'06-)(2)
SHIFT DRUM@SHIFT FORK
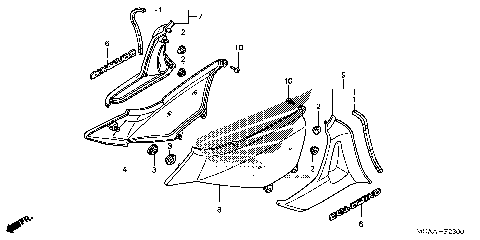
SIDE COVER
SIDE FAIRING ACCENTS
SIDE STAND (CHROME)
SPEEDOMETER (GL1800'06-)
STAND
STARTER MOTOR
STEERING STEM
STEP
SWINGARM
SWINGARM PIVOT COVERS
THROTTLE BODY
THROTTLE BODY (TUBING)
TOOLS
TRANSMISSION
TRUNK BOX
TRUNK HANDLE (CHROME W/GL
TRUNK INNER LIGHT
TRUNK INNER LIGHT HARNESS
TRUNK LID ORGANIZER
TRUNK MOLDING KIT
TRUNK MOLDING KIT (CARBON
TRUNK NET
TRUNK RACK (CHROME)
TRUNK VANITY MIRROR
TURN SIGNAL@MIRROR
VENTED WINDSHIELD (TALL)
WATER PIPE
WATER PUMP
WINDSCREEN (GL1800'06-)
WINDSHIELD AIR DEFLECTOR
WINDSHIELD AIR DEFLECTOR(2)
WINDSHIELD COVER
WINDSHIELD GARNISH
WIRE HARNESS
ACCESSORY SOCKET KIT (12V
AIR CLEANER
AIR DUCT (GL1800'06-)
AIR INJECTION VALVE
AIRBAG HARNESS
AIRBAG MODULE
ALTERNATOR
ARMREST (PASSENGER)
AUDIO CONTROL (PASSENGER)
AUDIO UNIT (GL1800'06-)
AUDIO UNIT (GL1800'06-)(2)
AUTO CRUISE (GL1800'06-)
AUTO CRUISE (GL1800'06-)(2)
BAR ENDS (CHROME)
BATTERY
CAM CHAIN@TENSIONER
CAMSHAFT@VALVE
CARBON TYPE FRONT FENDER
CB ANTENNA KIT
CB RADIO KIT (40 CHANNEL)
CD CHANGER ATTACHMENT KIT
CD CHANGER UNIT (6-DISC)
CHROME EXHAUST TIPS (TURN
CHROME EXHAUST TIPS (W/GL
CHROME FRONT FENDER
CHROME FRONT LOWER COWL
CHROME GL ICON FENDER
CLUTCH
CLUTCH COVER
CLUTCH MASTER CYLINDER
COIN HOLDER
CONTROL UNIT (GL1800'06-)
CONTROL UNIT (GL1800'06-)(2)
COOLING FAN (GL1800'06-)
COWL
COWL STAY (GL1800'06-)
CRANKSHAFT@PISTON
CYCLE COVER
CYLINDER BLOCK
CYLINDER HEAD
CYLINDER HEAD COVER
DELAY VALVE
DELUXE HEADSET (FULL
DELUXE HEADSET (OPEN
DELUXE SADDLEBAG TRUNK
DELUXE SADDLEBAG TRUNK(2)
DELUXE SADDLEBAG@TRUNK
ENGINE GUARD
EVAP CANISTER
FAIRING POUCH
FAIRING SIDE AIR
FINAL DRIVEN GEAR
FINAL SHAFT
FLOORBOARD COVER
FLOORBOARD LOWER COVER
FOGLIGHT KIT
FOGLIGHT LENS PROTECTOR
FRAME
FRONT BRAKE MASTER
FRONT COVER@TRANSMISSION
FRONT DISC COVERS
FRONT FENDER
FRONT FENDER EMBLEM
FRONT FENDER EXTENSION
FRONT FENDER RAIL
FRONT FORK
FRONT NOSE MASK
FRONT WHEEL
FUEL TANK
GASKET KIT A
GASKET KIT B
GOLD CYLINDER HEAD COVER
GOLD WING OWNERS MANUAL
HANDLE SWITCH (1)
HANDLE SWITCH (2)
HANDLEBAR@TOP BRIDGE
HEADLIGHT
IGNITION COIL
INJECTOR
INNER TRUNK POUCH
LABELS
LEFT FRONT BRAKE CALIPER
METER (GL1800'06-'10)
METER PANEL (GL1800 '06-)
MUFFLER (1)
MUFFLER (2)
NAVIGATION UNIT
NYLON SADDLE@TRUNK LINER
OIL PUMP
OPENER UNIT
PEDAL
PRIMARY DRIVE GEAR
PROPORTION CONTROL VALVE
RADIATOR
REAR BRAKE CALIPER
REAR BRAKE MASTER
REAR CASE
REAR COMBINATION LIGHT
REAR FENDER (GL1800'06-)
REAR SHOCK ABSORBER
REAR SPOILER (W/BRAKE
REAR SPOILER ACCENT
REAR WHEEL
REVERSE GEAR
REVERSE SHIFT ACTUATOR
RIGHT FRONT BRAKE CALIPER
RIGHT FRONT BRAKE CALIPER(2)
SADDLEBAG
SADDLEBAG COOLER (W/HONDA
SADDLEBAG LID ORGANIZER
SADDLEBAG MOLDING KIT
SADDLEBAG MOLDING KIT(2)
SADDLEBAG SCUFF COVERS
SEAT
SEAT WEATHER COVER
SHELTER (GL1800'06-)
SHELTER (GL1800'06-)(2)
SHIFT DRUM@SHIFT FORK
SIDE COVER
SIDE FAIRING ACCENTS
SIDE STAND (CHROME)
SPEEDOMETER (GL1800'06-)
STAND
STARTER MOTOR
STEERING STEM
STEP
SWINGARM
SWINGARM PIVOT COVERS
THROTTLE BODY
THROTTLE BODY (TUBING)
TOOLS
TRANSMISSION
TRUNK BOX
TRUNK HANDLE (CHROME W/GL
TRUNK INNER LIGHT
TRUNK INNER LIGHT HARNESS
TRUNK LID ORGANIZER
TRUNK MOLDING KIT
TRUNK MOLDING KIT (CARBON
TRUNK NET
TRUNK RACK (CHROME)
TRUNK VANITY MIRROR
TURN SIGNAL@MIRROR
VENTED WINDSHIELD (TALL)
WATER PIPE
WATER PUMP
WINDSCREEN (GL1800'06-)
WINDSHIELD AIR DEFLECTOR
WINDSHIELD AIR DEFLECTOR(2)
WINDSHIELD COVER
WINDSHIELD GARNISH
WIRE HARNESS
VIEW WISH LIST