Polaris
Browse New Models
Shop In-Stock
Honda
Browse New Models
Shop In-Stock
KTM
Browse New Models
Shop In-Stock
Beta
Browse New Models
Shop In-Stock
Timbersled
Browse New Models
1318 W 2nd St
,
The Dalles, OR
97058
541-298-1161
Search Inventory
Toggle navigation
Home
Brands
Inventory
All Inventory In Stock
New Inventory In Stock
Pre-Owned Inventory
Polaris Off-Road
Polaris Snowmobiles
Timbersled
Manufacturer Models
Value Your Trade-In
Request a Model
Government Purchasing Program
OEM Promotions
Secure Financing
Parts
Parts Department
Parts Finder
Shopping Cart
Service
Service Department
Warranty & Recall Look-Up
Schedule Polaris Service
Financing
About
Our Dealership
Our Team
Reviews
Customer Survey
Employment
Location & Hours
Contact
541-298-1161
The Dalles, OR
Fiche | Parts Diagrams
Home
›
Parts
›
Parts Finder
Search by :
Part / Desc
VIN
Please Select
Honda
KTM
Polaris
*Please enter at least 3 characters
SEARCH
Manufacturer
Honda
Motorcycles
2008
VT750CA AC/A
VIEW WISH LIST
Select a Section
Show/Hide
AIR CLEANER
AIR INJECTION CONTROL
ALLEN BOLT INSERTS
ALTERNATOR
BACKREST TRIM
BACKREST WITH PAD
BATTERY
CAM CHAIN
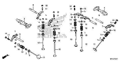
CAMSHAFT
CARBURETOR (A/CM/2A/2CM)
CARBURETOR (AC/2AC)
CLUTCH
CRANKCASE
CRANKSHAFT
CROSS SHAFT
CYLINDER
CYLINDER HEAD COVER
DIGITAL AUDIO SYSTEM
EVAP CANISTER
FINAL DRIVEN GEAR
FRAME
FRONT BRAKE CALIPER
FRONT BRAKE MASTER
FRONT CYLINDER HEAD
FRONT FENDER
FRONT FENDER GUARD RAIL
FRONT FENDER TRIM
FRONT FORK
FRONT POUCH (FRINGED)
FRONT POUCH (LEATHER)
FRONT POUCH (STUDDED)
FRONT WHEEL
FUEL TANK
GASKET KIT A
GASKET KIT B
GEARSHIFT DRUM
GRAB RAILS (PASSENGER)
HANDLE SWITCH@CABLE
HANDLEBAR@TOP BRIDGE
HEADLIGHT
HEATED GRIPS
INTAKE MANIFOLD
LABEL
LEFT CRANKCASE COVER
LIGHT BAR
MARK@STRIPE (A,AC,CM)
MASTER CYLINDER CAP
METER
MOTORCYCLE COVER
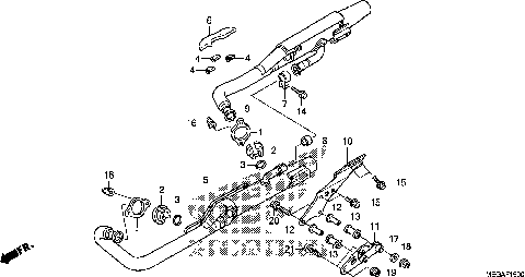
MUFFLER
OIL PUMP
PEDAL
RADIATOR
RADIATOR GUARD
REAR BRAKE PANEL
REAR CARRIER
REAR CARRIER MOUNT
REAR CYLINDER HEAD
REAR FENDER GUARD RAIL
REAR FENDER TRIM
REAR FENDER@GRAB RAIL
REAR SHOCK ABSORBER
REAR WHEEL
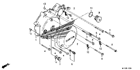
RIGHT CRANKCASE COVER
SADDLEBAG MOUNTING
SADDLEBAG SUPPORTS
SADDLEBAGS
SEAT
SEAT TRIM RAIL
SIDE COVER
SIDE STAND
SPOTLIGHT VISOR (CHROME)
STARTER MOTOR
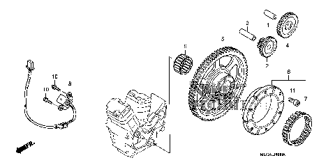
STARTING CLUTCH
STEERING STEM
STEP
SWINGARM
SWINGARM PIVOT COVER SET
TAILLIGHT
TANK BELT (LEATHER)
TOOLS
TOURING BAG
TRANSMISSION
TURN SIGNAL
WATER PIPE
WATER PUMP
WINDSHIELDS
WIRE HARNESS
AIR CLEANER
AIR INJECTION CONTROL
ALLEN BOLT INSERTS
ALTERNATOR
BACKREST TRIM
BACKREST WITH PAD
BATTERY
CAM CHAIN
CAMSHAFT
CARBURETOR (A/CM/2A/2CM)
CARBURETOR (AC/2AC)
CLUTCH
CRANKCASE
CRANKSHAFT
CROSS SHAFT
CYLINDER
CYLINDER HEAD COVER
DIGITAL AUDIO SYSTEM
EVAP CANISTER
FINAL DRIVEN GEAR
FRAME
FRONT BRAKE CALIPER
FRONT BRAKE MASTER
FRONT CYLINDER HEAD
FRONT FENDER
FRONT FENDER GUARD RAIL
FRONT FENDER TRIM
FRONT FORK
FRONT POUCH (FRINGED)
FRONT POUCH (LEATHER)
FRONT POUCH (STUDDED)
FRONT WHEEL
FUEL TANK
GASKET KIT A
GASKET KIT B
GEARSHIFT DRUM
GRAB RAILS (PASSENGER)
HANDLE SWITCH@CABLE
HANDLEBAR@TOP BRIDGE
HEADLIGHT
HEATED GRIPS
INTAKE MANIFOLD
LABEL
LEFT CRANKCASE COVER
LIGHT BAR
MARK@STRIPE (A,AC,CM)
MASTER CYLINDER CAP
METER
MOTORCYCLE COVER
MUFFLER
OIL PUMP
PEDAL
RADIATOR
RADIATOR GUARD
REAR BRAKE PANEL
REAR CARRIER
REAR CARRIER MOUNT
REAR CYLINDER HEAD
REAR FENDER GUARD RAIL
REAR FENDER TRIM
REAR FENDER@GRAB RAIL
REAR SHOCK ABSORBER
REAR WHEEL
RIGHT CRANKCASE COVER
SADDLEBAG MOUNTING
SADDLEBAG SUPPORTS
SADDLEBAGS
SEAT
SEAT TRIM RAIL
SIDE COVER
SIDE STAND
SPOTLIGHT VISOR (CHROME)
STARTER MOTOR
STARTING CLUTCH
STEERING STEM
STEP
SWINGARM
SWINGARM PIVOT COVER SET
TAILLIGHT
TANK BELT (LEATHER)
TOOLS
TOURING BAG
TRANSMISSION
TURN SIGNAL
WATER PIPE
WATER PUMP
WINDSHIELDS
WIRE HARNESS
VIEW WISH LIST