Polaris
Browse New Models
Shop In-Stock
Honda
Browse New Models
Shop In-Stock
KTM
Browse New Models
Shop In-Stock
Beta
Browse New Models
Shop In-Stock
Timbersled
Browse New Models
1318 W 2nd St
,
The Dalles, OR
97058
541-298-1161
Search Inventory
Toggle navigation
Home
Brands
Inventory
All Inventory In Stock
New Inventory In Stock
Pre-Owned Inventory
Polaris Off-Road
Polaris Snowmobiles
Timbersled
Manufacturer Models
Value Your Trade-In
Request a Model
Government Purchasing Program
OEM Promotions
Secure Financing
Parts
Parts Department
Parts Finder
Shopping Cart
Service
Service Department
Warranty & Recall Look-Up
Schedule Polaris Service
Financing
About
Our Dealership
Our Team
Reviews
Customer Survey
Employment
Location & Hours
Contact
541-298-1161
The Dalles, OR
Fiche | Parts Diagrams
Home
›
Parts
›
Parts Finder
Search by :
Part / Desc
VIN
Please Select
Honda
KTM
Polaris
*Please enter at least 3 characters
SEARCH
Manufacturer
Honda
Motorcycles
2008
VTX1300C A
VIEW WISH LIST
Select a Section
Show/Hide
ADJUSTABLE CHROME
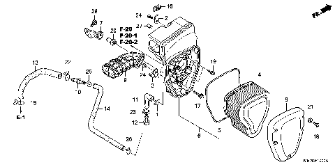
AIR CLEANER
AIR INJECTION CONTROL
ALTERNATOR
BACKREST@CHROME CARRIER
BALANCER
BATTERY
BOULEVARD SHIELD (CLEAR)
BOULEVARD SHIELD MOUNT
BRAKE LINE
CAM CHAIN@TENSIONER
CAMSHAFT@VALVE
CARBURETOR
CAUTION LABELS@MARKS
CHROME BACKREST WITH PAD
CHROME BACKREST WITH PAD(2)
CHROME BACKREST@REAR
CHROME BILLET
CHROME BILLET CLUTCH
CHROME BILLET DIPSTICK
CHROME BILLET DRIVESHAFT
CHROME BILLET LICENSE
CHROME BILLET MASTER
CHROME BILLET SWINGARM
CHROME BILLET TIMING
CHROME BRACKET TRIM WITH
CHROME HORN
CHROME LIGHT BAR
CHROME PASSENGER GRAB
CHROME REAR CARRIER
CHROME SPOTLIGHT VISORS
CLUTCH
CRANKCASE
CRANKSHAFT@PISTON
CROSS SHAFT
CUSTOM WINDSHIELD
CYCLE COVER
CYLINDER
DELUXE CHROME BACKREST
DELUXE CHROME REAR
DIGITAL AUDIO SYSTEM
DRIVESHAFT COVER
EMBLEM@MARK
EVAP CANISTER ('08-,AC)
EXHAUST MUFFLER ('08-)
FINAL DRIVEN GEAR
FRAME
FRONT BRAKE CALIPER
FRONT BRAKE MASTER
FRONT CYLINDER HEAD
FRONT CYLINDER HEAD COVER
FRONT FENDER
FRONT FORK
FRONT WHEEL
FRONT@REAR TURN SIGNAL
FUEL TANK
GASKET KIT A
GASKET KIT B
GEARSHIFT DRUM
HANDLE SWITCH
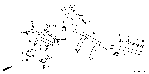
HANDLEBAR@TOP BRIDGE
HEADLIGHT
LEATHER FRONT POUCH
LEATHER FRONT POUCH(2)
LEATHER SADDLEBAGS (18L)
LEATHER SADDLEBAGS (18L)(2)
LEATHER SADDLEBAGS (18L)(3)
LEATHER TANK BELT
LEATHER TANK BELT (PLAIN)
LEATHER TOURING BAG
LEATHER TOURING BAG(2)
LEATHER TOURING BAG(3)
LEFT CRANKCASE COVER
LIGHT BAR REPLACEMENT
OIL FILTER@OIL PUMP
PEDAL
RADIATOR
REAR BRAKE CALIPER
REAR BRAKE MASTER
REAR CYLINDER HEAD
REAR CYLINDER HEAD COVER
REAR FENDER@GRAB RAIL
REAR SHOCK ABSORBER
REAR WHEEL
RIGHT CRANKCASE COVER
SADDLEBAG MOUNTING
SEAT
SIDE COVER
SIDE STAND
SPEEDOMETER
SPORT SHIELD
STARTING MOTOR
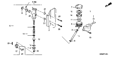
STEERING STEM
STEP
SWINGARM
TAILLIGHT
TOOLS
TRANSMISSION
WATER PUMP
WIND DEFLECTOR (LOWER)
WIRE HARNESS
ADJUSTABLE CHROME
AIR CLEANER
AIR INJECTION CONTROL
ALTERNATOR
BACKREST@CHROME CARRIER
BALANCER
BATTERY
BOULEVARD SHIELD (CLEAR)
BOULEVARD SHIELD MOUNT
BRAKE LINE
CAM CHAIN@TENSIONER
CAMSHAFT@VALVE
CARBURETOR
CAUTION LABELS@MARKS
CHROME BACKREST WITH PAD
CHROME BACKREST WITH PAD(2)
CHROME BACKREST@REAR
CHROME BILLET
CHROME BILLET CLUTCH
CHROME BILLET DIPSTICK
CHROME BILLET DRIVESHAFT
CHROME BILLET LICENSE
CHROME BILLET MASTER
CHROME BILLET SWINGARM
CHROME BILLET TIMING
CHROME BRACKET TRIM WITH
CHROME HORN
CHROME LIGHT BAR
CHROME PASSENGER GRAB
CHROME REAR CARRIER
CHROME SPOTLIGHT VISORS
CLUTCH
CRANKCASE
CRANKSHAFT@PISTON
CROSS SHAFT
CUSTOM WINDSHIELD
CYCLE COVER
CYLINDER
DELUXE CHROME BACKREST
DELUXE CHROME REAR
DIGITAL AUDIO SYSTEM
DRIVESHAFT COVER
EMBLEM@MARK
EVAP CANISTER ('08-,AC)
EXHAUST MUFFLER ('08-)
FINAL DRIVEN GEAR
FRAME
FRONT BRAKE CALIPER
FRONT BRAKE MASTER
FRONT CYLINDER HEAD
FRONT CYLINDER HEAD COVER
FRONT FENDER
FRONT FORK
FRONT WHEEL
FRONT@REAR TURN SIGNAL
FUEL TANK
GASKET KIT A
GASKET KIT B
GEARSHIFT DRUM
HANDLE SWITCH
HANDLEBAR@TOP BRIDGE
HEADLIGHT
LEATHER FRONT POUCH
LEATHER FRONT POUCH(2)
LEATHER SADDLEBAGS (18L)
LEATHER SADDLEBAGS (18L)(2)
LEATHER SADDLEBAGS (18L)(3)
LEATHER TANK BELT
LEATHER TANK BELT (PLAIN)
LEATHER TOURING BAG
LEATHER TOURING BAG(2)
LEATHER TOURING BAG(3)
LEFT CRANKCASE COVER
LIGHT BAR REPLACEMENT
OIL FILTER@OIL PUMP
PEDAL
RADIATOR
REAR BRAKE CALIPER
REAR BRAKE MASTER
REAR CYLINDER HEAD
REAR CYLINDER HEAD COVER
REAR FENDER@GRAB RAIL
REAR SHOCK ABSORBER
REAR WHEEL
RIGHT CRANKCASE COVER
SADDLEBAG MOUNTING
SEAT
SIDE COVER
SIDE STAND
SPEEDOMETER
SPORT SHIELD
STARTING MOTOR
STEERING STEM
STEP
SWINGARM
TAILLIGHT
TOOLS
TRANSMISSION
WATER PUMP
WIND DEFLECTOR (LOWER)
WIRE HARNESS
VIEW WISH LIST