Polaris
Browse New Models
Shop In-Stock
Honda
Browse New Models
Shop In-Stock
KTM
Browse New Models
Shop In-Stock
Beta
Browse New Models
Shop In-Stock
Timbersled
Browse New Models
1318 W 2nd St
,
The Dalles, OR
97058
541-298-1161
Search Inventory
Toggle navigation
Home
Brands
Inventory
All Inventory In Stock
New Inventory In Stock
Pre-Owned Inventory
Polaris Off-Road
Polaris Snowmobiles
Timbersled
Manufacturer Models
Value Your Trade-In
Request a Model
Government Purchasing Program
OEM Promotions
Secure Financing
Parts
Parts Department
Parts Finder
Shopping Cart
Service
Service Department
Warranty & Recall Look-Up
Schedule Polaris Service
Financing
About
Our Dealership
Our Team
Reviews
Customer Survey
Employment
Location & Hours
Contact
541-298-1161
The Dalles, OR
Fiche | Parts Diagrams
Home
›
Parts
›
Parts Finder
Search by :
Part / Desc
VIN
Please Select
Honda
KTM
Polaris
*Please enter at least 3 characters
SEARCH
Manufacturer
Honda
Motorcycles
2012
VT750C AC
VIEW WISH LIST
Select a Section
Show/Hide
ACCESSORIES
AIR CLEANER
AIR INJECTION VALVE (1)
ALTERNATOR
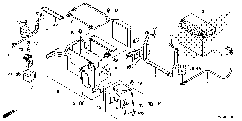
BATTERY (1)
CAM CHAIN
CAMSHAFT VALVE (FR.)
CAMSHAFT VALVE (RR.)
CAUTION LABEL (1)
CLUTCH
CRANKCASE (1)
CRANKSHAFT
CYLINDER
CYLINDER HEAD COVER
EVAP CANISTER (1)
FINAL DRIVEN GEAR
FRAME (1)
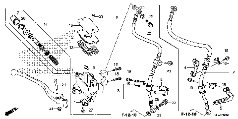
FRONT BRAKE CALIPER (1)
FRONT BRAKE MASTER
FRONT CYLINDER HEAD
FRONT FENDER (1)
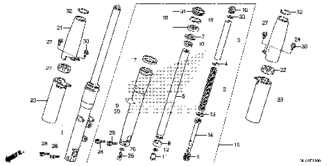
FRONT FORK (1)
FRONT WHEEL (1)
FUEL PUMP (1)
FUEL TANK (1)
GASKET KIT A
GASKET KIT B
GEAR SHIFT DRUM
HANDLE LEVER@SWITCH@CABLE
HANDLEBAR (1)
HEADLIGHT (1)
INLET MANIFOLD
LEFT CRANKCASE COVER (1)
MARK (1)
MUFFLER (1)
OIL PUMP
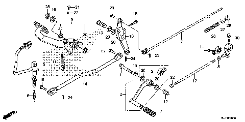
PEDAL (1)
RADIATOR (1)
REAR BRAKE PANEL (1)
REAR CYLINDER HEAD
REAR FENDER (1)
REAR SHOCK ABSORBER (1)
REAR WHEEL (1)
RIGHT CRANKCASE COVER (1)
SEAT (1)
SIDE COVER (1)
SIDE GEAR CASE
SIDE STAND (1)
SPEEDOMETER (1)
STARTER MOTOR
STARTING CLUTCH
STEERING STEM (1)
STEP (1)
SWINGARM (1)
TAILLIGHT (1)
THROTTLE BODY
TOOLS
TRANSMISSION (1)
TURN SIGNAL (1)
WATER PIPE
WATER PUMP
WIRE HARNESS (1)
ACCESSORIES
AIR CLEANER
AIR INJECTION VALVE (1)
ALTERNATOR
BATTERY (1)
CAM CHAIN
CAMSHAFT VALVE (FR.)
CAMSHAFT VALVE (RR.)
CAUTION LABEL (1)
CLUTCH
CRANKCASE (1)
CRANKSHAFT
CYLINDER
CYLINDER HEAD COVER
EVAP CANISTER (1)
FINAL DRIVEN GEAR
FRAME (1)
FRONT BRAKE CALIPER (1)
FRONT BRAKE MASTER
FRONT CYLINDER HEAD
FRONT FENDER (1)
FRONT FORK (1)
FRONT WHEEL (1)
FUEL PUMP (1)
FUEL TANK (1)
GASKET KIT A
GASKET KIT B
GEAR SHIFT DRUM
HANDLE LEVER@SWITCH@CABLE
HANDLEBAR (1)
HEADLIGHT (1)
INLET MANIFOLD
LEFT CRANKCASE COVER (1)
MARK (1)
MUFFLER (1)
OIL PUMP
PEDAL (1)
RADIATOR (1)
REAR BRAKE PANEL (1)
REAR CYLINDER HEAD
REAR FENDER (1)
REAR SHOCK ABSORBER (1)
REAR WHEEL (1)
RIGHT CRANKCASE COVER (1)
SEAT (1)
SIDE COVER (1)
SIDE GEAR CASE
SIDE STAND (1)
SPEEDOMETER (1)
STARTER MOTOR
STARTING CLUTCH
STEERING STEM (1)
STEP (1)
SWINGARM (1)
TAILLIGHT (1)
THROTTLE BODY
TOOLS
TRANSMISSION (1)
TURN SIGNAL (1)
WATER PIPE
WATER PUMP
WIRE HARNESS (1)
VIEW WISH LIST