Polaris
Browse New Models
Shop In-Stock
Honda
Browse New Models
Shop In-Stock
KTM
Browse New Models
Shop In-Stock
Beta
Browse New Models
Shop In-Stock
Timbersled
Browse New Models
1318 W 2nd St
,
The Dalles, OR
97058
541-298-1161
Search Inventory
Toggle navigation
Home
Brands
Inventory
All Inventory In Stock
New Inventory In Stock
Pre-Owned Inventory
Polaris Off-Road
Polaris Snowmobiles
Timbersled
Manufacturer Models
Value Your Trade-In
Request a Model
Government Purchasing Program
OEM Promotions
Secure Financing
Parts
Parts Department
Parts Finder
Shopping Cart
Service
Service Department
Warranty & Recall Look-Up
Schedule Polaris Service
Financing
About
Our Dealership
Our Team
Reviews
Customer Survey
Employment
Location & Hours
Contact
541-298-1161
The Dalles, OR
Fiche | Parts Diagrams
Home
›
Parts
›
Parts Finder
Search by :
Part / Desc
VIN
Please Select
Honda
KTM
Polaris
*Please enter at least 3 characters
SEARCH
Manufacturer
Honda
Motorcycles
2013
CB1100A AC
VIEW WISH LIST
Select a Section
Show/Hide
ABS MODULATOR
AIR CLEANER
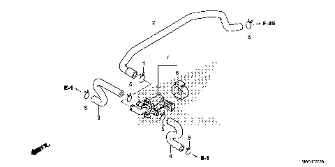
AIR INJECTION CONTROL
BATTERY
CAM CHAIN@TENSIONER
CAMSHAFT@VALVE
CANISTER
CAUTION LABEL
CLUTCH
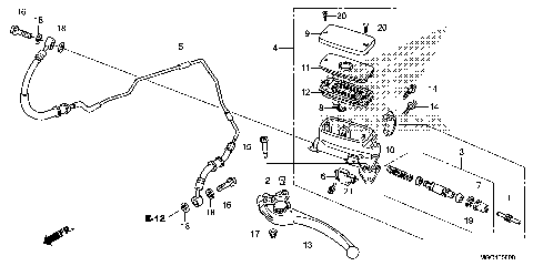
CLUTCH MASTER CYLINDER
CRANKCASE
CRANKSHAFT@PISTON
CYLINDER
CYLINDER HEAD
CYLINDER HEAD COVER
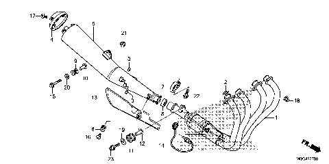
EXHAUST MUFFLER
FRAME
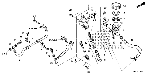
FRONT BRAKE MASTER
FRONT FENDER
FRONT FORK
FRONT WHEEL
FUEL TANK@FUEL PUMP
GEARSHIFT DRUM@GEARSHIFT
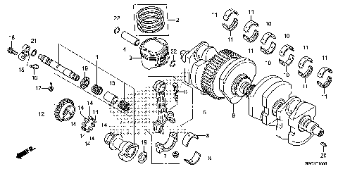
GENERATOR
HANDLEBAR@TOP BRIDGE
HEADLIGHT
LEFT CRANKCASE COVER
LEFT FRONT BRAKE CALIPER
LEFT REAR COVER
MARK@STRIPE
METER
OIL COOLER
OIL PAN@OIL PUMP
PEDAL
REAR BRAKE CALIPER
REAR BRAKE MASTER
REAR FENDER
REAR SHOCK ABSORBER
REAR WHEEL
RIGHT CRANKCASE COVER
RIGHT FRONT BRAKE CALIPER
SEAT
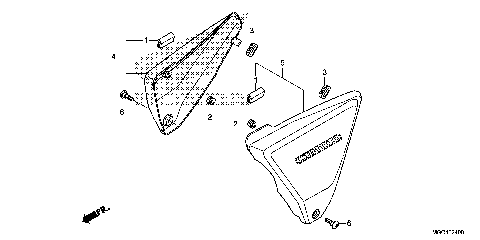
SIDE COVER
STAND
STARTING CLUTCH
STARTING MOTOR
STEERING STEM
STEP
SUB HARNESS@IGNITION COIL
SWINGARM
SWITCH@CABLE
TAILLIGHT
THROTTLE BODY
TOOL
TRANSMISSION
TURN SIGNAL
WIRE HARNESS
ABS MODULATOR
AIR CLEANER
AIR INJECTION CONTROL
BATTERY
CAM CHAIN@TENSIONER
CAMSHAFT@VALVE
CANISTER
CAUTION LABEL
CLUTCH
CLUTCH MASTER CYLINDER
CRANKCASE
CRANKSHAFT@PISTON
CYLINDER
CYLINDER HEAD
CYLINDER HEAD COVER
EXHAUST MUFFLER
FRAME
FRONT BRAKE MASTER
FRONT FENDER
FRONT FORK
FRONT WHEEL
FUEL TANK@FUEL PUMP
GEARSHIFT DRUM@GEARSHIFT
GENERATOR
HANDLEBAR@TOP BRIDGE
HEADLIGHT
LEFT CRANKCASE COVER
LEFT FRONT BRAKE CALIPER
LEFT REAR COVER
MARK@STRIPE
METER
OIL COOLER
OIL PAN@OIL PUMP
PEDAL
REAR BRAKE CALIPER
REAR BRAKE MASTER
REAR FENDER
REAR SHOCK ABSORBER
REAR WHEEL
RIGHT CRANKCASE COVER
RIGHT FRONT BRAKE CALIPER
SEAT
SIDE COVER
STAND
STARTING CLUTCH
STARTING MOTOR
STEERING STEM
STEP
SUB HARNESS@IGNITION COIL
SWINGARM
SWITCH@CABLE
TAILLIGHT
THROTTLE BODY
TOOL
TRANSMISSION
TURN SIGNAL
WIRE HARNESS
VIEW WISH LIST