Polaris
Browse New Models
Shop In-Stock
Honda
Browse New Models
Shop In-Stock
KTM
Browse New Models
Shop In-Stock
Beta
Browse New Models
Shop In-Stock
Timbersled
Browse New Models
1318 W 2nd St
,
The Dalles, OR
97058
541-298-1161
Search Inventory
Toggle navigation
Home
Brands
Inventory
All Inventory In Stock
New Inventory In Stock
Pre-Owned Inventory
Polaris Off-Road
Polaris Snowmobiles
Timbersled
Manufacturer Models
Value Your Trade-In
Request a Model
Government Purchasing Program
OEM Promotions
Secure Financing
Parts
Parts Department
Parts Finder
Shopping Cart
Service
Service Department
Warranty & Recall Look-Up
Schedule Polaris Service
Financing
About
Our Dealership
Our Team
Reviews
Customer Survey
Employment
Location & Hours
Contact
541-298-1161
The Dalles, OR
Fiche | Parts Diagrams
Home
›
Parts
›
Parts Finder
Search by :
Part / Desc
VIN
Please Select
Honda
KTM
Polaris
*Please enter at least 3 characters
SEARCH
Manufacturer
Honda
Motorcycles
2014
CBR600RA AC
VIEW WISH LIST
Select a Section
Show/Hide
ABS CONTROL UNIT
ACCESSORIES
AIR CLEANER
AIR INJECTION CONTROL
ALTERNATOR
ALTERNATOR COVER
BATTERY
BRAKE PEDAL@CHANGE PEDAL
CAM CHAIN@TENSIONER
CAMSHAFT@VALVE
CAUTION LABEL
CLUTCH
CRANKCASE
CRANKSHAFT@PISTON
CYLINDER HEAD
CYLINDER HEAD COVER
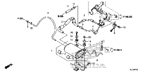
EVAP CANISTER (CBR600RA)
FRAME
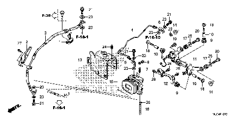
FRONT BRAKE CALIPER
FRONT BRAKE MASTER
FRONT FENDER
FRONT FORK
FRONT POWER UNIT
FRONT VALVE UNIT
FRONT WHEEL
FUEL INJECTOR
FUEL TANK@FUEL PUMP
GASKET KIT A
GASKET KIT B
GEARSHIFT DRUM
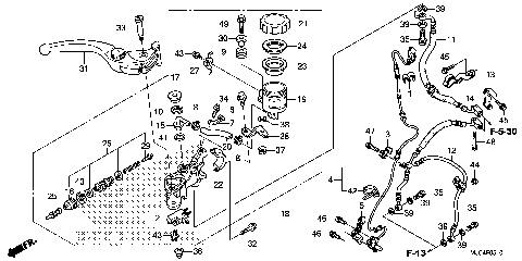
HANDLE LEVER@SWITCH@CABLE
HANDLEBAR@TOP BRIDGE
HEADLIGHT
MARK (1)
MIDDLE COWL@LOWER COWL
MIDDLE COWL@LOWER COWL(2)
MUFFLER
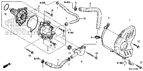
OIL PAN@OIL PUMP
RADIATOR
REAR BRAKE CALIPER
REAR BRAKE MASTER
REAR FENDER@LICENSE LIGHT
REAR POWER UNIT
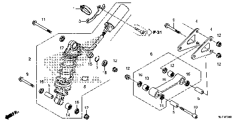
REAR SHOCK ABSORBER
REAR VALVE UNIT
REAR WHEEL
RIGHT CRANKCASE COVER
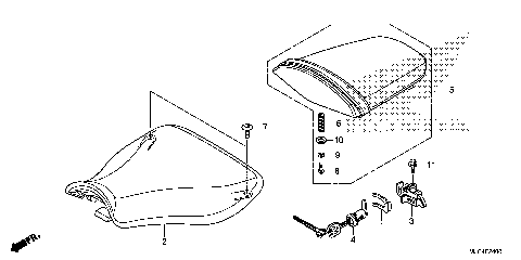
SEAT
SEAT COWL
SERVO MOTOR
SPEEDOMETER
STAND
STARTING CLUTCH
STARTING MOTOR
STEERING DAMPER
STEERING STEM
STEP
SUB HARNESS
SWINGARM
TAILLIGHT
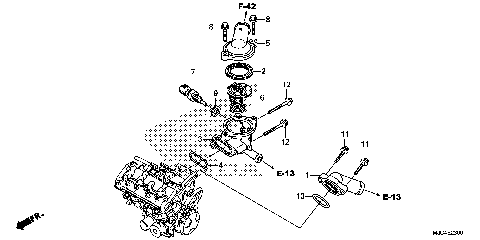
THERMOSTAT
THROTTLE BODY
TOOLS
TOP SHELTER
TRANSMISSION
TURN SIGNAL
UPPER COWL
WATER PUMP
WIRE HARNESS
ABS CONTROL UNIT
ACCESSORIES
AIR CLEANER
AIR INJECTION CONTROL
ALTERNATOR
ALTERNATOR COVER
BATTERY
BRAKE PEDAL@CHANGE PEDAL
CAM CHAIN@TENSIONER
CAMSHAFT@VALVE
CAUTION LABEL
CLUTCH
CRANKCASE
CRANKSHAFT@PISTON
CYLINDER HEAD
CYLINDER HEAD COVER
EVAP CANISTER (CBR600RA)
FRAME
FRONT BRAKE CALIPER
FRONT BRAKE MASTER
FRONT FENDER
FRONT FORK
FRONT POWER UNIT
FRONT VALVE UNIT
FRONT WHEEL
FUEL INJECTOR
FUEL TANK@FUEL PUMP
GASKET KIT A
GASKET KIT B
GEARSHIFT DRUM
HANDLE LEVER@SWITCH@CABLE
HANDLEBAR@TOP BRIDGE
HEADLIGHT
MARK (1)
MIDDLE COWL@LOWER COWL
MIDDLE COWL@LOWER COWL(2)
MUFFLER
OIL PAN@OIL PUMP
RADIATOR
REAR BRAKE CALIPER
REAR BRAKE MASTER
REAR FENDER@LICENSE LIGHT
REAR POWER UNIT
REAR SHOCK ABSORBER
REAR VALVE UNIT
REAR WHEEL
RIGHT CRANKCASE COVER
SEAT
SEAT COWL
SERVO MOTOR
SPEEDOMETER
STAND
STARTING CLUTCH
STARTING MOTOR
STEERING DAMPER
STEERING STEM
STEP
SUB HARNESS
SWINGARM
TAILLIGHT
THERMOSTAT
THROTTLE BODY
TOOLS
TOP SHELTER
TRANSMISSION
TURN SIGNAL
UPPER COWL
WATER PUMP
WIRE HARNESS
VIEW WISH LIST