Polaris
Browse New Models
Shop In-Stock
Honda
Browse New Models
Shop In-Stock
KTM
Browse New Models
Shop In-Stock
Beta
Browse New Models
Shop In-Stock
Timbersled
Browse New Models
1318 W 2nd St
,
The Dalles, OR
97058
541-298-1161
Search Inventory
Toggle navigation
Home
Brands
Inventory
All Inventory In Stock
New Inventory In Stock
Pre-Owned Inventory
Polaris Off-Road
Polaris Snowmobiles
Timbersled
Manufacturer Models
Value Your Trade-In
Request a Model
Government Purchasing Program
OEM Promotions
Secure Financing
Parts
Parts Department
Parts Finder
Shopping Cart
Service
Service Department
Warranty & Recall Look-Up
Schedule Polaris Service
Financing
About
Our Dealership
Our Team
Reviews
Customer Survey
Employment
Location & Hours
Contact
541-298-1161
The Dalles, OR
Fiche | Parts Diagrams
Home
›
Parts
›
Parts Finder
Search by :
Part / Desc
VIN
Please Select
Honda
KTM
Polaris
*Please enter at least 3 characters
SEARCH
Manufacturer
Honda
Motorcycles
2014
ST1300PA AC
VIEW WISH LIST
Select a Section
Show/Hide
AIR CLEANER
AIR INJECTION CONTROL
ALTERNATOR
BALANCER SHAFT
BATTERY
CAM CHAIN@TENSIONER
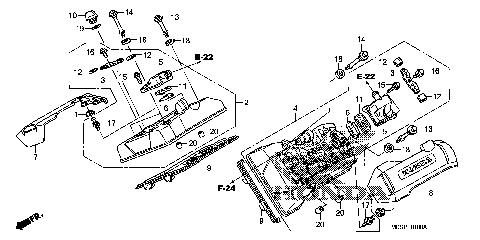
CAMSHAFT@VALVE
CAUTION LABEL
CLUTCH
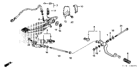
CLUTCH MASTER CYLINDER
COWL POCKET
COWL STAY
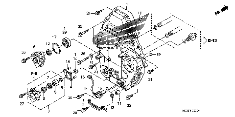
CRANKCASE
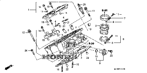
CRANKSHAFT@PISTON
CYLINDER HEAD COVER
EVAP CANISTER
FINAL DRIVEN GEAR
FINAL GEAR
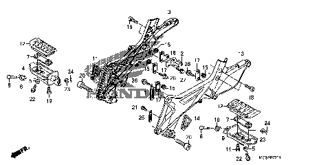
FRAME
FRONT BRAKE HOSE
FRONT BRAKE MASTER
FRONT CRANKCASE COVER
FRONT FENDER
FRONT FORK
FRONT WHEEL
FUEL PUMP
FUEL TANK
GASKET KIT A
GASKET KIT B
GEARSHIFT DRUM
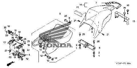
GRAB RAIL
HANDLEBAR@TOP BRIDGE
HEADLIGHT
IGNITION COIL
LEFT CYLINDER HEAD
LEFT FRONT BRAKE CALIPER
LOWER COWL
MARKS
MUFFLER
OIL PUMP@OIL PAN
PEDAL
PRIMARY SHAFT
PROPORTIONING CONTROL
RADIATOR
REAR BRAKE CALIPER
REAR BRAKE HOSE
REAR BRAKE MASTER
REAR COMBINATION LIGHT
REAR CRANKCASE COVER
REAR FENDER
REAR SHOCK ABSORBER
REAR WHEEL
RIGHT CYLINDER HEAD
RIGHT FRONT BRAKE CALIPER
SADDLEBAG
SEAT
SIDE COVER@REAR COWL
SPEEDOMETER
STAND
STARTING CLUTCH
STARTING MOTOR (1)
STARTING MOTOR (2)
STEERING STEM
STEP (2)
SWINGARM
SWITCH@CABLE
THROTTLE BODY (ASSY.)
THROTTLE BODY (COMPONENT
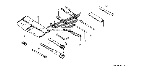
TOOLS
TRANSMISSION
TURN SIGNAL
UPPER COWL
WATER PIPE
WATER PUMP COVER
WINDSCREEN
WIRE HARNESS
AIR CLEANER
AIR INJECTION CONTROL
ALTERNATOR
BALANCER SHAFT
BATTERY
CAM CHAIN@TENSIONER
CAMSHAFT@VALVE
CAUTION LABEL
CLUTCH
CLUTCH MASTER CYLINDER
COWL POCKET
COWL STAY
CRANKCASE
CRANKSHAFT@PISTON
CYLINDER HEAD COVER
EVAP CANISTER
FINAL DRIVEN GEAR
FINAL GEAR
FRAME
FRONT BRAKE HOSE
FRONT BRAKE MASTER
FRONT CRANKCASE COVER
FRONT FENDER
FRONT FORK
FRONT WHEEL
FUEL PUMP
FUEL TANK
GASKET KIT A
GASKET KIT B
GEARSHIFT DRUM
GRAB RAIL
HANDLEBAR@TOP BRIDGE
HEADLIGHT
IGNITION COIL
LEFT CYLINDER HEAD
LEFT FRONT BRAKE CALIPER
LOWER COWL
MARKS
MUFFLER
OIL PUMP@OIL PAN
PEDAL
PRIMARY SHAFT
PROPORTIONING CONTROL
RADIATOR
REAR BRAKE CALIPER
REAR BRAKE HOSE
REAR BRAKE MASTER
REAR COMBINATION LIGHT
REAR CRANKCASE COVER
REAR FENDER
REAR SHOCK ABSORBER
REAR WHEEL
RIGHT CYLINDER HEAD
RIGHT FRONT BRAKE CALIPER
SADDLEBAG
SEAT
SIDE COVER@REAR COWL
SPEEDOMETER
STAND
STARTING CLUTCH
STARTING MOTOR (1)
STARTING MOTOR (2)
STEERING STEM
STEP (2)
SWINGARM
SWITCH@CABLE
THROTTLE BODY (ASSY.)
THROTTLE BODY (COMPONENT
TOOLS
TRANSMISSION
TURN SIGNAL
UPPER COWL
WATER PIPE
WATER PUMP COVER
WINDSCREEN
WIRE HARNESS
VIEW WISH LIST