Polaris
Browse New Models
Shop In-Stock
Honda
Browse New Models
Shop In-Stock
KTM
Browse New Models
Shop In-Stock
Beta
Browse New Models
Shop In-Stock
Timbersled
Browse New Models
1318 W 2nd St
,
The Dalles, OR
97058
541-298-1161
Search Inventory
Toggle navigation
Home
Brands
Inventory
All Inventory In Stock
New Inventory In Stock
Pre-Owned Inventory
Polaris Off-Road
Polaris Snowmobiles
Timbersled
Manufacturer Models
Value Your Trade-In
Request a Model
Government Purchasing Program
OEM Promotions
Secure Financing
Parts
Parts Department
Parts Finder
Shopping Cart
Service
Service Department
Warranty & Recall Look-Up
Schedule Polaris Service
Financing
About
Our Dealership
Our Team
Reviews
Customer Survey
Employment
Location & Hours
Contact
541-298-1161
The Dalles, OR
Fiche | Parts Diagrams
Home
›
Parts
›
Parts Finder
Search by :
Part / Desc
VIN
Please Select
Honda
KTM
Polaris
*Please enter at least 3 characters
SEARCH
Manufacturer
Honda
Motorcycles
2015
CB1000R 4AC
VIEW WISH LIST
Select a Section
Show/Hide
AIR CLEANER
AIR INJECTION CONTROL
ALTERNATOR COVER
BATTERY
CAM CHAIN@TENSIONER
CAMSHAFT@VALVE
CANISTER
CAUTION LABEL
CLUTCH
CLUTCH MASTER CYLINDER
CRANKCASE
CRANKSHAFT@PISTON
CYLINDER HEAD
CYLINDER HEAD COVER
EXHAUST MUFFLER
FRAME
FRONT BRAKE CALIPER
FRONT BRAKE MASTER
FRONT FENDER
FRONT FORK
FRONT WHEEL
FUEL PUMP
FUEL TANK
GASKET KIT A
GASKET KIT B
GEARSHIFT DRUM
GENERATOR
HANDLEBAR@TOP BRIDGE
HEADLIGHT
IGNITION COIL
MARK
METER
OIL PAN@OIL PUMP
PEDAL
RADIATOR
RADIATOR SHROUD
REAR BRAKE CALIPER
REAR BRAKE MASTER
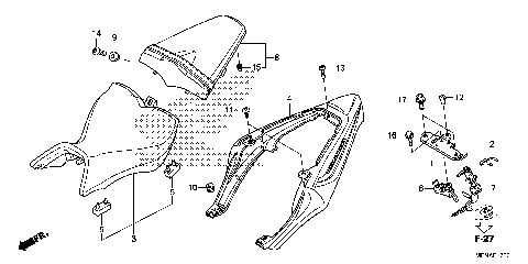
REAR FENDER
REAR SHOCK ABSORBER
REAR WHEEL
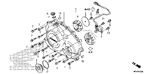
RIGHT CRANKCASE COVER
SEAT@REAR COWL
SIDE COVER
SIDE STAND
STARTING CLUTCH
STARTING MOTOR
STEERING STEM
STEP
SWINGARM
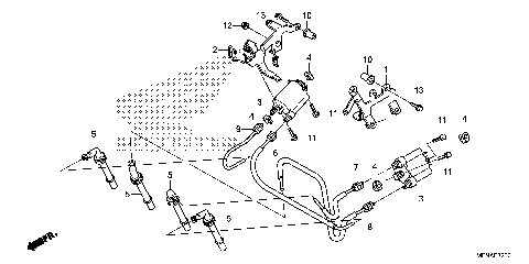
SWITCH@CABLE@MIRROR
TAILLIGHT
THROTTLE BODY
TOOL
TRANSMISSION
TURN SIGNAL
WATER PIPE
WATER PUMP
WIRE HARNESS
AIR CLEANER
AIR INJECTION CONTROL
ALTERNATOR COVER
BATTERY
CAM CHAIN@TENSIONER
CAMSHAFT@VALVE
CANISTER
CAUTION LABEL
CLUTCH
CLUTCH MASTER CYLINDER
CRANKCASE
CRANKSHAFT@PISTON
CYLINDER HEAD
CYLINDER HEAD COVER
EXHAUST MUFFLER
FRAME
FRONT BRAKE CALIPER
FRONT BRAKE MASTER
FRONT FENDER
FRONT FORK
FRONT WHEEL
FUEL PUMP
FUEL TANK
GASKET KIT A
GASKET KIT B
GEARSHIFT DRUM
GENERATOR
HANDLEBAR@TOP BRIDGE
HEADLIGHT
IGNITION COIL
MARK
METER
OIL PAN@OIL PUMP
PEDAL
RADIATOR
RADIATOR SHROUD
REAR BRAKE CALIPER
REAR BRAKE MASTER
REAR FENDER
REAR SHOCK ABSORBER
REAR WHEEL
RIGHT CRANKCASE COVER
SEAT@REAR COWL
SIDE COVER
SIDE STAND
STARTING CLUTCH
STARTING MOTOR
STEERING STEM
STEP
SWINGARM
SWITCH@CABLE@MIRROR
TAILLIGHT
THROTTLE BODY
TOOL
TRANSMISSION
TURN SIGNAL
WATER PIPE
WATER PUMP
WIRE HARNESS
VIEW WISH LIST