Polaris
Browse New Models
Shop In-Stock
Honda
Browse New Models
Shop In-Stock
KTM
Browse New Models
Shop In-Stock
Beta
Browse New Models
Shop In-Stock
Timbersled
Browse New Models
1318 W 2nd St
,
The Dalles, OR
97058
541-298-1161
Search Inventory
Toggle navigation
Home
Brands
Inventory
All Inventory In Stock
New Inventory In Stock
Pre-Owned Inventory
Polaris Off-Road
Polaris Snowmobiles
Timbersled
Manufacturer Models
Value Your Trade-In
Request a Model
Government Purchasing Program
OEM Promotions
Secure Financing
Parts
Parts Department
Parts Finder
Shopping Cart
Service
Service Department
Warranty & Recall Look-Up
Schedule Polaris Service
Financing
About
Our Dealership
Our Team
Reviews
Customer Survey
Employment
Location & Hours
Contact
541-298-1161
The Dalles, OR
Fiche | Parts Diagrams
Home
›
Parts
›
Parts Finder
Search by :
Part / Desc
VIN
Please Select
Honda
KTM
Polaris
*Please enter at least 3 characters
SEARCH
Manufacturer
Honda
Motorcycles
2016
VFR1200X AC
VIEW WISH LIST
Select a Section
Show/Hide
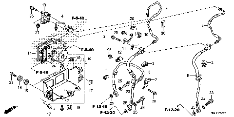
ABS MODULATOR
AIR CLEANER
AIR INJECTION CONTROL
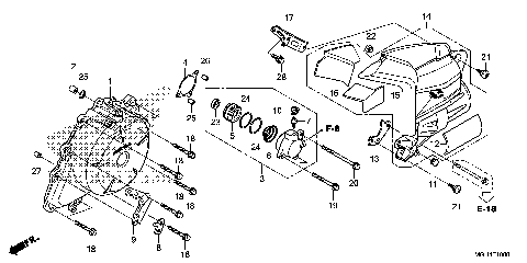
ALTERNATOR COVER
BATTERY
BRAKE HOSE
CAM CHAIN@TENSIONER
CAMSHAFT@VALVE (FR.)
CAMSHAFT@VALVE (RR.)
CANISTER
CAUTION LABEL
CLUTCH (1)
CLUTCH MASTER CYLINDER
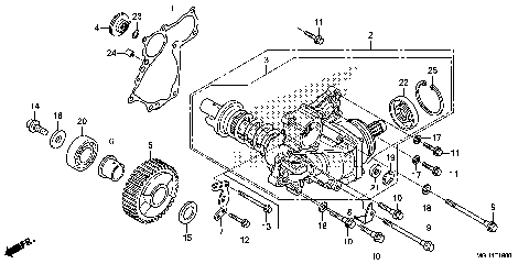
CRANKCASE (1)
CRANKSHAFT@PISTON
CYLINDER HEAD (FR.)
CYLINDER HEAD (RR.)
CYLINDER HEAD COVER
EXHAUST MUFFLER
FINAL DRIVEN GEAR
FRAME
FRONT BRAKE MASTER
FRONT FENDER
FRONT FORK
FRONT WHEEL
FUEL PUMP
FUEL TANK
GASKET KIT A
GASKET KIT B
GEARSHIFT DRUM (1)
GENERATOR
HANDLEBAR@TOP BRIDGE
HEADLIGHT
KNUCKLE GUARD
LEFT FRONT BRAKE CALIPER
LOWER COWL
MARK (1)
METER
MIDDLE COWL
OIL PUMP (1)
PEDAL
RADIATOR
REAR BRAKE CALIPER
REAR BRAKE MASTER
REAR COWL@CARRIER
REAR FENDER
REAR SHOCK ABSORBER
REAR WHEEL
RIGHT CRANKCASE COVER
RIGHT FRONT BRAKE CALIPER
SEAT
SIDE GEAR CASE
STAND
STARTING CLUTCH
STARTING MOTOR
STEERING STEM
STEP
SUB HARNESS
SWINGARM
SWITCH@CABLE@MIRROR (1)
TAILLIGHT
THROTTLE BODY
TOOL
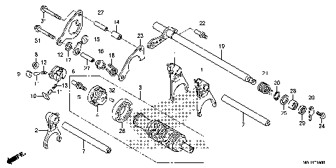
TRANSMISSION
TURN SIGNAL
UPPER COWL
WATER PUMP
WINDSCREEN
WIRE HARNESS
ABS MODULATOR
AIR CLEANER
AIR INJECTION CONTROL
ALTERNATOR COVER
BATTERY
BRAKE HOSE
CAM CHAIN@TENSIONER
CAMSHAFT@VALVE (FR.)
CAMSHAFT@VALVE (RR.)
CANISTER
CAUTION LABEL
CLUTCH (1)
CLUTCH MASTER CYLINDER
CRANKCASE (1)
CRANKSHAFT@PISTON
CYLINDER HEAD (FR.)
CYLINDER HEAD (RR.)
CYLINDER HEAD COVER
EXHAUST MUFFLER
FINAL DRIVEN GEAR
FRAME
FRONT BRAKE MASTER
FRONT FENDER
FRONT FORK
FRONT WHEEL
FUEL PUMP
FUEL TANK
GASKET KIT A
GASKET KIT B
GEARSHIFT DRUM (1)
GENERATOR
HANDLEBAR@TOP BRIDGE
HEADLIGHT
KNUCKLE GUARD
LEFT FRONT BRAKE CALIPER
LOWER COWL
MARK (1)
METER
MIDDLE COWL
OIL PUMP (1)
PEDAL
RADIATOR
REAR BRAKE CALIPER
REAR BRAKE MASTER
REAR COWL@CARRIER
REAR FENDER
REAR SHOCK ABSORBER
REAR WHEEL
RIGHT CRANKCASE COVER
RIGHT FRONT BRAKE CALIPER
SEAT
SIDE GEAR CASE
STAND
STARTING CLUTCH
STARTING MOTOR
STEERING STEM
STEP
SUB HARNESS
SWINGARM
SWITCH@CABLE@MIRROR (1)
TAILLIGHT
THROTTLE BODY
TOOL
TRANSMISSION
TURN SIGNAL
UPPER COWL
WATER PUMP
WINDSCREEN
WIRE HARNESS
VIEW WISH LIST