Polaris
Browse New Models
Shop In-Stock
Honda
Browse New Models
Shop In-Stock
KTM
Browse New Models
Shop In-Stock
Beta
Browse New Models
Shop In-Stock
Timbersled
Browse New Models
1318 W 2nd St
,
The Dalles, OR
97058
541-298-1161
Search Inventory
Toggle navigation
Home
Brands
Inventory
All Inventory In Stock
New Inventory In Stock
Pre-Owned Inventory
Polaris Off-Road
Polaris Snowmobiles
Timbersled
Manufacturer Models
Value Your Trade-In
Request a Model
Government Purchasing Program
OEM Promotions
Secure Financing
Parts
Parts Department
Parts Finder
Shopping Cart
Service
Service Department
Warranty & Recall Look-Up
Schedule Polaris Service
Financing
About
Our Dealership
Our Team
Reviews
Customer Survey
Employment
Location & Hours
Contact
541-298-1161
The Dalles, OR
Fiche | Parts Diagrams
Home
›
Parts
›
Parts Finder
Search by :
Part / Desc
VIN
Please Select
Honda
KTM
Polaris
*Please enter at least 3 characters
SEARCH
Manufacturer
Honda
Motorcycles
2018
CRF1000A2
VIEW WISH LIST
Select a Section
Show/Hide
ABS MODULATOR
AIR CLEANER
AIR INJECTION SOLENOID
ALTERNATOR
BATTERY
CAM CHAIN@TENSIONER
CAMSHAFT@VALVE
CANISTER
CAUTION LABEL (2)
CLUTCH (1)
CRANKCASE
CRANKSHAFT@PISTON
CYLINDER HEAD
CYLINDER HEAD COVER
FRAME
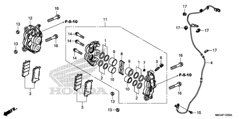
FRONT BRAKE CALIPER
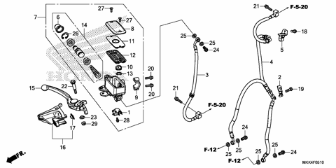
FRONT BRAKE MASTER
FRONT COVER
FRONT FENDER
FRONT FORK
FRONT SIDE PIPE@SKID
FRONT WHEEL
FUEL TANK@FUEL PUMP (2)
GASKET KIT A
GASKET KIT B
GEARSHIFT DRUM (1)
GENERATOR COVER
HANDLE LEVER@SWITCH@CABLE
HANDLEBAR@TOP BRIDGE
HEADLIGHT
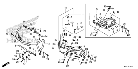
KNUCKLE GUARD
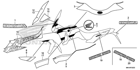
MARK@STRIPE (4)
MIDDLE COWL (2)
MUFFLER
OIL PAN@OIL PUMP
PEDAL
RADIATOR
RADIATOR HOSE@WATER PIPE
REAR BRAKE CALIPER
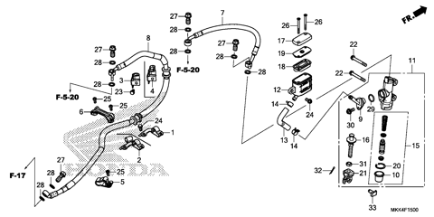
REAR BRAKE MASTER
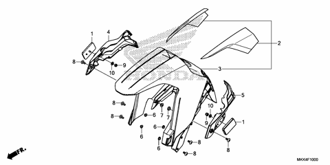
REAR FENDER
REAR SHOCK ABSORBER
REAR WHEEL
RIGHT CRANKCASE COVER(2)
SEAT
SIDE COVER@REAR CARRIER
SIDE COVER@REAR CARRIER(2)
SIDE STAND
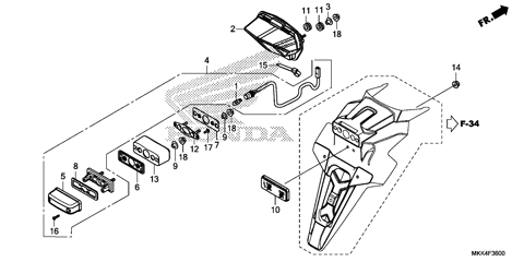
SPEEDOMETER
STARTER MOTOR
STARTING CLUTCH
STEERING STEM
STEP
SUB HARNESS@IGNITION COIL
SWINGARM
TAILLIGHT@LICENSE LIGHT
THROTTLE BODY
TOOL
TRANSMISSION
TURN SIGNAL
WIRE HARNESS
ABS MODULATOR
AIR CLEANER
AIR INJECTION SOLENOID
ALTERNATOR
BATTERY
CAM CHAIN@TENSIONER
CAMSHAFT@VALVE
CANISTER
CAUTION LABEL (2)
CLUTCH (1)
CRANKCASE
CRANKSHAFT@PISTON
CYLINDER HEAD
CYLINDER HEAD COVER
FRAME
FRONT BRAKE CALIPER
FRONT BRAKE MASTER
FRONT COVER
FRONT FENDER
FRONT FORK
FRONT SIDE PIPE@SKID
FRONT WHEEL
FUEL TANK@FUEL PUMP (2)
GASKET KIT A
GASKET KIT B
GEARSHIFT DRUM (1)
GENERATOR COVER
HANDLE LEVER@SWITCH@CABLE
HANDLEBAR@TOP BRIDGE
HEADLIGHT
KNUCKLE GUARD
MARK@STRIPE (4)
MIDDLE COWL (2)
MUFFLER
OIL PAN@OIL PUMP
PEDAL
RADIATOR
RADIATOR HOSE@WATER PIPE
REAR BRAKE CALIPER
REAR BRAKE MASTER
REAR FENDER
REAR SHOCK ABSORBER
REAR WHEEL
RIGHT CRANKCASE COVER(2)
SEAT
SIDE COVER@REAR CARRIER
SIDE COVER@REAR CARRIER(2)
SIDE STAND
SPEEDOMETER
STARTER MOTOR
STARTING CLUTCH
STEERING STEM
STEP
SUB HARNESS@IGNITION COIL
SWINGARM
TAILLIGHT@LICENSE LIGHT
THROTTLE BODY
TOOL
TRANSMISSION
TURN SIGNAL
WIRE HARNESS
VIEW WISH LIST