Polaris
Browse New Models
Shop In-Stock
Honda
Browse New Models
Shop In-Stock
KTM
Browse New Models
Shop In-Stock
Beta
Browse New Models
Shop In-Stock
Timbersled
Browse New Models
1318 W 2nd St
,
The Dalles, OR
97058
541-298-1161
Search Inventory
Toggle navigation
Home
Brands
Inventory
All Inventory In Stock
New Inventory In Stock
Pre-Owned Inventory
Polaris Off-Road
Polaris Snowmobiles
Timbersled
Manufacturer Models
Value Your Trade-In
Request a Model
Government Purchasing Program
OEM Promotions
Secure Financing
Parts
Parts Department
Parts Finder
Shopping Cart
Service
Service Department
Warranty & Recall Look-Up
Schedule Polaris Service
Financing
About
Our Dealership
Our Team
Reviews
Customer Survey
Employment
Location & Hours
Contact
541-298-1161
The Dalles, OR
Fiche | Parts Diagrams
Home
›
Parts
›
Parts Finder
Search by :
Part / Desc
VIN
Please Select
Honda
KTM
Polaris
*Please enter at least 3 characters
SEARCH
Manufacturer
Honda
Motorcycles
2019
CRF125F
VIEW WISH LIST
Select a Section
Show/Hide
AIR CLEANER (1)
AIR CLEANER (2)
ALTERNATOR
BATTERY
CAM CHAIN@TENSIONER
CAMSHAFT@VALVE
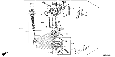
CARBURETOR
CAUTION LABEL
CLUTCH
CRANKCASE
CRANKSHAFT@PISTON
CYLINDER
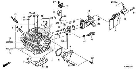
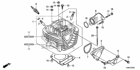
CYLINDER HEAD (1)
CYLINDER HEAD (2)
CYLINDER HEAD COVER
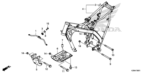
FRAME (1)
FRAME (2)
FRONT BRAKE CALIPER
FRONT BRAKE MASTER
FRONT FENDER
FRONT FORK
FRONT WHEEL
FUEL TANK ('18)
FUEL TANK ('19)
GASKET KIT A
GASKET KIT B
GEARSHIFT DRUM
HANDLE LEVER@SWITCH@CABLE
HANDLEBAR
KICK STARTER SPINDLE
LEFT CRANKCASE COVER
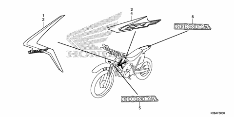
MARK@STRIPE (1)
MARK@STRIPE (2)
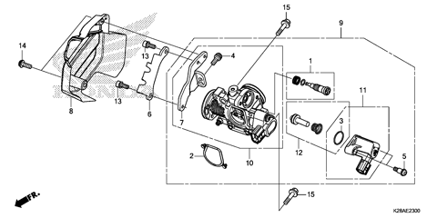
MUFFLER (1)
MUFFLER (2)
OIL PUMP
PEDAL
REAR BRAKE PANEL
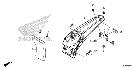
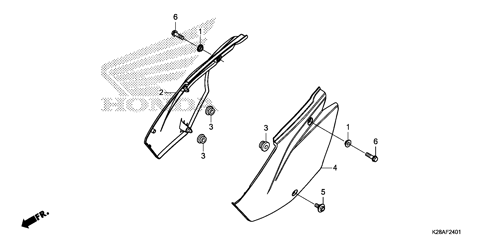
REAR FENDER (1)
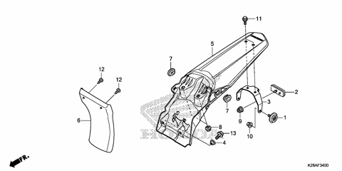
REAR FENDER (2)
REAR SHOCK ABSORBER
REAR WHEEL
RIGHT CRANKCASE COVER
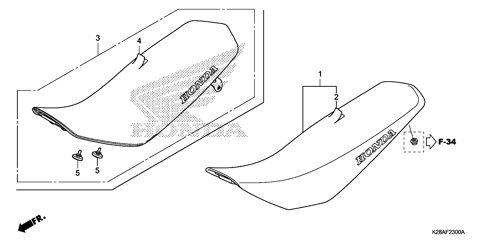
SEAT
SIDE COVER (2)
SIDE STAND
STARTER MOTOR (1)
STARTER MOTOR (2)
STARTING CLUTCH
STEERING STEM (1)
STEERING STEM (2)
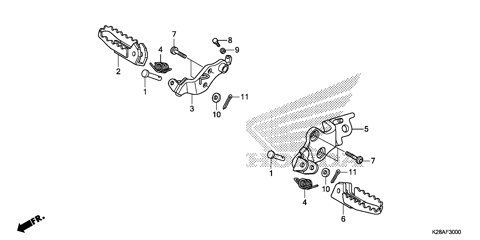
STEP
SWINGARM
TANK SHROUD@SIDE COVER
THROTTLE BODY
TOOL
TRANSMISSION
WIRE HARNESS (1)
WIRE HARNESS (2)
AIR CLEANER (1)
AIR CLEANER (2)
ALTERNATOR
BATTERY
CAM CHAIN@TENSIONER
CAMSHAFT@VALVE
CARBURETOR
CAUTION LABEL
CLUTCH
CRANKCASE
CRANKSHAFT@PISTON
CYLINDER
CYLINDER HEAD (1)
CYLINDER HEAD (2)
CYLINDER HEAD COVER
FRAME (1)
FRAME (2)
FRONT BRAKE CALIPER
FRONT BRAKE MASTER
FRONT FENDER
FRONT FORK
FRONT WHEEL
FUEL TANK ('18)
FUEL TANK ('19)
GASKET KIT A
GASKET KIT B
GEARSHIFT DRUM
HANDLE LEVER@SWITCH@CABLE
HANDLEBAR
KICK STARTER SPINDLE
LEFT CRANKCASE COVER
MARK@STRIPE (1)
MARK@STRIPE (2)
MUFFLER (1)
MUFFLER (2)
OIL PUMP
PEDAL
REAR BRAKE PANEL
REAR FENDER (1)
REAR FENDER (2)
REAR SHOCK ABSORBER
REAR WHEEL
RIGHT CRANKCASE COVER
SEAT
SIDE COVER (2)
SIDE STAND
STARTER MOTOR (1)
STARTER MOTOR (2)
STARTING CLUTCH
STEERING STEM (1)
STEERING STEM (2)
STEP
SWINGARM
TANK SHROUD@SIDE COVER
THROTTLE BODY
TOOL
TRANSMISSION
WIRE HARNESS (1)
WIRE HARNESS (2)
VIEW WISH LIST