Polaris
Browse New Models
Shop In-Stock
Honda
Browse New Models
Shop In-Stock
KTM
Browse New Models
Shop In-Stock
Beta
Browse New Models
Shop In-Stock
Timbersled
Browse New Models
1318 W 2nd St
,
The Dalles, OR
97058
541-298-1161
Search Inventory
Toggle navigation
Home
Brands
Inventory
All Inventory In Stock
New Inventory In Stock
Pre-Owned Inventory
Polaris Off-Road
Polaris Snowmobiles
Timbersled
Manufacturer Models
Value Your Trade-In
Request a Model
Government Purchasing Program
OEM Promotions
Secure Financing
Parts
Parts Department
Parts Finder
Shopping Cart
Service
Service Department
Warranty & Recall Look-Up
Schedule Polaris Service
Financing
About
Our Dealership
Our Team
Reviews
Customer Survey
Employment
Location & Hours
Contact
541-298-1161
The Dalles, OR
Fiche | Parts Diagrams
Home
›
Parts
›
Parts Finder
Search by :
Part / Desc
VIN
Please Select
Honda
KTM
Polaris
*Please enter at least 3 characters
SEARCH
Manufacturer
Honda
Motorcycles
2019
CRF250R AC
VIEW WISH LIST
Select a Section
Show/Hide
AIR CLEANER
ALTERNATOR
BALANCER
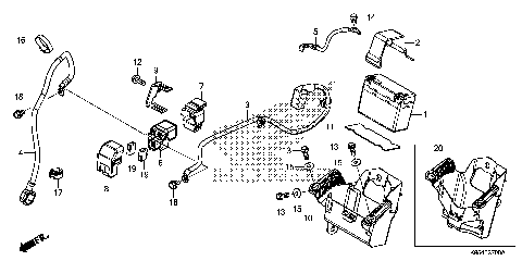
BATTERY
CAM CHAIN@TENSIONER
CAMSHAFT@VALVE
CAUTION LABELS
CLUTCH
CRANKCASE
CRANKSHAFT@PISTON
CUSHION ARM
CYLINDER
CYLINDER HEAD
CYLINDER HEAD COVER
FRAME
FRONT BRAKE CALIPER
FRONT BRAKE MASTER
FRONT FENDER
FRONT FORK
FRONT WHEEL
FUEL TANK (1)
GASKET KIT A
GASKET KIT B
GEARSHIFT DRUM
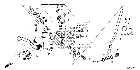
HANDLE LEVER@SWITCH@CABLE
HANDLEBAR@TOP BRIDGE (2)
LEFT CRANKCASE COVER
MARKS
MUFFLER
OIL PUMP
PEDAL
RADIATOR
RADIATOR SHROUD (1)
REAR BRAKE CALIPER
REAR BRAKE MASTER
REAR FENDER
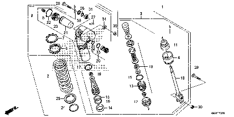
REAR SHOCK ABSORBER
REAR WHEEL
RIGHT CRANKCASE COVER
SEAT@SIDE COVER
STARTING CLUTCH
STARTING MOTOR
STEERING STEM
STEP@STAND
SWINGARM
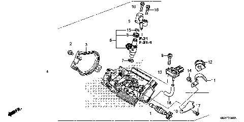
THROTTLE BODY
TOOLS
TRANSMISSION
WIRE HARNESS (2)
AIR CLEANER
ALTERNATOR
BALANCER
BATTERY
CAM CHAIN@TENSIONER
CAMSHAFT@VALVE
CAUTION LABELS
CLUTCH
CRANKCASE
CRANKSHAFT@PISTON
CUSHION ARM
CYLINDER
CYLINDER HEAD
CYLINDER HEAD COVER
FRAME
FRONT BRAKE CALIPER
FRONT BRAKE MASTER
FRONT FENDER
FRONT FORK
FRONT WHEEL
FUEL TANK (1)
GASKET KIT A
GASKET KIT B
GEARSHIFT DRUM
HANDLE LEVER@SWITCH@CABLE
HANDLEBAR@TOP BRIDGE (2)
LEFT CRANKCASE COVER
MARKS
MUFFLER
OIL PUMP
PEDAL
RADIATOR
RADIATOR SHROUD (1)
REAR BRAKE CALIPER
REAR BRAKE MASTER
REAR FENDER
REAR SHOCK ABSORBER
REAR WHEEL
RIGHT CRANKCASE COVER
SEAT@SIDE COVER
STARTING CLUTCH
STARTING MOTOR
STEERING STEM
STEP@STAND
SWINGARM
THROTTLE BODY
TOOLS
TRANSMISSION
WIRE HARNESS (2)
VIEW WISH LIST