Polaris
Browse New Models
Shop In-Stock
Honda
Browse New Models
Shop In-Stock
KTM
Browse New Models
Shop In-Stock
Beta
Browse New Models
Shop In-Stock
Timbersled
Browse New Models
1318 W 2nd St
,
The Dalles, OR
97058
541-298-1161
Search Inventory
Toggle navigation
Home
Brands
Inventory
All Inventory In Stock
New Inventory In Stock
Pre-Owned Inventory
Polaris Off-Road
Polaris Snowmobiles
Timbersled
Manufacturer Models
Value Your Trade-In
Request a Model
Government Purchasing Program
OEM Promotions
Secure Financing
Parts
Parts Department
Parts Finder
Shopping Cart
Service
Service Department
Warranty & Recall Look-Up
Schedule Polaris Service
Financing
About
Our Dealership
Our Team
Reviews
Customer Survey
Employment
Location & Hours
Contact
541-298-1161
The Dalles, OR
Fiche | Parts Diagrams
Home
›
Parts
›
Parts Finder
Search by :
Part / Desc
VIN
Please Select
Honda
KTM
Polaris
*Please enter at least 3 characters
SEARCH
Manufacturer
Honda
Motorcycles
2023
VT750C2B A
VIEW WISH LIST
Select a Section
Show/Hide
AIR CLEANER
AIR INJECTION VALVE
BATTERY (1)
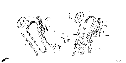
CAM CHAIN@TENSIONER
CAMSHAFT@VALVE (FR.)
CAMSHAFT@VALVE (RR.)
CANISTER
CAUTION LABEL
CLUTCH
CRANKCASE
CRANKSHAFT@PISTON
CYLINDER
CYLINDER HEAD COVER
EXHAUST MUFFLER
FINAL DRIVEN GEAR
FRAME
FRONT BRAKE CALIPER (1)
FRONT BRAKE MASTER
FRONT CYLINDER HEAD
FRONT FENDER (2)
FRONT FORK (1)
FRONT WHEEL
FUEL PUMP
FUEL TANK
GASKET KIT A
GASKET KIT B
GEARSHIFT DRUM
GENERATOR
HANDLE LEVER@SWITCH@CABLE
HANDLEBAR (2)
HEADLIGHT (2)
INLET MANIFOLD
LEFT CRANKCASE COVER
MARK (2)
METER
OIL PUMP
PEDAL
RADIATOR
REAR BRAKE PANEL
REAR CYLINDER HEAD
REAR FENDER (2)
REAR SHOCK ABSORBER (2)
REAR WHEEL (DRUM BRAKE)
RIGHT CRANKCASE COVER
SEAT (2)
SIDE COVER
SIDE GEAR CASE
SIDE STAND
STARTER MOTOR
STARTING CLUTCH
STEERING STEM
STEP
SWINGARM
TAILLIGHT (2)
THROTTLE BODY
TOOLS
TRANSMISSION
TURN SIGNAL (1)
WATER PIPE
WATER PUMP
WIRE HARNESS (1)
AIR CLEANER
AIR INJECTION VALVE
BATTERY (1)
CAM CHAIN@TENSIONER
CAMSHAFT@VALVE (FR.)
CAMSHAFT@VALVE (RR.)
CANISTER
CAUTION LABEL
CLUTCH
CRANKCASE
CRANKSHAFT@PISTON
CYLINDER
CYLINDER HEAD COVER
EXHAUST MUFFLER
FINAL DRIVEN GEAR
FRAME
FRONT BRAKE CALIPER (1)
FRONT BRAKE MASTER
FRONT CYLINDER HEAD
FRONT FENDER (2)
FRONT FORK (1)
FRONT WHEEL
FUEL PUMP
FUEL TANK
GASKET KIT A
GASKET KIT B
GEARSHIFT DRUM
GENERATOR
HANDLE LEVER@SWITCH@CABLE
HANDLEBAR (2)
HEADLIGHT (2)
INLET MANIFOLD
LEFT CRANKCASE COVER
MARK (2)
METER
OIL PUMP
PEDAL
RADIATOR
REAR BRAKE PANEL
REAR CYLINDER HEAD
REAR FENDER (2)
REAR SHOCK ABSORBER (2)
REAR WHEEL (DRUM BRAKE)
RIGHT CRANKCASE COVER
SEAT (2)
SIDE COVER
SIDE GEAR CASE
SIDE STAND
STARTER MOTOR
STARTING CLUTCH
STEERING STEM
STEP
SWINGARM
TAILLIGHT (2)
THROTTLE BODY
TOOLS
TRANSMISSION
TURN SIGNAL (1)
WATER PIPE
WATER PUMP
WIRE HARNESS (1)
VIEW WISH LIST