Polaris
Browse New Models
Shop In-Stock
Honda
Browse New Models
Shop In-Stock
KTM
Browse New Models
Shop In-Stock
Beta
Browse New Models
Shop In-Stock
Timbersled
Browse New Models
1318 W 2nd St
,
The Dalles, OR
97058
541-298-1161
Search Inventory
Toggle navigation
Home
Brands
Inventory
All Inventory In Stock
New Inventory In Stock
Pre-Owned Inventory
Polaris Off-Road
Polaris Snowmobiles
Timbersled
Manufacturer Models
Value Your Trade-In
Request a Model
Government Purchasing Program
OEM Promotions
Secure Financing
Parts
Parts Department
Parts Finder
Shopping Cart
Service
Service Department
Warranty & Recall Look-Up
Schedule Polaris Service
Financing
About
Our Dealership
Our Team
Reviews
Customer Survey
Employment
Location & Hours
Contact
541-298-1161
The Dalles, OR
Fiche | Parts Diagrams
Home
›
Parts
›
Parts Finder
Search by :
Part / Desc
VIN
Please Select
Honda
KTM
Polaris
*Please enter at least 3 characters
SEARCH
Manufacturer
Honda
Motorcycles
2024
GL1800BD 2AC
VIEW WISH LIST
Select a Section
Show/Hide
ABS MODULATOR
AIR CLEANER
AIR INJECTION VALVE
ANTENNA SET@CORD SET
AUDIO UNIT
BATTERY
BRAKE HOSE@BRAKE PIPE
CAM CHAIN@TENSIONER
CAMSHAFT@VALVE
CANISTER
CAUTION LABEL
CENTER POCKET
CLUTCH (DCT)
CLUTCH COVER (DCT)
CONTROL UNIT
COWL
COWL STAY
CRANKSHAFT@PISTON
CUSHION ARM
CYLINDER BLOCK
CYLINDER HEAD
CYLINDER HEAD COVER
ENGINE COVER
ENGINE GUARD
ENGINE SUB CORD
EXHAUST MUFFLER
FINAL DRIVEN GEAR
FINAL SHAFT
FOGLIGHT
FRAME
FRONT BRAKE MASTER
FRONT ENGINE COVER
FRONT FENDER
FRONT FORK
FRONT WHEEL
FUEL TANK
GASKET KIT A
GASKET KIT B
GENERATOR
HANDLE SWITCH
HANDLEBAR@TOP BRIDGE
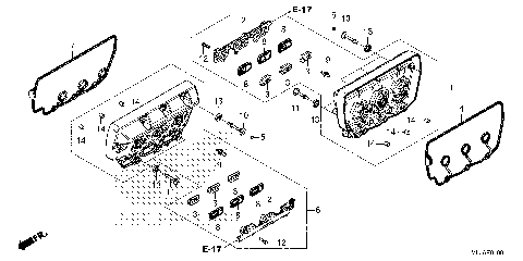
HEADLIGHT
INJECTOR
LEFT FRONT BRAKE CALIPER
LUGGAGE STAY
METER
METER PANEL@SWITCH PANEL
OIL PUMP
PARKING BRAKE CALIPER
PARKING BRAKE LEVER
PEDAL
POCKET
PRIMARY DRIVE GEAR
RADIATOR (L.)
RADIATOR (R.)
REAR BRAKE CALIPER
REAR BRAKE MASTER
REAR CASE
REAR CENTER TOP COVER
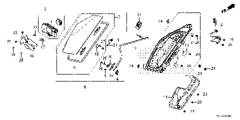
REAR COMBINATION LIGHT
REAR FENDER
REAR SHOCK ABSORBER
REAR WHEEL
RIGHT FRONT BRAKE CALIPER
SADDLEBAG
SEAT
SHELTER
SHIFT COVER (DCT)
SHIFT DRUM@SHIFT FORK
SIDE COVER
STAND
STEM SHAFT
STEP
STRIPE
SUB HARNESS
SWINGARM
THROTTLE BODY
TOOLS
TRANSMISSION
TRANSMISSION (MAINSHAFT)
TURN SIGNAL@MIRROR
WATER PUMP
WINDSCREEN
WIRE HARNESS
ABS MODULATOR
AIR CLEANER
AIR INJECTION VALVE
ANTENNA SET@CORD SET
AUDIO UNIT
BATTERY
BRAKE HOSE@BRAKE PIPE
CAM CHAIN@TENSIONER
CAMSHAFT@VALVE
CANISTER
CAUTION LABEL
CENTER POCKET
CLUTCH (DCT)
CLUTCH COVER (DCT)
CONTROL UNIT
COWL
COWL STAY
CRANKSHAFT@PISTON
CUSHION ARM
CYLINDER BLOCK
CYLINDER HEAD
CYLINDER HEAD COVER
ENGINE COVER
ENGINE GUARD
ENGINE SUB CORD
EXHAUST MUFFLER
FINAL DRIVEN GEAR
FINAL SHAFT
FOGLIGHT
FRAME
FRONT BRAKE MASTER
FRONT ENGINE COVER
FRONT FENDER
FRONT FORK
FRONT WHEEL
FUEL TANK
GASKET KIT A
GASKET KIT B
GENERATOR
HANDLE SWITCH
HANDLEBAR@TOP BRIDGE
HEADLIGHT
INJECTOR
LEFT FRONT BRAKE CALIPER
LUGGAGE STAY
METER
METER PANEL@SWITCH PANEL
OIL PUMP
PARKING BRAKE CALIPER
PARKING BRAKE LEVER
PEDAL
POCKET
PRIMARY DRIVE GEAR
RADIATOR (L.)
RADIATOR (R.)
REAR BRAKE CALIPER
REAR BRAKE MASTER
REAR CASE
REAR CENTER TOP COVER
REAR COMBINATION LIGHT
REAR FENDER
REAR SHOCK ABSORBER
REAR WHEEL
RIGHT FRONT BRAKE CALIPER
SADDLEBAG
SEAT
SHELTER
SHIFT COVER (DCT)
SHIFT DRUM@SHIFT FORK
SIDE COVER
STAND
STEM SHAFT
STEP
STRIPE
SUB HARNESS
SWINGARM
THROTTLE BODY
TOOLS
TRANSMISSION
TRANSMISSION (MAINSHAFT)
TURN SIGNAL@MIRROR
WATER PUMP
WINDSCREEN
WIRE HARNESS
VIEW WISH LIST