Polaris
Browse New Models
Shop In-Stock
Honda
Browse New Models
Shop In-Stock
KTM
Browse New Models
Shop In-Stock
Beta
Browse New Models
Shop In-Stock
Timbersled
Browse New Models
1318 W 2nd St
,
The Dalles, OR
97058
541-298-1161
Search Inventory
Toggle navigation
Home
Brands
Inventory
All Inventory In Stock
New Inventory In Stock
Pre-Owned Inventory
Polaris Off-Road
Polaris Snowmobiles
Timbersled
Manufacturer Models
Value Your Trade-In
Request a Model
Government Purchasing Program
OEM Promotions
Secure Financing
Parts
Parts Department
Parts Finder
Shopping Cart
Service
Service Department
Warranty & Recall Look-Up
Schedule Polaris Service
Financing
About
Our Dealership
Our Team
Reviews
Customer Survey
Employment
Location & Hours
Contact
541-298-1161
The Dalles, OR
Fiche | Parts Diagrams
Home
›
Parts
›
Parts Finder
Search by :
Part / Desc
VIN
Please Select
Honda
KTM
Polaris
*Please enter at least 3 characters
SEARCH
Manufacturer
Honda
Scooters
2011
FSC600A AC
VIEW WISH LIST
Select a Section
Show/Hide
AIR CLEANER
AIR INJECTION VALVE
ALTERNATOR
BALANCER
BATTERY
BODY COVER
CAM CHAIN@TENSIONER
CAMSHAFT@VALVE
CAUTION LABEL
COMBINATION METER
CRANKCASE
CRANKSHAFT@PISTON
CYLINDER
CYLINDER HEAD
CYLINDER HEAD COVER
DRIVE FACE
DRIVEN FACE
EMBLEM@MARK
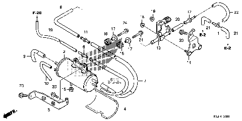
EVAP CANISTER
FLOOR STEP
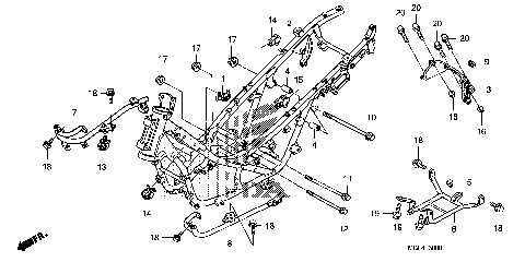
FRAME
FRONT BRAKE CALIPER
FRONT BRAKE MASTER
FRONT COVER
FRONT FENDER
FRONT FORK
FRONT WHEEL
FUEL TANK
GASKET KIT A
GASKET KIT B
HANDLEBAR@HANDLE COVER
HEADLIGHT
INNER BOX
LUGGAGE BOX
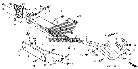
MUFFLER
OIL PUMP
PARKING BRAKE
PARKING BRAKE CALIPER
RADIATOR
REAR BRAKE CALIPER
REAR BRAKE MASTER
REAR BRAKE PIPE (FSC600A)
REAR SHOCK ABSORBER
REAR WHEEL
RIGHT CRANKCASE COVER
SEAT
STAND
STARTER MOTOR
STARTING CLUTCH
STEERING STEM
SWINGARM
SWITCH@CABLE@MIRROR
TAILLIGHT@REAR FENDER
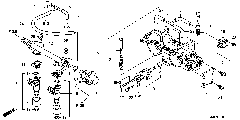
THROTTLE BODY
TOOLS
TRANSMISSION
TURN SIGNAL
WATER PUMP
WIRE HARNESS
AIR CLEANER
AIR INJECTION VALVE
ALTERNATOR
BALANCER
BATTERY
BODY COVER
CAM CHAIN@TENSIONER
CAMSHAFT@VALVE
CAUTION LABEL
COMBINATION METER
CRANKCASE
CRANKSHAFT@PISTON
CYLINDER
CYLINDER HEAD
CYLINDER HEAD COVER
DRIVE FACE
DRIVEN FACE
EMBLEM@MARK
EVAP CANISTER
FLOOR STEP
FRAME
FRONT BRAKE CALIPER
FRONT BRAKE MASTER
FRONT COVER
FRONT FENDER
FRONT FORK
FRONT WHEEL
FUEL TANK
GASKET KIT A
GASKET KIT B
HANDLEBAR@HANDLE COVER
HEADLIGHT
INNER BOX
LUGGAGE BOX
MUFFLER
OIL PUMP
PARKING BRAKE
PARKING BRAKE CALIPER
RADIATOR
REAR BRAKE CALIPER
REAR BRAKE MASTER
REAR BRAKE PIPE (FSC600A)
REAR SHOCK ABSORBER
REAR WHEEL
RIGHT CRANKCASE COVER
SEAT
STAND
STARTER MOTOR
STARTING CLUTCH
STEERING STEM
SWINGARM
SWITCH@CABLE@MIRROR
TAILLIGHT@REAR FENDER
THROTTLE BODY
TOOLS
TRANSMISSION
TURN SIGNAL
WATER PUMP
WIRE HARNESS
VIEW WISH LIST