Polaris
Browse New Models
Shop In-Stock
Honda
Browse New Models
Shop In-Stock
KTM
Browse New Models
Shop In-Stock
Beta
Browse New Models
Shop In-Stock
Timbersled
Browse New Models
1318 W 2nd St
,
The Dalles, OR
97058
541-298-1161
Search Inventory
Toggle navigation
Home
Brands
Inventory
All Inventory In Stock
New Inventory In Stock
Pre-Owned Inventory
Polaris Off-Road
Polaris Snowmobiles
Timbersled
Manufacturer Models
Value Your Trade-In
Request a Model
Government Purchasing Program
OEM Promotions
Secure Financing
Parts
Parts Department
Parts Finder
Shopping Cart
Service
Service Department
Warranty & Recall Look-Up
Schedule Polaris Service
Financing
About
Our Dealership
Our Team
Reviews
Customer Survey
Employment
Location & Hours
Contact
541-298-1161
The Dalles, OR
Fiche | Parts Diagrams
Home
›
Parts
›
Parts Finder
Search by :
Part / Desc
VIN
Please Select
Honda
KTM
Polaris
*Please enter at least 3 characters
SEARCH
Manufacturer
Honda
Scooters
2016
PCX150 AC
VIEW WISH LIST
Select a Section
Show/Hide
ACCESSORIES
AIR CLEANER
ALTERNATOR STATOR
BATTERY
BODY COVER
BRAKE MASTER CYLINDER
CAM CHAIN@TENSIONER
CAMSHAFT@VALVE
CANISTER
CAUTION LABEL
CRANKSHAFT@PISTON
CYLINDER
CYLINDER HEAD
CYLINDER HEAD COVER
DRIVE FACE
DRIVEN FACE
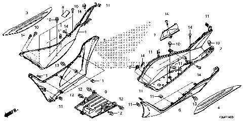
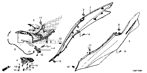
FLOOR STEP
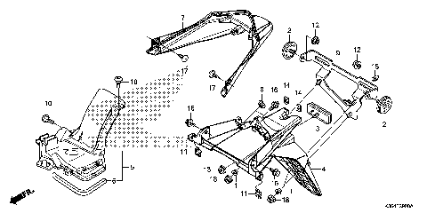
FRAME
FRONT BRAKE CALIPER
FRONT BRAKE MASTER
FRONT COVER
FRONT FENDER
FRONT FORK
FRONT WHEEL
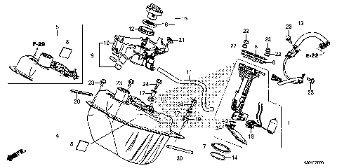
FUEL TANK
GASKET KIT A
GASKET KIT B
HANDLE LEVER@SWITCH@CABLE
HANDLEBAR@HANDLE COVER
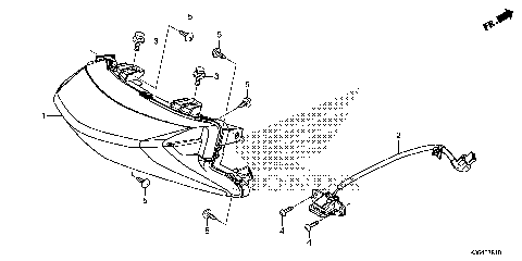
HEADLIGHT
INNER COVER
LEFT CRANKCASE
LEFT SIDE COVER
LUGGAGE BOX
MARK@EMBLEM
MIRROR
MUFFLER
OIL PUMP
PILLION STEP
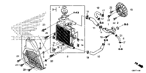
RADIATOR
REAR COMBINATION LIGHT
REAR FENDER
REAR SHOCK ABSORBER
REAR WHEEL@SWINGARM
RESERVE TANK
RIGHT CRANKCASE
SEAT
SPEEDOMETER
STAND
STEERING STEM
THROTTLE BODY@FUEL
TOOLS
TRANSMISSION
WATER PUMP
WIRE HARNESS
ACCESSORIES
AIR CLEANER
ALTERNATOR STATOR
BATTERY
BODY COVER
BRAKE MASTER CYLINDER
CAM CHAIN@TENSIONER
CAMSHAFT@VALVE
CANISTER
CAUTION LABEL
CRANKSHAFT@PISTON
CYLINDER
CYLINDER HEAD
CYLINDER HEAD COVER
DRIVE FACE
DRIVEN FACE
FLOOR STEP
FRAME
FRONT BRAKE CALIPER
FRONT BRAKE MASTER
FRONT COVER
FRONT FENDER
FRONT FORK
FRONT WHEEL
FUEL TANK
GASKET KIT A
GASKET KIT B
HANDLE LEVER@SWITCH@CABLE
HANDLEBAR@HANDLE COVER
HEADLIGHT
INNER COVER
LEFT CRANKCASE
LEFT SIDE COVER
LUGGAGE BOX
MARK@EMBLEM
MIRROR
MUFFLER
OIL PUMP
PILLION STEP
RADIATOR
REAR COMBINATION LIGHT
REAR FENDER
REAR SHOCK ABSORBER
REAR WHEEL@SWINGARM
RESERVE TANK
RIGHT CRANKCASE
SEAT
SPEEDOMETER
STAND
STEERING STEM
THROTTLE BODY@FUEL
TOOLS
TRANSMISSION
WATER PUMP
WIRE HARNESS
VIEW WISH LIST