Polaris
Browse New Models
Shop In-Stock
Honda
Browse New Models
Shop In-Stock
KTM
Browse New Models
Shop In-Stock
Beta
Browse New Models
Shop In-Stock
Timbersled
Browse New Models
1318 W 2nd St
,
The Dalles, OR
97058
541-298-1161
Search Inventory
Toggle navigation
Home
Brands
Inventory
All Inventory In Stock
New Inventory In Stock
Pre-Owned Inventory
Polaris Off-Road
Polaris Snowmobiles
Timbersled
Manufacturer Models
Value Your Trade-In
Request a Model
Government Purchasing Program
OEM Promotions
Secure Financing
Parts
Parts Department
Parts Finder
Shopping Cart
Service
Service Department
Warranty & Recall Look-Up
Schedule Polaris Service
Financing
About
Our Dealership
Our Team
Reviews
Customer Survey
Employment
Location & Hours
Contact
541-298-1161
The Dalles, OR
Fiche | Parts Diagrams
Home
›
Parts
›
Parts Finder
Search by :
Part / Desc
VIN
Please Select
Honda
KTM
Polaris
*Please enter at least 3 characters
SEARCH
Manufacturer
Honda
Scooters
2022
NPS50 2AC
VIEW WISH LIST
Select a Section
Show/Hide
AIR CLEANER
ALTERNATOR STATOR
CAM CHAIN@TENSIONER
CAMSHAFT@VALVE
CARBURETOR
CAUTION LABELS
COOLING FAN@RADIATOR
CRANKCASE
CRANKSHAFT
CYLINDER HEAD
CYLINDER HEAD COVER
DRIVE FACE@KICK STARTER
DRIVEN FACE
FLOOR STEP
FRAME
FRONT COVER@BATTERY
FRONT FENDER
FRONT FORK@STEERING STEM
FRONT WHEEL
FUEL TANK
GASKET KIT A
GASKET KIT B
HANDLE LEVER@SWITCH@CABLE
HANDLEBAR
HEADLIGHT
MARKS
MUFFLER
OIL PUMP
RADIATOR
REAR FENDER
REAR SHOCK ABSORBER
REAR WHEEL
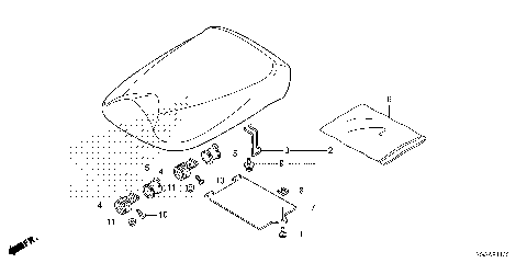
SEAT
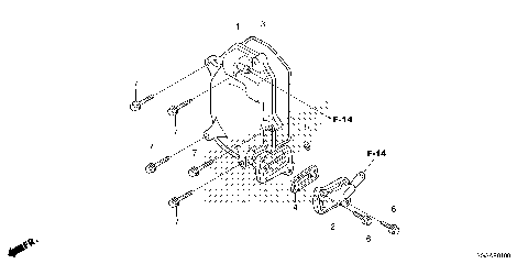
SPEEDOMETER
STAND@KICK STARTER ARM
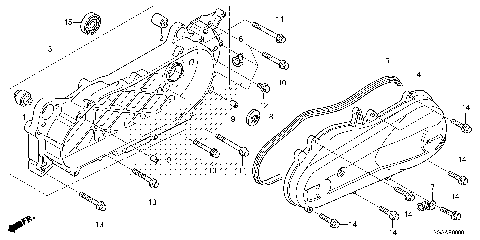
SWINGARM@LEFT SIDE COVER
TAILLIGHT
TOOLS
TRANSMISSION
TURN SIGNAL
VENTILATION VALVE
WATER PUMP
WIRE HARNESS
AIR CLEANER
ALTERNATOR STATOR
CAM CHAIN@TENSIONER
CAMSHAFT@VALVE
CARBURETOR
CAUTION LABELS
COOLING FAN@RADIATOR
CRANKCASE
CRANKSHAFT
CYLINDER HEAD
CYLINDER HEAD COVER
DRIVE FACE@KICK STARTER
DRIVEN FACE
FLOOR STEP
FRAME
FRONT COVER@BATTERY
FRONT FENDER
FRONT FORK@STEERING STEM
FRONT WHEEL
FUEL TANK
GASKET KIT A
GASKET KIT B
HANDLE LEVER@SWITCH@CABLE
HANDLEBAR
HEADLIGHT
MARKS
MUFFLER
OIL PUMP
RADIATOR
REAR FENDER
REAR SHOCK ABSORBER
REAR WHEEL
SEAT
SPEEDOMETER
STAND@KICK STARTER ARM
SWINGARM@LEFT SIDE COVER
TAILLIGHT
TOOLS
TRANSMISSION
TURN SIGNAL
VENTILATION VALVE
WATER PUMP
WIRE HARNESS
VIEW WISH LIST