Polaris
Browse New Models
Shop In-Stock
Honda
Browse New Models
Shop In-Stock
KTM
Browse New Models
Shop In-Stock
Beta
Browse New Models
Shop In-Stock
Timbersled
Browse New Models
1318 W 2nd St
,
The Dalles, OR
97058
541-298-1161
Search Inventory
Toggle navigation
Home
Brands
Inventory
All Inventory In Stock
New Inventory In Stock
Pre-Owned Inventory
Polaris Off-Road
Polaris Snowmobiles
Timbersled
Manufacturer Models
Value Your Trade-In
Request a Model
Government Purchasing Program
OEM Promotions
Secure Financing
Parts
Parts Department
Parts Finder
Shopping Cart
Service
Service Department
Warranty & Recall Look-Up
Schedule Polaris Service
Financing
About
Our Dealership
Our Team
Reviews
Customer Survey
Employment
Location & Hours
Contact
541-298-1161
The Dalles, OR
Fiche | Parts Diagrams
Home
›
Parts
›
Parts Finder
Search by :
Part / Desc
VIN
Please Select
Honda
KTM
Polaris
*Please enter at least 3 characters
SEARCH
Manufacturer
Honda
Utility Vehicles
2013
MUV700 2AC
VIEW WISH LIST
Select a Section
Show/Hide
ACCESSORIES
AIR CLEANER
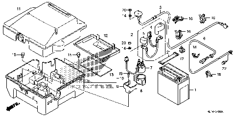
BATTERY
BED
BED PLATE@REAR GATE
BRAKE PIPE
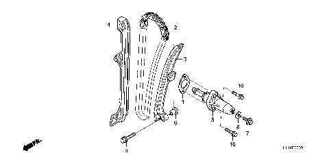
CAM CHAIN@TENSIONER
CAMSHAFT@VALVE
CAUTION LABEL
CLUTCH (2-3)
CLUTCH (LOW)
CRANKCASE
CRANKSHAFT@PISTON
CYLINDER
CYLINDER HEAD
DOOR
FINAL DRIVEN GEAR
FINAL SHAFT
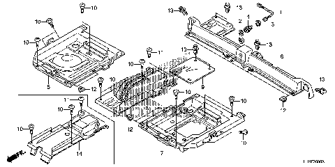
FRAME
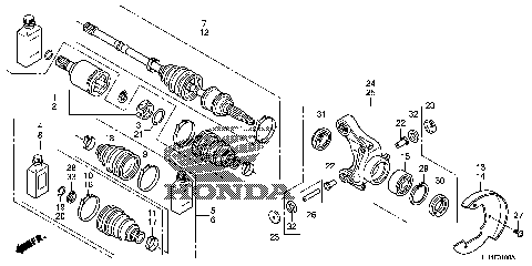
FRONT ARM
FRONT BRAKE CALIPER
FRONT BRAKE MASTER
FRONT BUMPER
FRONT CRANKCASE COVER
FRONT CUSHION
FRONT FINAL GEAR
FRONT HOOD
FRONT KNUCKLE@DRIVESHAFT
FUEL PUMP
FUEL TANK
GASKET KIT A
GASKET KIT B
GEARSHIFT FORK
GENERATOR
HEADLIGHT
INSTRUMENT PANEL
MAIN VALVE BODY
MARK
MIDDLE FENDER
MUFFLER
OIL COOLER
OIL PUMP
PARKING BRAKE
PEDAL
PROPELLER SHAFT
RADIATOR
REAR ARM
REAR BRAKE CALIPER
REAR CRANKCASE COVER
REAR KNUCKLE@REAR
REAR SHOCK ABSORBER
REVERSE GEAR
ROLL BAR
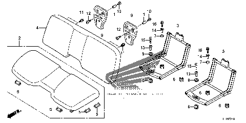
SEAT (2)
SEAT BELTS
SEAT BOTTOM COVER
SHIFT LEVER@SELECT LEVER
STARTER MOTOR (1)
STARTING GEAR
STARTING MOTOR (2)
STEERING GEAR BOX@TIE ROD
STEERING WHEEL@STEERING
SWITCH@INDICATOR
TAILLIGHT
THROTTLE BODY
TOOLS
TORQUE CONVERTER
TRANSMISSION
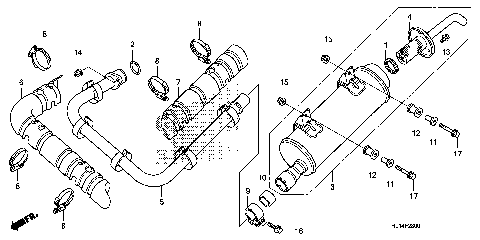
WATER PIPE@WATER HOSE
WATER PUMP
WHEEL
WIRE HARNESS
ACCESSORIES
AIR CLEANER
BATTERY
BED
BED PLATE@REAR GATE
BRAKE PIPE
CAM CHAIN@TENSIONER
CAMSHAFT@VALVE
CAUTION LABEL
CLUTCH (2-3)
CLUTCH (LOW)
CRANKCASE
CRANKSHAFT@PISTON
CYLINDER
CYLINDER HEAD
DOOR
FINAL DRIVEN GEAR
FINAL SHAFT
FRAME
FRONT ARM
FRONT BRAKE CALIPER
FRONT BRAKE MASTER
FRONT BUMPER
FRONT CRANKCASE COVER
FRONT CUSHION
FRONT FINAL GEAR
FRONT HOOD
FRONT KNUCKLE@DRIVESHAFT
FUEL PUMP
FUEL TANK
GASKET KIT A
GASKET KIT B
GEARSHIFT FORK
GENERATOR
HEADLIGHT
INSTRUMENT PANEL
MAIN VALVE BODY
MARK
MIDDLE FENDER
MUFFLER
OIL COOLER
OIL PUMP
PARKING BRAKE
PEDAL
PROPELLER SHAFT
RADIATOR
REAR ARM
REAR BRAKE CALIPER
REAR CRANKCASE COVER
REAR KNUCKLE@REAR
REAR SHOCK ABSORBER
REVERSE GEAR
ROLL BAR
SEAT (2)
SEAT BELTS
SEAT BOTTOM COVER
SHIFT LEVER@SELECT LEVER
STARTER MOTOR (1)
STARTING GEAR
STARTING MOTOR (2)
STEERING GEAR BOX@TIE ROD
STEERING WHEEL@STEERING
SWITCH@INDICATOR
TAILLIGHT
THROTTLE BODY
TOOLS
TORQUE CONVERTER
TRANSMISSION
WATER PIPE@WATER HOSE
WATER PUMP
WHEEL
WIRE HARNESS
VIEW WISH LIST