Polaris
Browse New Models
Shop In-Stock
Honda
Browse New Models
Shop In-Stock
KTM
Browse New Models
Shop In-Stock
Beta
Browse New Models
Shop In-Stock
Timbersled
Browse New Models
1318 W 2nd St
,
The Dalles, OR
97058
541-298-1161
Search Inventory
Toggle navigation
Home
Brands
Inventory
All Inventory In Stock
New Inventory In Stock
Pre-Owned Inventory
Polaris Off-Road
Polaris Snowmobiles
Timbersled
Manufacturer Models
Value Your Trade-In
Request a Model
Government Purchasing Program
OEM Promotions
Secure Financing
Parts
Parts Department
Parts Finder
Shopping Cart
Service
Service Department
Warranty & Recall Look-Up
Schedule Polaris Service
Financing
About
Our Dealership
Our Team
Reviews
Customer Survey
Employment
Location & Hours
Contact
541-298-1161
The Dalles, OR
Fiche | Parts Diagrams
Home
›
Parts
›
Parts Finder
Search by :
Part / Desc
VIN
Please Select
Honda
KTM
Polaris
*Please enter at least 3 characters
SEARCH
Manufacturer
Honda
Utility Vehicles
2018
SXS700M4D 2AC
VIEW WISH LIST
Select a Section
Show/Hide
2-PIECE POLY WINDSCREEN
ACCESSORIES
AIR CLEANER
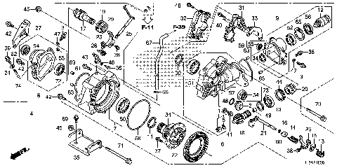
ALTERNATOR
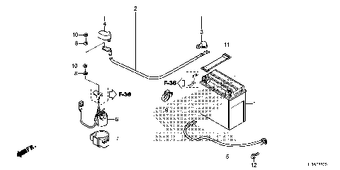
BATTERY
BED
BED PLATE@REAR GATE (2)
BRAKE MASTER CYLINDER
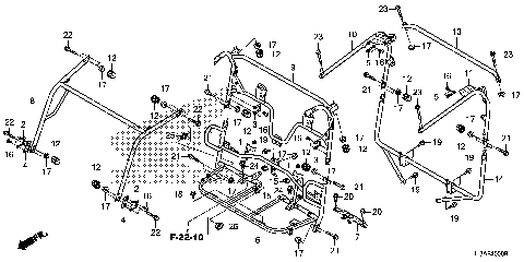
BRAKE PIPE
CAM CHAIN@TENSIONER
CAMSHAFT@VALVE
CANISTER
CAUTION LABEL
CLUTCH (2-3)
CLUTCH (LOW)
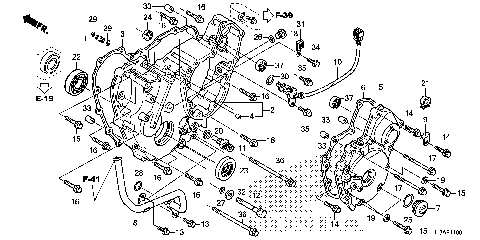
CRANKCASE
CRANKSHAFT@PISTON
CYLINDER
CYLINDER HEAD
FINAL DRIVEN GEAR
FINAL SHAFT
FRAME
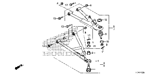
FRONT ARM
FRONT BRAKE CALIPER
FRONT CRANKCASE COVER
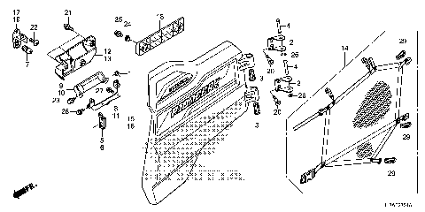
FRONT DOOR
FRONT FENDER@HOOD
FRONT FINAL GEAR
FRONT GRILLE@FRONT BUMPER
FRONT KNUCKLE@DRIVESHAFT
FRONT SEAT
FRONT SHOCK ABSORBER
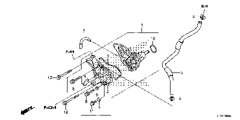
FUEL PUMP
FUEL TANK
GASKET KIT A
GASKET KIT B
GEARSHIFT FORK
HARD FRONT DOORS
HARD ROOF (4P)
HEADLIGHT
INSTRUMENT PANEL
MAIN VALVE BODY
MARK
MUFFLER
OIL COOLER
OIL PUMP
PARKING BRAKE
PEDAL
PROPELLER SHAFT
RADIATOR
REAR ARM
REAR BRAKE CALIPER
REAR CRANKCASE COVER
REAR DOOR
REAR KNUCKLE@REAR
REAR SEAT
REAR SHOCK ABSORBER
REVERSE GEAR
ROLL BAR
SEAT BELT
SEAT BOTTOM COVER
SHIFT LEVER@SELECT LEVER
SIDE COVER
STARTING GEAR
STARTING MOTOR (1)
STARTING MOTOR (2)
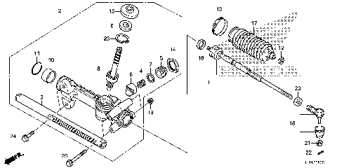
STEERING GEAR BOX@TIE ROD
STEERING WHEEL@STEERING
SWITCH@METER
TAILLIGHT
THROTTLE BODY
TOOL
TORQUE CONVERTER
TRANSMISSION
WATER PIPE@WATER HOSE
WATER PUMP
WHEEL
WINDSHIELD WIPER KIT
WIRE HARNESS
2-PIECE POLY WINDSCREEN
ACCESSORIES
AIR CLEANER
ALTERNATOR
BATTERY
BED
BED PLATE@REAR GATE (2)
BRAKE MASTER CYLINDER
BRAKE PIPE
CAM CHAIN@TENSIONER
CAMSHAFT@VALVE
CANISTER
CAUTION LABEL
CLUTCH (2-3)
CLUTCH (LOW)
CRANKCASE
CRANKSHAFT@PISTON
CYLINDER
CYLINDER HEAD
FINAL DRIVEN GEAR
FINAL SHAFT
FRAME
FRONT ARM
FRONT BRAKE CALIPER
FRONT CRANKCASE COVER
FRONT DOOR
FRONT FENDER@HOOD
FRONT FINAL GEAR
FRONT GRILLE@FRONT BUMPER
FRONT KNUCKLE@DRIVESHAFT
FRONT SEAT
FRONT SHOCK ABSORBER
FUEL PUMP
FUEL TANK
GASKET KIT A
GASKET KIT B
GEARSHIFT FORK
HARD FRONT DOORS
HARD ROOF (4P)
HEADLIGHT
INSTRUMENT PANEL
MAIN VALVE BODY
MARK
MUFFLER
OIL COOLER
OIL PUMP
PARKING BRAKE
PEDAL
PROPELLER SHAFT
RADIATOR
REAR ARM
REAR BRAKE CALIPER
REAR CRANKCASE COVER
REAR DOOR
REAR KNUCKLE@REAR
REAR SEAT
REAR SHOCK ABSORBER
REVERSE GEAR
ROLL BAR
SEAT BELT
SEAT BOTTOM COVER
SHIFT LEVER@SELECT LEVER
SIDE COVER
STARTING GEAR
STARTING MOTOR (1)
STARTING MOTOR (2)
STEERING GEAR BOX@TIE ROD
STEERING WHEEL@STEERING
SWITCH@METER
TAILLIGHT
THROTTLE BODY
TOOL
TORQUE CONVERTER
TRANSMISSION
WATER PIPE@WATER HOSE
WATER PUMP
WHEEL
WINDSHIELD WIPER KIT
WIRE HARNESS
VIEW WISH LIST