Polaris
Browse New Models
Shop In-Stock
Honda
Browse New Models
Shop In-Stock
KTM
Browse New Models
Shop In-Stock
Beta
Browse New Models
Shop In-Stock
Timbersled
Browse New Models
1318 W 2nd St
,
The Dalles, OR
97058
541-298-1161
Search Inventory
Toggle navigation
Home
Brands
Inventory
All Inventory In Stock
New Inventory In Stock
Pre-Owned Inventory
Polaris Off-Road
Polaris Snowmobiles
Timbersled
Manufacturer Models
Value Your Trade-In
Request a Model
Government Purchasing Program
OEM Promotions
Secure Financing
Parts
Parts Department
Parts Finder
Shopping Cart
Service
Service Department
Warranty & Recall Look-Up
Schedule Polaris Service
Financing
About
Our Dealership
Our Team
Reviews
Customer Survey
Employment
Location & Hours
Contact
541-298-1161
The Dalles, OR
Fiche | Parts Diagrams
Home
›
Parts
›
Parts Finder
Search by :
Part / Desc
VIN
Please Select
Honda
KTM
Polaris
*Please enter at least 3 characters
SEARCH
Manufacturer
Honda
Utility Vehicles
2020
SXS1000M3P A
VIEW WISH LIST
Select a Section
Show/Hide
AIR CLEANER
ALTERNATOR
ALTERNATOR COVER
BATTERY
BED
BED PLATE@REAR GATE (1)
BRAKE PIPE (1)
CAM CHAIN@TENSIONER
CAMSHAFT@VALVE
CAUTION LABEL
CLUTCH
CONTROL MOTOR
CRANKCASE
CRANKSHAFT@PISTON
CYLINDER HEAD
EVAP CANISTER
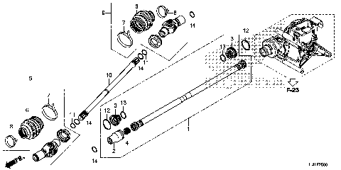
FINAL DRIVE SHAFT
FINAL DRIVEN GEAR
FINAL DRIVEN SHAFT
FLOOR COVER
FRAME
FRONT ARM
FRONT BRAKE CALIPER
FRONT BRAKE MASTER
FRONT CUSHION (1)
FRONT DOOR
FRONT FENDER@HOOD
FRONT FINAL GEAR (1)
FRONT GRILLE@FRONT BUMPER
FRONT KNUCKLE@DRIVESHAFT
FRONT SEAT
FUEL PUMP
FUEL TANK
GASKET KIT A
GASKET KIT B
GEARSHIFT FORK
GEARSHIFT FORK (SUB
HEADLIGHT (1)
INSTRUMENT PANEL
MARK
METER@SWITCH (1)
MUFFLER
OIL COOLER
OIL PAN
OIL PUMP
PEDAL
PROPELLER SHAFT
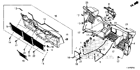
RADIATOR
REAR ARM@REAR STABILIZER
REAR BRAKE CALIPER
REAR KNUCKLE@REAR
REAR SHOCK ABSORBER (1)
ROLL BAR
SEAT BELT
SEAT BOTTOM COVER
SHIFT LEVER@SELECT LEVER
SIDE COVER
SKID PLATE
SOLENOID VALVE
STARTING CLUTCH
STARTING MOTOR
STEERING GEAR BOX@TIE ROD
STEERING SHAFT (EPS)
STEERING WHEEL
SUB-TRANSMISSION CASE
TAILLIGHT
THROTTLE BODY
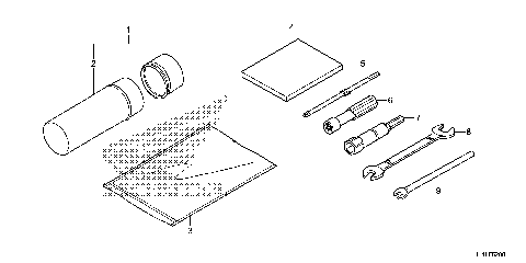
TOOLS
TRANSMISSION
WATER HOSE@THERMOSTAT
WATER PIPE@WATER HOSE
WHEEL
WIRE HARNESS
AIR CLEANER
ALTERNATOR
ALTERNATOR COVER
BATTERY
BED
BED PLATE@REAR GATE (1)
BRAKE PIPE (1)
CAM CHAIN@TENSIONER
CAMSHAFT@VALVE
CAUTION LABEL
CLUTCH
CONTROL MOTOR
CRANKCASE
CRANKSHAFT@PISTON
CYLINDER HEAD
EVAP CANISTER
FINAL DRIVE SHAFT
FINAL DRIVEN GEAR
FINAL DRIVEN SHAFT
FLOOR COVER
FRAME
FRONT ARM
FRONT BRAKE CALIPER
FRONT BRAKE MASTER
FRONT CUSHION (1)
FRONT DOOR
FRONT FENDER@HOOD
FRONT FINAL GEAR (1)
FRONT GRILLE@FRONT BUMPER
FRONT KNUCKLE@DRIVESHAFT
FRONT SEAT
FUEL PUMP
FUEL TANK
GASKET KIT A
GASKET KIT B
GEARSHIFT FORK
GEARSHIFT FORK (SUB
HEADLIGHT (1)
INSTRUMENT PANEL
MARK
METER@SWITCH (1)
MUFFLER
OIL COOLER
OIL PAN
OIL PUMP
PEDAL
PROPELLER SHAFT
RADIATOR
REAR ARM@REAR STABILIZER
REAR BRAKE CALIPER
REAR KNUCKLE@REAR
REAR SHOCK ABSORBER (1)
ROLL BAR
SEAT BELT
SEAT BOTTOM COVER
SHIFT LEVER@SELECT LEVER
SIDE COVER
SKID PLATE
SOLENOID VALVE
STARTING CLUTCH
STARTING MOTOR
STEERING GEAR BOX@TIE ROD
STEERING SHAFT (EPS)
STEERING WHEEL
SUB-TRANSMISSION CASE
TAILLIGHT
THROTTLE BODY
TOOLS
TRANSMISSION
WATER HOSE@THERMOSTAT
WATER PIPE@WATER HOSE
WHEEL
WIRE HARNESS
VIEW WISH LIST