Polaris
Browse New Models
Shop In-Stock
Honda
Browse New Models
Shop In-Stock
KTM
Browse New Models
Shop In-Stock
Beta
Browse New Models
Shop In-Stock
Timbersled
Browse New Models
1318 W 2nd St
,
The Dalles, OR
97058
541-298-1161
Search Inventory
Toggle navigation
Home
Brands
Inventory
All Inventory In Stock
New Inventory In Stock
Pre-Owned Inventory
Polaris Off-Road
Polaris Snowmobiles
Timbersled
Manufacturer Models
Value Your Trade-In
Request a Model
Government Purchasing Program
OEM Promotions
Secure Financing
Parts
Parts Department
Parts Finder
Shopping Cart
Service
Service Department
Warranty & Recall Look-Up
Schedule Polaris Service
Financing
About
Our Dealership
Our Team
Reviews
Customer Survey
Employment
Location & Hours
Contact
541-298-1161
The Dalles, OR
Fiche | Parts Diagrams
Home
›
Parts
›
Parts Finder
Search by :
Part / Desc
VIN
Please Select
Honda
KTM
Polaris
*Please enter at least 3 characters
SEARCH
Manufacturer
Honda
Utility Vehicles
2021
SXS1000S2R AC
VIEW WISH LIST
Select a Section
Show/Hide
ACCESSORIES
AIR CLEANER
ALTERNATOR
ALTERNATOR COVER
BATTERY
BED PLATE
BRAKE MASTER CYLINDER
BRAKE PIPE@BRAKE HOSE (1)
CAM CHAIN@TENSIONER
CAMSHAFT@VALVE
CAUTION LABELS
CLUTCH
CONTROL MOTOR
CRANKCASE
CRANKSHAFT@PISTON
CYLINDER HEAD
DOOR
EVAP CANISTER
FINAL DRIVE SHAFT
FINAL DRIVEN SHAFT
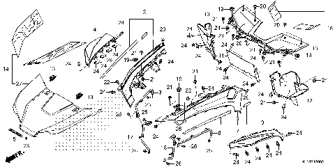
FLOOR COVER@CONSOLE
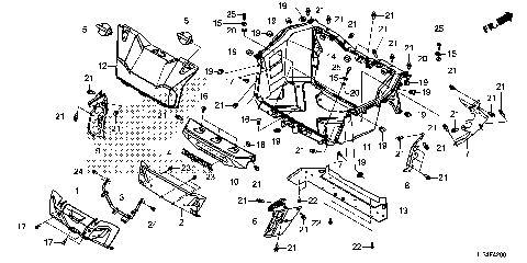
FRAME
FRONT ARM
FRONT BRAKE CALIPER
FRONT CUSHION (1)
FRONT FENDER@HOOD
FRONT FINAL GEAR
FRONT GRILLE@BUMPER (1)
FRONT KNUCKLE@DRIVESHAFT
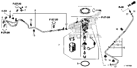
FUEL PUMP
FUEL TANK
GASKET KIT A
GASKET KIT B
GEARSHIFT FORK (1)
GEARSHIFT FORK (2)
HEADLIGHT (1)
INSTRUMENT PANEL
MARKS (1)
METER@SWITCH (1)
MUFFLER
OIL COOLER
OIL PAN
OIL PUMP
PEDAL
PROPELLER SHAFT
RADIATOR
REAR ARM@REAR STABILIZER
REAR BRAKE CALIPER
REAR FENDER
REAR FINAL GEAR
REAR KNUCKLE@REAR
REAR SHOCK ABSORBER
ROLL BAR@ROOF
SEAT
SEAT BELT
SEAT BOTTOM COVER
SELECT LEVER
SIDE COVER
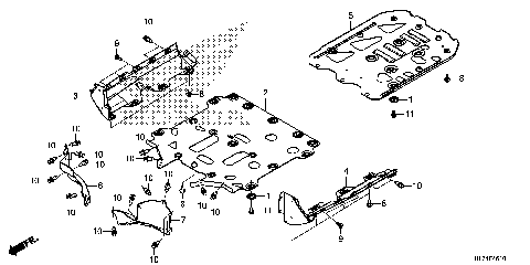
SKID PLATE
SOLENOID VALVE
STARTING CLUTCH
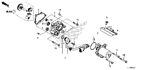
STARTING MOTOR
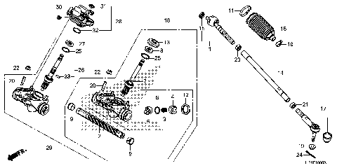
STEERING GEAR BOX@TIE ROD
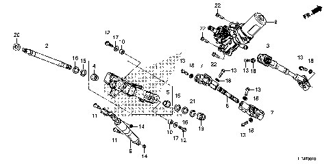
STEERING SHAFT@STEERING
STEERING WHEEL
SUB-TRANSMISSION CASE
TAILLIGHT
THROTTLE BODY
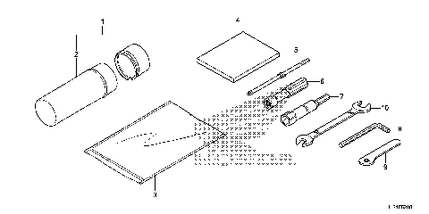
TOOL
TRANSMISSION
VSA MODULATOR (1)
WATER HOSE@THERMOSTAT
WATER PIPE@WATER HOSE
WHEEL
WIRE HARNESS
ACCESSORIES
AIR CLEANER
ALTERNATOR
ALTERNATOR COVER
BATTERY
BED PLATE
BRAKE MASTER CYLINDER
BRAKE PIPE@BRAKE HOSE (1)
CAM CHAIN@TENSIONER
CAMSHAFT@VALVE
CAUTION LABELS
CLUTCH
CONTROL MOTOR
CRANKCASE
CRANKSHAFT@PISTON
CYLINDER HEAD
DOOR
EVAP CANISTER
FINAL DRIVE SHAFT
FINAL DRIVEN SHAFT
FLOOR COVER@CONSOLE
FRAME
FRONT ARM
FRONT BRAKE CALIPER
FRONT CUSHION (1)
FRONT FENDER@HOOD
FRONT FINAL GEAR
FRONT GRILLE@BUMPER (1)
FRONT KNUCKLE@DRIVESHAFT
FUEL PUMP
FUEL TANK
GASKET KIT A
GASKET KIT B
GEARSHIFT FORK (1)
GEARSHIFT FORK (2)
HEADLIGHT (1)
INSTRUMENT PANEL
MARKS (1)
METER@SWITCH (1)
MUFFLER
OIL COOLER
OIL PAN
OIL PUMP
PEDAL
PROPELLER SHAFT
RADIATOR
REAR ARM@REAR STABILIZER
REAR BRAKE CALIPER
REAR FENDER
REAR FINAL GEAR
REAR KNUCKLE@REAR
REAR SHOCK ABSORBER
ROLL BAR@ROOF
SEAT
SEAT BELT
SEAT BOTTOM COVER
SELECT LEVER
SIDE COVER
SKID PLATE
SOLENOID VALVE
STARTING CLUTCH
STARTING MOTOR
STEERING GEAR BOX@TIE ROD
STEERING SHAFT@STEERING
STEERING WHEEL
SUB-TRANSMISSION CASE
TAILLIGHT
THROTTLE BODY
TOOL
TRANSMISSION
VSA MODULATOR (1)
WATER HOSE@THERMOSTAT
WATER PIPE@WATER HOSE
WHEEL
WIRE HARNESS
VIEW WISH LIST