Polaris
Browse New Models
Shop In-Stock
Honda
Browse New Models
Shop In-Stock
KTM
Browse New Models
Shop In-Stock
Beta
Browse New Models
Shop In-Stock
Timbersled
Browse New Models
1318 W 2nd St
,
The Dalles, OR
97058
541-298-1161
Search Inventory
Toggle navigation
Home
Brands
Inventory
All Inventory In Stock
New Inventory In Stock
Pre-Owned Inventory
Polaris Off-Road
Polaris Snowmobiles
Timbersled
Manufacturer Models
Value Your Trade-In
Request a Model
Government Purchasing Program
OEM Promotions
Secure Financing
Parts
Parts Department
Parts Finder
Shopping Cart
Service
Service Department
Warranty & Recall Look-Up
Schedule Polaris Service
Financing
About
Our Dealership
Our Team
Reviews
Customer Survey
Employment
Location & Hours
Contact
541-298-1161
The Dalles, OR
Fiche | Parts Diagrams
Home
›
Parts
›
Parts Finder
Search by :
Part / Desc
VIN
Please Select
Honda
KTM
Polaris
*Please enter at least 3 characters
SEARCH
Manufacturer
KTM
Motorcycles
2016
2016 1190 ADVENTURE GREY CHASSIS
VIEW WISH LIST
Select a Section
Show/Hide
ACCESSORIES KIT
AIR FILTER
ANTILOCK BRAKING SYSTEM ABS
BRAKE CALIPER FRONT
BRAKE CALIPER REAR
DECAL
EV APORATE CANISTER
EXHAUST SYSTEM
FRAME
FRONT FORK DISASSEMBLED
FRONT FORK, TRIPLE CLAMP
FRONT WHEEL
FUEL PUMP
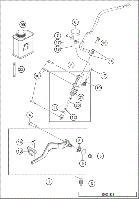
HAND BRAKE CYLINDER
HANDLEBAR, CONTROLS
INSTRUMENTS / LOCKSYSTEM
LIGHTING SYSTEM
MASK, FENDER
REAR BRAKE CONTROL
REAR WHEEL
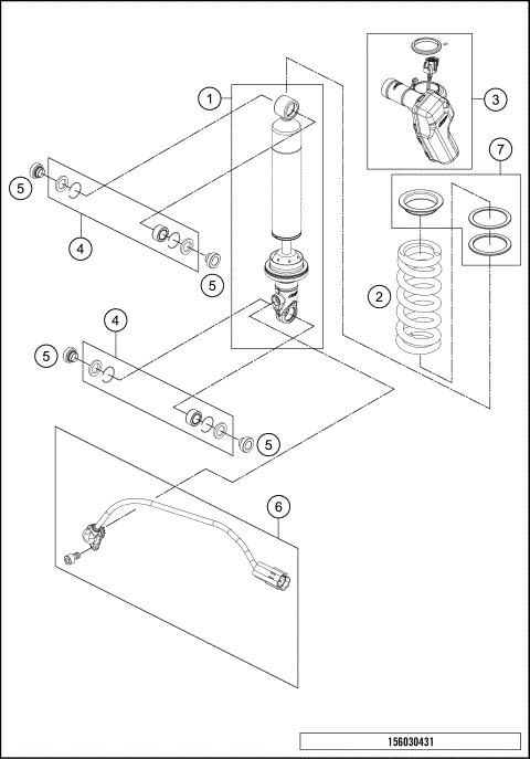
SHOCK ABSORBER
SHOCK ABSORBER DISASSEMBLED
SIDE/ CENTER ST AND
SWING ARM
T ANK, SEA T , COVER
WIRING HARNESS
WP SHIMS FOR SETTING
ACCESSORIES KIT
AIR FILTER
ANTILOCK BRAKING SYSTEM ABS
BRAKE CALIPER FRONT
BRAKE CALIPER REAR
DECAL
EV APORATE CANISTER
EXHAUST SYSTEM
FRAME
FRONT FORK DISASSEMBLED
FRONT FORK, TRIPLE CLAMP
FRONT WHEEL
FUEL PUMP
HAND BRAKE CYLINDER
HANDLEBAR, CONTROLS
INSTRUMENTS / LOCKSYSTEM
LIGHTING SYSTEM
MASK, FENDER
REAR BRAKE CONTROL
REAR WHEEL
SHOCK ABSORBER
SHOCK ABSORBER DISASSEMBLED
SIDE/ CENTER ST AND
SWING ARM
T ANK, SEA T , COVER
WIRING HARNESS
WP SHIMS FOR SETTING
VIEW WISH LIST