Polaris
Browse New Models
Shop In-Stock
Honda
Browse New Models
Shop In-Stock
KTM
Browse New Models
Shop In-Stock
Beta
Browse New Models
Shop In-Stock
Timbersled
Browse New Models
1318 W 2nd St
,
The Dalles, OR
97058
541-298-1161
Search Inventory
Toggle navigation
Home
Brands
Inventory
All Inventory In Stock
New Inventory In Stock
Pre-Owned Inventory
Polaris Off-Road
Polaris Snowmobiles
Timbersled
Manufacturer Models
Value Your Trade-In
Request a Model
Government Purchasing Program
OEM Promotions
Secure Financing
Parts
Parts Department
Parts Finder
Shopping Cart
Service
Service Department
Warranty & Recall Look-Up
Schedule Polaris Service
Financing
About
Our Dealership
Our Team
Reviews
Customer Survey
Employment
Location & Hours
Contact
541-298-1161
The Dalles, OR
Fiche | Parts Diagrams
Home
›
Parts
›
Parts Finder
Search by :
Part / Desc
VIN
Please Select
Honda
KTM
Polaris
*Please enter at least 3 characters
SEARCH
Manufacturer
Polaris
ATVs
2007
HAWKEYE 2X4/4X4 INTL (A07LB27FA/LH27FB)
VIEW WISH LIST
Select a Section
Show/Hide
AIRBOX - A07LB27FA/LH27FB (49ATVAIRBOX07HAWK)
BRAKE CALIPER MOUNTING - A07LB27FA/LH27FB (49ATVCALIPERMTG07HAWKI)
BRAKE CALIPERS, FRONT and REAR - A07LB27FA/LH27FB (49ATVCALIPERPRED500)
BRAKE LINE, FRONT - A07LB27FA/LH27FB (49ATVBRAKELINE07HAWKI)
BRAKE LINES, REAR - A07LB27FA/LH27FB (49ATVBRAKELINERR07HAWKI)
BRAKE, DISTRIBUTION BLOCK - A07LB27FA/LH27FB (49ATVBRAKEDIST07HAWKI)
BRAKE, FOOT - A07LB27FA/LH27FB (49ATVBRAKEFOOT07HAWKI)
BRAKE, HAND - A07LB27FA/LH27FB (4999204069920406B08)
BUMPER, FRONT - A07LB27FA/LH27FB (49ATVBUMPER07HAWKI)
CAB, FRONT - A07LB27FA/LH27FB (49ATVCAB07HAWKI)
CAB, REAR, FOIL - A07LB27FA/LH27FB (49ATVCABFOIL07HAWK)
CAB, REAR, FRAME, and FOOTWELLS - A07LB27FA/LH27FB (49ATVCABRR07HAWKI)
CLUTCH, COVER and DUCTING - A07LB27FA/LH27FB (4999202079920207C04)
CLUTCH, DRIVE - A07LB27FA/LH27FB (4999202079920207C02)
CLUTCH, DRIVEN - A07LB27FA/LH27FB (4999202079920207C03)
DECALS - A07LB27FA/LH27FB (49ATVDECAL07HAWKI)
ELECTRICAL - A07LB27FA/LH27FB (49ATVELECT07HAWKI)
ENGINE MOUNTING - A07LB27FA/LH27FB (49ATVENGINE07HAWK)
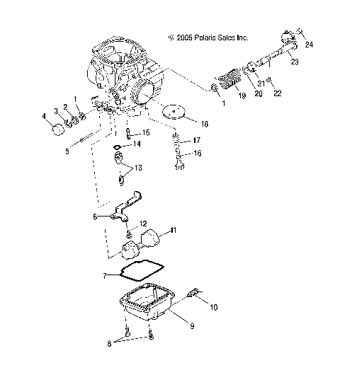
ENGINE, CARBURETOR, LOWER - A07LB27FA/LH27FB (4999202079920207D06)
ENGINE, CARBURETOR, UPPER - A07LB27FA/LH27FB (49ATVCARB07HAWK)
ENGINE, CLUTCH - A07LB27FA/LH27FB (49ATVCLUTCH08SP300)
ENGINE, CRANKCASE - AA07LB27FA/LH27FB (4999202079920207D01)
ENGINE, CRANKSHAFT and PISTON - A07LB27FA/LH27FB (4999202079920207D03)
ENGINE, CYLINDER - A07LB27FA/LH27FB (4999202079920207D02)
ENGINE, FUEL PUMP - A07LB27FA/LH27FB (4999202079920207D12)
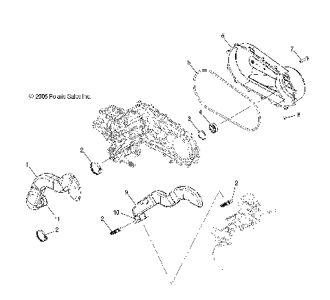
ENGINE, INTAKE and EXHAUST - A07LB27FA/LH27FB (49ATVINTAKE07HAWK)
ENGINE, MAGNETO - A07LB27FA/LH27FB (4999202079920207D09)
ENGINE, OIL PUMP and OIL FILTER - A07LB27FA/LH27FB (4999202079920207D08)
ENGINE, RECOIL STARTER - A07LB27FA/LH27FB (4999202079920207D07)
ENGINE, STARTING MOTOR - A07LB27FA/LH27FB (4999202079920207D10)
EXHAUST - A07LB27FA/LH27FB (49ATVEXHAUST07HAWK)
FUEL SYSTEM - A07LB27FA/LH27FB (49ATVFUEL07HAWKI)
GEAR SELECTOR - A07LB27FA/LH27FB (4999202079920207C01)
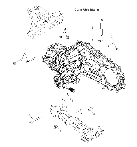
GEARCASE, FRONT (4X4)(DEMAND DRIVE) - A07LH27FB (49ATVGEARCASE08SP300)
GEARCASE, FRONT, MOUNTING - A07LH27FB (4999206689920668D01)
HANDLEBAR and CONTROLS - A07LB27FA/LH27FB (49ATVHANDLEBAR07HAWKI)
HEADLIGHTS/TAILLIGHTS - A07LB27FA/LH27FB (4999206689920668C01)
MUD GUARDS - A07LB27FA/LH27FB (4999202079920207A09)
RACK, REAR - A07LB27FA/LH27FB (49ATVRACKMTG07HAWK)
SEAT - A07LB27FA/LH27FB (49ATVSEAT07HAWKI)
SHAFT, HALF, FRONT (4X4) - A07LH27FB (4999202079920207B06)
SHAFT, PROP (4X4) - A07LH27FB (49ATVSHAFTPROP09SP300)
SHAFT, REAR - A07LB27FA/LH27FB (4999202079920207B07)
STEERING POST - A07LB27FA/LH27FB (49ATVSTEERING07HAWKI)
STRUT, FRONT - A07LB27FA/LH27FB (4999202079920207B09)
SUSPENSION, FRONT - A07LB27FA/LH27FB (49ATVSUSPFRT07HAWKI)
SUSPENSION, REAR - A07LB27FA/LH27FB (49ATVSUSPRR07HAWK)
SUSPENSION, SHOCK - A07LB27FA/LH27FB (4999202079920207C06)
THROTTLE ASSEMBLY - A07LB27FA/LH27FB (4999202079920207B05)
TOOL KIT - A07LB27FA/LH27FB (4999202079920207D13)
TORSION BAR - A07LB27FA/LH27FB (49ATVTORSION07HAWK)
TRANSMISSION CASES - A07LB27FA/LH27FB (49ATVTRANSCVR07HAWK)
TRANSMISSION INTERNALS - A07LB27FA/LH27FB (49ATVTRANSMISSION07HAWKI)
TRANSMISSION MOUNTING - A07LB27FA/LH27FB (4999202079920207C10)
TURN SIGNALS and HORN - A07LB27FA/LH27FB (49ATVTURNSIG07HAWKI)
WHEEL, FRONT and HUB, FRONT - A07LB27FA/LH27FB (4999202079920207B11)
WHEEL, REAR and HUB, REAR - A07LB27FA/LH27FB (49ATVWHEELREAR07HAWKI)
AIRBOX - A07LB27FA/LH27FB (49ATVAIRBOX07HAWK)
BRAKE CALIPER MOUNTING - A07LB27FA/LH27FB (49ATVCALIPERMTG07HAWKI)
BRAKE CALIPERS, FRONT and REAR - A07LB27FA/LH27FB (49ATVCALIPERPRED500)
BRAKE LINE, FRONT - A07LB27FA/LH27FB (49ATVBRAKELINE07HAWKI)
BRAKE LINES, REAR - A07LB27FA/LH27FB (49ATVBRAKELINERR07HAWKI)
BRAKE, DISTRIBUTION BLOCK - A07LB27FA/LH27FB (49ATVBRAKEDIST07HAWKI)
BRAKE, FOOT - A07LB27FA/LH27FB (49ATVBRAKEFOOT07HAWKI)
BRAKE, HAND - A07LB27FA/LH27FB (4999204069920406B08)
BUMPER, FRONT - A07LB27FA/LH27FB (49ATVBUMPER07HAWKI)
CAB, FRONT - A07LB27FA/LH27FB (49ATVCAB07HAWKI)
CAB, REAR, FOIL - A07LB27FA/LH27FB (49ATVCABFOIL07HAWK)
CAB, REAR, FRAME, and FOOTWELLS - A07LB27FA/LH27FB (49ATVCABRR07HAWKI)
CLUTCH, COVER and DUCTING - A07LB27FA/LH27FB (4999202079920207C04)
CLUTCH, DRIVE - A07LB27FA/LH27FB (4999202079920207C02)
CLUTCH, DRIVEN - A07LB27FA/LH27FB (4999202079920207C03)
DECALS - A07LB27FA/LH27FB (49ATVDECAL07HAWKI)
ELECTRICAL - A07LB27FA/LH27FB (49ATVELECT07HAWKI)
ENGINE MOUNTING - A07LB27FA/LH27FB (49ATVENGINE07HAWK)
ENGINE, CARBURETOR, LOWER - A07LB27FA/LH27FB (4999202079920207D06)
ENGINE, CARBURETOR, UPPER - A07LB27FA/LH27FB (49ATVCARB07HAWK)
ENGINE, CLUTCH - A07LB27FA/LH27FB (49ATVCLUTCH08SP300)
ENGINE, CRANKCASE - AA07LB27FA/LH27FB (4999202079920207D01)
ENGINE, CRANKSHAFT and PISTON - A07LB27FA/LH27FB (4999202079920207D03)
ENGINE, CYLINDER - A07LB27FA/LH27FB (4999202079920207D02)
ENGINE, FUEL PUMP - A07LB27FA/LH27FB (4999202079920207D12)
ENGINE, INTAKE and EXHAUST - A07LB27FA/LH27FB (49ATVINTAKE07HAWK)
ENGINE, MAGNETO - A07LB27FA/LH27FB (4999202079920207D09)
ENGINE, OIL PUMP and OIL FILTER - A07LB27FA/LH27FB (4999202079920207D08)
ENGINE, RECOIL STARTER - A07LB27FA/LH27FB (4999202079920207D07)
ENGINE, STARTING MOTOR - A07LB27FA/LH27FB (4999202079920207D10)
EXHAUST - A07LB27FA/LH27FB (49ATVEXHAUST07HAWK)
FUEL SYSTEM - A07LB27FA/LH27FB (49ATVFUEL07HAWKI)
GEAR SELECTOR - A07LB27FA/LH27FB (4999202079920207C01)
GEARCASE, FRONT (4X4)(DEMAND DRIVE) - A07LH27FB (49ATVGEARCASE08SP300)
GEARCASE, FRONT, MOUNTING - A07LH27FB (4999206689920668D01)
HANDLEBAR and CONTROLS - A07LB27FA/LH27FB (49ATVHANDLEBAR07HAWKI)
HEADLIGHTS/TAILLIGHTS - A07LB27FA/LH27FB (4999206689920668C01)
MUD GUARDS - A07LB27FA/LH27FB (4999202079920207A09)
RACK, REAR - A07LB27FA/LH27FB (49ATVRACKMTG07HAWK)
SEAT - A07LB27FA/LH27FB (49ATVSEAT07HAWKI)
SHAFT, HALF, FRONT (4X4) - A07LH27FB (4999202079920207B06)
SHAFT, PROP (4X4) - A07LH27FB (49ATVSHAFTPROP09SP300)
SHAFT, REAR - A07LB27FA/LH27FB (4999202079920207B07)
STEERING POST - A07LB27FA/LH27FB (49ATVSTEERING07HAWKI)
STRUT, FRONT - A07LB27FA/LH27FB (4999202079920207B09)
SUSPENSION, FRONT - A07LB27FA/LH27FB (49ATVSUSPFRT07HAWKI)
SUSPENSION, REAR - A07LB27FA/LH27FB (49ATVSUSPRR07HAWK)
SUSPENSION, SHOCK - A07LB27FA/LH27FB (4999202079920207C06)
THROTTLE ASSEMBLY - A07LB27FA/LH27FB (4999202079920207B05)
TOOL KIT - A07LB27FA/LH27FB (4999202079920207D13)
TORSION BAR - A07LB27FA/LH27FB (49ATVTORSION07HAWK)
TRANSMISSION CASES - A07LB27FA/LH27FB (49ATVTRANSCVR07HAWK)
TRANSMISSION INTERNALS - A07LB27FA/LH27FB (49ATVTRANSMISSION07HAWKI)
TRANSMISSION MOUNTING - A07LB27FA/LH27FB (4999202079920207C10)
TURN SIGNALS and HORN - A07LB27FA/LH27FB (49ATVTURNSIG07HAWKI)
WHEEL, FRONT and HUB, FRONT - A07LB27FA/LH27FB (4999202079920207B11)
WHEEL, REAR and HUB, REAR - A07LB27FA/LH27FB (49ATVWHEELREAR07HAWKI)
VIEW WISH LIST