Polaris
Browse New Models
Shop In-Stock
Honda
Browse New Models
Shop In-Stock
KTM
Browse New Models
Shop In-Stock
Beta
Browse New Models
Shop In-Stock
Timbersled
Browse New Models
1318 W 2nd St
,
The Dalles, OR
97058
541-298-1161
Search Inventory
Toggle navigation
Home
Brands
Inventory
All Inventory In Stock
New Inventory In Stock
Pre-Owned Inventory
Polaris Off-Road
Polaris Snowmobiles
Timbersled
Manufacturer Models
Value Your Trade-In
Request a Model
Government Purchasing Program
OEM Promotions
Secure Financing
Parts
Parts Department
Parts Finder
Shopping Cart
Service
Service Department
Warranty & Recall Look-Up
Schedule Polaris Service
Financing
About
Our Dealership
Our Team
Reviews
Customer Survey
Employment
Location & Hours
Contact
541-298-1161
The Dalles, OR
Fiche | Parts Diagrams
Home
›
Parts
›
Parts Finder
Search by :
Part / Desc
VIN
Please Select
Honda
KTM
Polaris
*Please enter at least 3 characters
SEARCH
Manufacturer
Polaris
ATVs
2010
PHOENIX 200 A10PB20AB/AD (A10PB20AB/AD)
VIEW WISH LIST
Select a Section
Show/Hide
BODY, CAB and SEAT - A10PB20AB/AD (49ATVCAB09PHX)
BODY, DECALS - A10PB20AB/AD (49ATVDECAL10PHX)
BODY, FUEL TANK ASM. - A10PB20AB/AD (49ATVFUEL08PHX)
BRAKES, FRONT - A10PB20AB/AD (49ATVBRAKEFRT08PHX)
BRAKES, REAR - A10PB20AB/AD (49ATVBRAKERR10PHX)
CHASSIS, A-ARM and FOOTWELL - A10PB20AB/AD (49ATVSWINGARM08PHX)
CHASSIS, BUMPER - A10PB20AB/AD (49ATVBUMPER07PHX)
CHASSIS, FRAME - A10PB20AB/AD (49ATVFRAME10PHX)
CHASSIS, REAR SWING ARM - A10PB20AB/AD (49ATVSWINGARMRR07PHX)
DRIVE TRAIN, PRIMARY CLUTCH - A10PB20AB/AD (49ATVCLUTCH08PHX)
DRIVE TRAIN, REAR DRIVE ASSEMBLY - A10PB20AB/AD (49ATVDRIVERR09PHX)
DRIVE TRAIN, SECONDARY CLUTCH - A10PB20AB/AD (49ATVCLUTCHDRIVEN08PHX)
DRIVE TRAIN, TRANSMISSION - A10PB20AB/AD (49ATVTRANSMISSION07PHX)
ELECTRICAL PARTS - A10PB20AB/AD (49ATVELECT08PHX)
ELECTRICAL, HEADLIGHT and TAILLIGHT - A10PB20AB/AD (49ATVHEADLIGHT08PHX)
ENGINE, AIR INTAKE SYSTEM - A10PB20AA/AD (49ATVAIRBOX10PHX)
ENGINE, CARBURETOR - A10PB20AB/AD (49ATVCARB08PHX)
ENGINE, CRANKCASE - A10PB20AB/AD (49ATVCRANKCASE10PHX)
ENGINE, CRANKCASE COVER, LH - A10PB20AB/AD (49ATVCRANKCASECVRLH08PHX)
ENGINE, CRANKCASE COVER, RH - A10PB20AB/AD (49ATVCRANKCASECVRRH09PHX)
ENGINE, CRANKSHAFT and PISTON - A10PB20AB/AD (49ATVCRANKSHAFT07PHX)
ENGINE, CYLINDER HEAD - A10PB20AB/AD (49ATVCYLINDERHD09PHX)
ENGINE, EXHAUST - A10PB20AB/AD (49ATVEXHAUST08PHX)
ENGINE, GENERATOR and STARTING MOTOR - A10PB20AB/AD (49ATVSTARTER08PHX)
ENGINE, VALVE CAM - A10PB20AB/AD (49ATVVALVE08PHX)
REFERENCES, MANUAL and SETUP INFORMATION - A10PB20AB/AD (49ATVTOOL09SP90)
STEERING, HANDLEBAR - A10PB20AB/AD (49ATVHANDLEBAR09PHX)
STEERING, STEERING POST and TIE RODS - A10PB20AB/AD (49ATVSTEERING10PHX)
SUSPENSION, SHOCKS - A10PB20AB/AD (49ATVSUSP08PHX)
WHEELS, FRONT - A10PB20AB/AD (49ATVWHEELFRT08PHX)
WHEELS, REAR - A10PB20AB/AD (49ATVWHEELREAR10PHX)
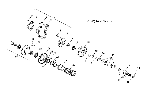
WHEELS, REAR AXLE - A10PB20AA/AD (49ATVAXLE09PHX)
BODY, CAB and SEAT - A10PB20AB/AD (49ATVCAB09PHX)
BODY, DECALS - A10PB20AB/AD (49ATVDECAL10PHX)
BODY, FUEL TANK ASM. - A10PB20AB/AD (49ATVFUEL08PHX)
BRAKES, FRONT - A10PB20AB/AD (49ATVBRAKEFRT08PHX)
BRAKES, REAR - A10PB20AB/AD (49ATVBRAKERR10PHX)
CHASSIS, A-ARM and FOOTWELL - A10PB20AB/AD (49ATVSWINGARM08PHX)
CHASSIS, BUMPER - A10PB20AB/AD (49ATVBUMPER07PHX)
CHASSIS, FRAME - A10PB20AB/AD (49ATVFRAME10PHX)
CHASSIS, REAR SWING ARM - A10PB20AB/AD (49ATVSWINGARMRR07PHX)
DRIVE TRAIN, PRIMARY CLUTCH - A10PB20AB/AD (49ATVCLUTCH08PHX)
DRIVE TRAIN, REAR DRIVE ASSEMBLY - A10PB20AB/AD (49ATVDRIVERR09PHX)
DRIVE TRAIN, SECONDARY CLUTCH - A10PB20AB/AD (49ATVCLUTCHDRIVEN08PHX)
DRIVE TRAIN, TRANSMISSION - A10PB20AB/AD (49ATVTRANSMISSION07PHX)
ELECTRICAL PARTS - A10PB20AB/AD (49ATVELECT08PHX)
ELECTRICAL, HEADLIGHT and TAILLIGHT - A10PB20AB/AD (49ATVHEADLIGHT08PHX)
ENGINE, AIR INTAKE SYSTEM - A10PB20AA/AD (49ATVAIRBOX10PHX)
ENGINE, CARBURETOR - A10PB20AB/AD (49ATVCARB08PHX)
ENGINE, CRANKCASE - A10PB20AB/AD (49ATVCRANKCASE10PHX)
ENGINE, CRANKCASE COVER, LH - A10PB20AB/AD (49ATVCRANKCASECVRLH08PHX)
ENGINE, CRANKCASE COVER, RH - A10PB20AB/AD (49ATVCRANKCASECVRRH09PHX)
ENGINE, CRANKSHAFT and PISTON - A10PB20AB/AD (49ATVCRANKSHAFT07PHX)
ENGINE, CYLINDER HEAD - A10PB20AB/AD (49ATVCYLINDERHD09PHX)
ENGINE, EXHAUST - A10PB20AB/AD (49ATVEXHAUST08PHX)
ENGINE, GENERATOR and STARTING MOTOR - A10PB20AB/AD (49ATVSTARTER08PHX)
ENGINE, VALVE CAM - A10PB20AB/AD (49ATVVALVE08PHX)
REFERENCES, MANUAL and SETUP INFORMATION - A10PB20AB/AD (49ATVTOOL09SP90)
STEERING, HANDLEBAR - A10PB20AB/AD (49ATVHANDLEBAR09PHX)
STEERING, STEERING POST and TIE RODS - A10PB20AB/AD (49ATVSTEERING10PHX)
SUSPENSION, SHOCKS - A10PB20AB/AD (49ATVSUSP08PHX)
WHEELS, FRONT - A10PB20AB/AD (49ATVWHEELFRT08PHX)
WHEELS, REAR - A10PB20AB/AD (49ATVWHEELREAR10PHX)
WHEELS, REAR AXLE - A10PB20AA/AD (49ATVAXLE09PHX)
VIEW WISH LIST