Polaris
Browse New Models
Shop In-Stock
Honda
Browse New Models
Shop In-Stock
KTM
Browse New Models
Shop In-Stock
Beta
Browse New Models
Shop In-Stock
Timbersled
Browse New Models
1318 W 2nd St
,
The Dalles, OR
97058
541-298-1161
Search Inventory
Toggle navigation
Home
Brands
Inventory
All Inventory In Stock
New Inventory In Stock
Pre-Owned Inventory
Polaris Off-Road
Polaris Snowmobiles
Timbersled
Manufacturer Models
Value Your Trade-In
Request a Model
Government Purchasing Program
OEM Promotions
Secure Financing
Parts
Parts Department
Parts Finder
Shopping Cart
Service
Service Department
Warranty & Recall Look-Up
Schedule Polaris Service
Financing
About
Our Dealership
Our Team
Reviews
Customer Survey
Employment
Location & Hours
Contact
541-298-1161
The Dalles, OR
Fiche | Parts Diagrams
Home
›
Parts
›
Parts Finder
Search by :
Part / Desc
VIN
Please Select
Honda
KTM
Polaris
*Please enter at least 3 characters
SEARCH
Manufacturer
Polaris
ATVs
2011
SPORTSMAN FOREST 500 (A11MH50FF)
VIEW WISH LIST
Select a Section
Show/Hide
BODY, ASM., BOX, FRONT - A11MH50FF (49ATVRACKMTG11SP500)
BODY, CLUTCH COVER - A11MH50FF (49ATVCLUTCHCVR08SP500)
BODY, DECALS - A11MH50FF (49ATVDECAL11SP500F)
BODY, FRONT BUMPER and MOUNTING - A11MH50FF (49ATVBUMPER11SP500F)
BODY, FRONT CAB and SIDE PANELS - A11MH50FF (49ATVCAB11SP500)
BODY, FUEL TANK ASM. - A11MH50FF (49ATVFUEL11SP500F)
BODY, HEADLIGHT POD - A11MH50FF (49ATVHEADLIGHT09SP500)
BODY, MIRRORS - A11MH50FF (49ATVMIRRORS09SP500TR)
BODY, REAR CAB, SEAT and FOOTWELLS - A11MH50FF (49ATVCABRR11SP500)
BODY, REAR RACK - A11MH50FF (49ATVRACKMTGRR11SP500F)
BODY, REAR STORAGE BOX - A11MH50FF (49ATVSTORAGERR09SP500)
BRAKES, BRAKE CALIPER, FRONT - A11MH50FF (49ATVCALIPER08X2500QUAD)
BRAKES, BRAKE CALIPER, REAR - A11MH50FF (4999200139920013B05)
BRAKES, BRAKE PEDAL and MASTER CYLINDER - A11MH50FF (49ATVBRAKEFOOT11SP500F)
BRAKES, FRONT BRAKE LEVER and MASTER CYLINDER - A11MH50FF (4999204069920406B08)
BRAKES, FRONT BRAKE LINES - A11MH50FF (49ATVBRAKELINE09SP500TR)
BRAKES, REAR BRAKE LINES - A11MH50FF (49ATVBRAKELINERR11SP500F)
BRAKES, VALVE SYSTEM - A11MH50FF (49ATVBRAKEVALVE075EFIIN)
CHASSIS, FRAME - A11MH50FF (49ATVFRAME11SP500)
DRIVE TRAIN, FRONT DRIVE SHAFT - A11MH50FF (49ATVSHAFTDRIVE1332881)
DRIVE TRAIN, FRONT GEARCASE (Built 9/27/10 and Before) - A11MH50FF (49RGRTRANSINTL1332773)
DRIVE TRAIN, FRONT GEARCASE (Built 9/28/10 and After) - A11MH50FF (49RGRTRANSINTL1332956)
DRIVE TRAIN, FRONT GEARCASE MOUNTING - A11MH50FF (49ATVGEARCASEMTG500EFI)
DRIVE TRAIN, FRONT PROP SHAFT - A11MH50FF (49ATVSHAFTPROP08SP500A)
DRIVE TRAIN, GEAR SELECTOR - A11MH50FF (49ATVGEARSELECT11SP500)
DRIVE TRAIN, MAIN GEARCASE - A11MH50FF (49ATVGEARCASE1332897)
DRIVE TRAIN, MAIN GEARCASE MOUNTING - A11MH50FF (49ATVGEARCASEMTG11SP500)
DRIVE TRAIN, PRIMARY CLUTCH - A11MH50FF (49ATVCLUTCH08SP500)
DRIVE TRAIN, REAR DRIVE SHAFT - A11MH50FF (49ATVSHAFTDRIVERR1332935)
DRIVE TRAIN, SECONDARY CLUTCH - A11MH50FF (49ATVCLUTCHDRIVEN11SP500)
ELECTRICAL, BATTERY - A11MH50FF (49ATVBATTERY09SP500)
ELECTRICAL, BULBS - A11MH50FF (49ATVBULBS09SPXP850I)
ELECTRICAL, GAUGES and INDICATORS - A11MH50FF (49ATVGAUGES08X2500QUAD)
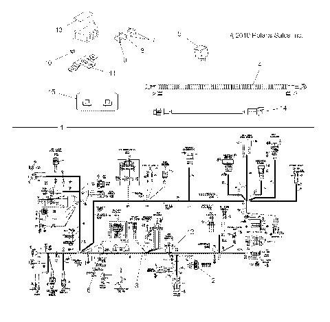
ELECTRICAL, HARNESSES - A11MH50FF (49ATVHARNESS11SP500F)
ELECTRICAL, HEADLIGHTS - A11MH50FF (49ATVHEADLTASM11SP500TR)
ELECTRICAL, IGNITION SYSTEM - A11MH50FF (49ATVMAGNETO09SP500)
ELECTRICAL, SWITCHES, SENSORS and ECM - A11MH50FF (49ATVELECT11SP500F)
ELECTRICAL, TAILLAMPS - A11MH50FF (49ATVTAILLAMPS08SP800EFI)
ELECTRICAL, TURN SIGNALS and HORN - A11MH50FF (49ATVTURNSIG11SP500F)
ENGINE, AIR INTAKE SYSTEM - A11MH50FF (49ATVAIRBOX11SP500)
ENGINE, CARBURETOR MOUNTING and FUEL LINES - A11MH50FF (49ATVCARBBRKT11500)
ENGINE, CARBURETOR, LOWER - A11MH50FF (4999200099920009D08)
ENGINE, CARBURETOR, UPPER - A11MH50FF (49ATVCARBUPPER08SP500)
ENGINE, COOLING SYSTEM - A11MH50FF (49ATVCOOL11SP500)
ENGINE, CRANKCASE - A11MH50FF (49ATVCRANKCASE11SP500)
ENGINE, CRANKSHAFT and PISTON - A11MH50FF (49ATVCRANKSHAFT08SP500)
ENGINE, CYLINDER and HEAD - A11MH50FF (49ATVCYLINDER08SP500)
ENGINE, EXHAUST - A11MH50FF (49ATVEXHAUST11SP500)
ENGINE, FLYWHEEL COVER - A11MH50FF (49RGRFLYWHEELCVR11500EFI)
ENGINE, FUEL PUMP - A11MH50FF (49ATVFUELPUMP11SP500)
ENGINE, MOUNTING - A11MH50FF (49ATVENGINEMTG11SP500)
ENGINE, OIL FILTER - A11MH50FF (4999200099920009D13)
ENGINE, OIL PUMP - A11MH50FF (49ATVOILPUMP09SP500)
ENGINE, OIL SYSTEM and OIL TANK - A11MH50FF (4999200059920005B01)
ENGINE, SHORT BLOCK - A11MH50FF (49ATVENGINE08SP500)
ENGINE, STARTING SYSTEM - A11MH50FF (49ATVSTARTER09TB)
ENGINE, VALVES and CAMSHAFT - A11MH50FF (49ATVVALVE08SP500)
ENGINE, WATER PUMP - A11MH50FF (49ATVWATERPUMP10SP500)
OPTIONS, WINCH - A11MH50FF (49ATVWINCH11SPEPS550)
REFERENCE, OWNERS MANUAL - A11MH50FF (49ATVOM07OTLW90)
STEERING, CONTROLS, THROTTLE ASM. and CABLE - A11MH50FF (49ATVCONTROLS086X6)
STEERING, HANDLEBAR and CONTROLS - A11MH50FF (49ATVHANDLEBAR10SP500TRGI)
STEERING, STEERING LOCK - A11MH50FF (49ATVSTEERINGLOCK09SP500TR)
STEERING, STEERING POST - A11MH50FF (49ATVSTEERING11SP500)
SUSPENSION, A-ARM and STRUT MOUNTING - A11MH50FF (49ATVAARM08SP500)
SUSPENSION, FRONT STRUT - A11MH50FF (49ATVSTRUT10SP500I)
SUSPENSION, REAR - A11MH50FF (49ATVSUSPRR11SP5)
SUSPENSION, TORSION BAR - A11MH50FF (49ATVTORSION11SP500)
TOOLS, TOOL KIT - A11MH50FF (49ATVTOOL08SP500)
WHEELS, FRONT TIRE and BRAKE DISC - A11MH50FF (4999200059920005B12)
WHEELS, REAR TIRE and BRAKE DISC - A11MH50FF (49ATVWHEELREAR11SP500)
BODY, ASM., BOX, FRONT - A11MH50FF (49ATVRACKMTG11SP500)
BODY, CLUTCH COVER - A11MH50FF (49ATVCLUTCHCVR08SP500)
BODY, DECALS - A11MH50FF (49ATVDECAL11SP500F)
BODY, FRONT BUMPER and MOUNTING - A11MH50FF (49ATVBUMPER11SP500F)
BODY, FRONT CAB and SIDE PANELS - A11MH50FF (49ATVCAB11SP500)
BODY, FUEL TANK ASM. - A11MH50FF (49ATVFUEL11SP500F)
BODY, HEADLIGHT POD - A11MH50FF (49ATVHEADLIGHT09SP500)
BODY, MIRRORS - A11MH50FF (49ATVMIRRORS09SP500TR)
BODY, REAR CAB, SEAT and FOOTWELLS - A11MH50FF (49ATVCABRR11SP500)
BODY, REAR RACK - A11MH50FF (49ATVRACKMTGRR11SP500F)
BODY, REAR STORAGE BOX - A11MH50FF (49ATVSTORAGERR09SP500)
BRAKES, BRAKE CALIPER, FRONT - A11MH50FF (49ATVCALIPER08X2500QUAD)
BRAKES, BRAKE CALIPER, REAR - A11MH50FF (4999200139920013B05)
BRAKES, BRAKE PEDAL and MASTER CYLINDER - A11MH50FF (49ATVBRAKEFOOT11SP500F)
BRAKES, FRONT BRAKE LEVER and MASTER CYLINDER - A11MH50FF (4999204069920406B08)
BRAKES, FRONT BRAKE LINES - A11MH50FF (49ATVBRAKELINE09SP500TR)
BRAKES, REAR BRAKE LINES - A11MH50FF (49ATVBRAKELINERR11SP500F)
BRAKES, VALVE SYSTEM - A11MH50FF (49ATVBRAKEVALVE075EFIIN)
CHASSIS, FRAME - A11MH50FF (49ATVFRAME11SP500)
DRIVE TRAIN, FRONT DRIVE SHAFT - A11MH50FF (49ATVSHAFTDRIVE1332881)
DRIVE TRAIN, FRONT GEARCASE (Built 9/27/10 and Before) - A11MH50FF (49RGRTRANSINTL1332773)
DRIVE TRAIN, FRONT GEARCASE (Built 9/28/10 and After) - A11MH50FF (49RGRTRANSINTL1332956)
DRIVE TRAIN, FRONT GEARCASE MOUNTING - A11MH50FF (49ATVGEARCASEMTG500EFI)
DRIVE TRAIN, FRONT PROP SHAFT - A11MH50FF (49ATVSHAFTPROP08SP500A)
DRIVE TRAIN, GEAR SELECTOR - A11MH50FF (49ATVGEARSELECT11SP500)
DRIVE TRAIN, MAIN GEARCASE - A11MH50FF (49ATVGEARCASE1332897)
DRIVE TRAIN, MAIN GEARCASE MOUNTING - A11MH50FF (49ATVGEARCASEMTG11SP500)
DRIVE TRAIN, PRIMARY CLUTCH - A11MH50FF (49ATVCLUTCH08SP500)
DRIVE TRAIN, REAR DRIVE SHAFT - A11MH50FF (49ATVSHAFTDRIVERR1332935)
DRIVE TRAIN, SECONDARY CLUTCH - A11MH50FF (49ATVCLUTCHDRIVEN11SP500)
ELECTRICAL, BATTERY - A11MH50FF (49ATVBATTERY09SP500)
ELECTRICAL, BULBS - A11MH50FF (49ATVBULBS09SPXP850I)
ELECTRICAL, GAUGES and INDICATORS - A11MH50FF (49ATVGAUGES08X2500QUAD)
ELECTRICAL, HARNESSES - A11MH50FF (49ATVHARNESS11SP500F)
ELECTRICAL, HEADLIGHTS - A11MH50FF (49ATVHEADLTASM11SP500TR)
ELECTRICAL, IGNITION SYSTEM - A11MH50FF (49ATVMAGNETO09SP500)
ELECTRICAL, SWITCHES, SENSORS and ECM - A11MH50FF (49ATVELECT11SP500F)
ELECTRICAL, TAILLAMPS - A11MH50FF (49ATVTAILLAMPS08SP800EFI)
ELECTRICAL, TURN SIGNALS and HORN - A11MH50FF (49ATVTURNSIG11SP500F)
ENGINE, AIR INTAKE SYSTEM - A11MH50FF (49ATVAIRBOX11SP500)
ENGINE, CARBURETOR MOUNTING and FUEL LINES - A11MH50FF (49ATVCARBBRKT11500)
ENGINE, CARBURETOR, LOWER - A11MH50FF (4999200099920009D08)
ENGINE, CARBURETOR, UPPER - A11MH50FF (49ATVCARBUPPER08SP500)
ENGINE, COOLING SYSTEM - A11MH50FF (49ATVCOOL11SP500)
ENGINE, CRANKCASE - A11MH50FF (49ATVCRANKCASE11SP500)
ENGINE, CRANKSHAFT and PISTON - A11MH50FF (49ATVCRANKSHAFT08SP500)
ENGINE, CYLINDER and HEAD - A11MH50FF (49ATVCYLINDER08SP500)
ENGINE, EXHAUST - A11MH50FF (49ATVEXHAUST11SP500)
ENGINE, FLYWHEEL COVER - A11MH50FF (49RGRFLYWHEELCVR11500EFI)
ENGINE, FUEL PUMP - A11MH50FF (49ATVFUELPUMP11SP500)
ENGINE, MOUNTING - A11MH50FF (49ATVENGINEMTG11SP500)
ENGINE, OIL FILTER - A11MH50FF (4999200099920009D13)
ENGINE, OIL PUMP - A11MH50FF (49ATVOILPUMP09SP500)
ENGINE, OIL SYSTEM and OIL TANK - A11MH50FF (4999200059920005B01)
ENGINE, SHORT BLOCK - A11MH50FF (49ATVENGINE08SP500)
ENGINE, STARTING SYSTEM - A11MH50FF (49ATVSTARTER09TB)
ENGINE, VALVES and CAMSHAFT - A11MH50FF (49ATVVALVE08SP500)
ENGINE, WATER PUMP - A11MH50FF (49ATVWATERPUMP10SP500)
OPTIONS, WINCH - A11MH50FF (49ATVWINCH11SPEPS550)
REFERENCE, OWNERS MANUAL - A11MH50FF (49ATVOM07OTLW90)
STEERING, CONTROLS, THROTTLE ASM. and CABLE - A11MH50FF (49ATVCONTROLS086X6)
STEERING, HANDLEBAR and CONTROLS - A11MH50FF (49ATVHANDLEBAR10SP500TRGI)
STEERING, STEERING LOCK - A11MH50FF (49ATVSTEERINGLOCK09SP500TR)
STEERING, STEERING POST - A11MH50FF (49ATVSTEERING11SP500)
SUSPENSION, A-ARM and STRUT MOUNTING - A11MH50FF (49ATVAARM08SP500)
SUSPENSION, FRONT STRUT - A11MH50FF (49ATVSTRUT10SP500I)
SUSPENSION, REAR - A11MH50FF (49ATVSUSPRR11SP5)
SUSPENSION, TORSION BAR - A11MH50FF (49ATVTORSION11SP500)
TOOLS, TOOL KIT - A11MH50FF (49ATVTOOL08SP500)
WHEELS, FRONT TIRE and BRAKE DISC - A11MH50FF (4999200059920005B12)
WHEELS, REAR TIRE and BRAKE DISC - A11MH50FF (49ATVWHEELREAR11SP500)
VIEW WISH LIST