Polaris
Browse New Models
Shop In-Stock
Honda
Browse New Models
Shop In-Stock
KTM
Browse New Models
Shop In-Stock
Beta
Browse New Models
Shop In-Stock
Timbersled
Browse New Models
1318 W 2nd St
,
The Dalles, OR
97058
541-298-1161
Search Inventory
Toggle navigation
Home
Brands
Inventory
All Inventory In Stock
New Inventory In Stock
Pre-Owned Inventory
Polaris Off-Road
Polaris Snowmobiles
Timbersled
Manufacturer Models
Value Your Trade-In
Request a Model
Government Purchasing Program
OEM Promotions
Secure Financing
Parts
Parts Department
Parts Finder
Shopping Cart
Service
Service Department
Warranty & Recall Look-Up
Schedule Polaris Service
Financing
About
Our Dealership
Our Team
Reviews
Customer Survey
Employment
Location & Hours
Contact
541-298-1161
The Dalles, OR
Fiche | Parts Diagrams
Home
›
Parts
›
Parts Finder
Search by :
Part / Desc
VIN
Please Select
Honda
KTM
Polaris
*Please enter at least 3 characters
SEARCH
Manufacturer
Polaris
ATVs
2011
SPORTSMAN TOURING 500 HO INTL (A11DH50FX)
VIEW WISH LIST
Select a Section
Show/Hide
BODY, ASM., BOX, FRONT - A11DH50FX (49ATVRACKMTG11SP500)
BODY, CLUTCH COVER - A11DH50FX (49ATVCLUTCHCVR10SP500TRG)
BODY, DECALS - A11DH50FX (49ATVDECAL11SPTRG500I)
BODY, FRONT BUMPER and MOUNTING - A11DH50FX (49ATVBUMPER11SP500TRG)
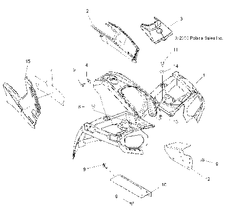
BODY, FRONT CAB and SIDE PANELS - A11DH50FX (49ATVCAB11SP500I)
BODY, FUEL TANK ASM. - A11DH50FX (49ATVFUEL11SPTRG500I)
BODY, HEADLIGHT POD - A11DH50FX (49ATVHEADLIGHT09SP500)
BODY, MIRRORS - A11DH50FX (49ATVMIRRORS09SP500TR)
BODY, OPERATOR SEAT - A11DH50FX (49ATVSEAT10SP500TRG)
BODY, PASSENGER SEAT BOTTOM and SEAT BACK - A11DH50FX (49ATVSEATBOTTOM10SP500TRG)
BODY, REAR CAB and FOOTWELLS - A11DH50FX (49ATVCABRR09SPTRG500)
BODY, REAR CAB FOIL - A11DH50FX (49ATVCABFOIL08SPTRG500)
BODY, REAR RACK ASM. - A11DH50FX (49ATVRACKMTG11SP500TRG)
BODY, REAR STORAGE BOX - A11DH50FX (49ATVSTORAGERR10SP500TRG)
BRAKES, FOOT PEDAL and MASTER CYLINDER - A11DH50FX (49ATVBRAKEFOOT10SP500TRGI)
BRAKES, FRONT BRAKE LEVER and MASTER CYLINDER - A11DH50FX (4999204069920406B08)
BRAKES, FRONT BRAKE LINES - A11DH50FX (49ATVBRAKELINE08X2500QUAD)
BRAKES, FRONT CALIPER - A11DH50FX (49ATVCALIPER08X2500QUAD)
BRAKES, REAR BRAKE LINES - A11DH50FX (49ATVBRAKELINERR11SP500TRGI)
BRAKES, REAR CALIPER - A11DH50FX (49ATVBRAKERR08SP500)
BRAKES, VALVE SYSTEM - A11DH50FX (49ATVBRAKEVALVEX2QUAD)
CHASSIS, FRAME - A11DH50FX (49ATVFRAME11SPTRG500I)
DRIVE TRAIN, FRONT DRIVE SHAFT - A11DH50FX (49ATVSHAFTDRIVE1332881)
DRIVE TRAIN, FRONT GEARCASE - A11DH50FX (49RGRTRANSINTL1332956)
DRIVE TRAIN, FRONT GEARCASE MOUNTING - A11DH50FX (49ATVGEARCASEMTG500EFI)
DRIVE TRAIN, GEAR SELECTOR - A11DH50FX (49ATVGEARSELECT09SPTRG500)
DRIVE TRAIN, MAIN GEARCASE - A11DH50FX (49ATVGEARCASE11SP500TRG)
DRIVE TRAIN, MAIN GEARCASE INTERNAL - A11DH50FX (49ATVTRANSINTL1332579)
DRIVE TRAIN, MAIN GEARCASE MOUNTING - A11DH50FX (49ATVGEARCASEMTG08SPTRG500)
DRIVE TRAIN, MAIN GEARCASE OUTPUT SHAFT - A11DH50FX (49ATVSHAFTOUTPUT08SPX25)
DRIVE TRAIN, MAIN GEARCASE SHIFT FORKS - A11DH50FX (4999204069920406D09)
DRIVE TRAIN, PRIMARY CLUTCH - A11DH50FX (49ATVCLUTCH08SPX25)
DRIVE TRAIN, PROP SHAFT - A11DH50FX (4999204069920406C02)
DRIVE TRAIN, REAR DRIVE SHAFT - A11DH50FX (49ATVSHAFTDRIVERR1332936)
DRIVE TRAIN, SECONDARY CLUTCH - A11DH50FX (49ATVCLUTCHDRIVEN08SPX25)
ELECTRICAL, BATTERY - A11DH50FX (49ATVBATTERY11SP500TRG)
ELECTRICAL, BULBS - A11DH50FX (49ATVBULBS09SPXP850I)
ELECTRICAL, GAUGES and INDICATORS - A11DH50FX (49ATVGAUGES08X2500QUAD)
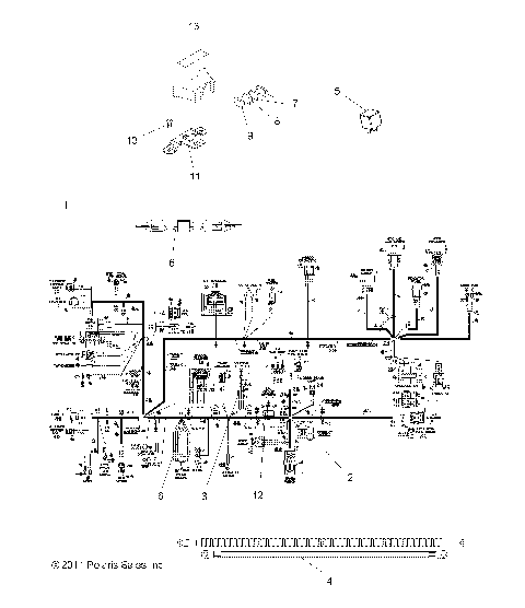
ELECTRICAL, HARNESSES - A11DH50FX (49ATVHARNESS11SPTRG500I)
ELECTRICAL, HEADLIGHTS - A11DH50FX (49ATVHEADLTASM11SP500TR)
ELECTRICAL, IGNITION SYSTEM - A11DH50FX (49ATVMAGNETO11SP500TRG)
ELECTRICAL, SWITCHES, SENSORS and ECM - A11DH50FX (49ATVELECT10SP500TRG)
ELECTRICAL, TAILLIGHTS - A11DH50FX (49ATVTAILLAMPS08SPTRG500QD)
ELECTRICAL, TURN SIGNALS and HORN - A11DH50FX (49ATVTURNSIG11SPTRG500I)
ENGINE, AIR INTAKE SYSTEM - A11DH50FX (49ATVAIRBOX10SP500TRG)
ENGINE, CARBURETOR MOUNTING and FUEL LINES - A11DH50FX (49ATVCARBBRKT11SP500I)
ENGINE, CARBURETOR, LOWER - A11DH50FX (4999200099920009D08)
ENGINE, CARBURETOR, UPPER - A11DH50FX (49ATVCARBUPPER08SP500)
ENGINE, COOLING SYSTEM - A11DH50FX (49ATVCOOL11SP500TRG)
ENGINE, CRANKCASE - A11DH50FX (49ATVCRANKCASE11SP500)
ENGINE, CRANKSHAFT and PISTON - A11DH50FX (49ATVCRANKSHAFT08SP500)
ENGINE, CYLINDER and HEAD - A11DH50FX (49ATVCYLINDER08SP500)
ENGINE, EXHAUST - A11DH50FX (49ATVEXHAUST10SPTRG500)
ENGINE, FLYWHEEL COVER - A11DH50FX (49RGRFLYWHEELCVR11500EFI)
ENGINE, FUEL PUMP - A11DH50FX (49ATVFUELPUMP11SP500)
ENGINE, MOUNTING - A11DH50FX (49ATVENGINEMTG11SP500TRG)
ENGINE, OIL FILTER - A11DH50FX (4999200099920009D13)
ENGINE, OIL PUMP - A11DH50FX (49ATVOILPUMP09SP500)
ENGINE, OIL SYSTEM - A11DH50FX (4999204069920406B07)
ENGINE, SHORT BLOCK - A11DH50FX (49ATVENGINE08SP500)
ENGINE, STARTING SYSTEM - A11DH50FX (49ATVSTARTER09TB)
ENGINE, VALVES and CAMSHAFT - A11DH50FX (49ATVVALVE08SP500)
ENGINE, WATER PUMP - A11DH50FX (49ATVWATERPUMP10SP500)
STEERING, CONTROLS and THROTTLE - A11DH50FX (49ATVCONTROLS10SPTRG500)
STEERING, HANDLEBAR and CONTROLS - A11DH50FX (49ATVHANDLEBAR10SP500TRGI)
STEERING, STEERING POST - A11DH50FX (49ATVSTEERING08SPTRG500QD)
STEERING, STEERING POST LOCK - A11DH50FX (49ATVSTEERINGLOCK08X2500QUAD)
SUSPENSION, A-ARM and STRUT MOUNTING - A11DH50FX (49ATVAARM08SPX25)
SUSPENSION, FRONT STRUT - A11DH50FX (49ATVSTRUT10SP500I)
SUSPENSION, REAR - A11DH50FX (49ATVSUSPRR10SPTRG500)
SUSPENSION, TORSION BAR - A11DH50FX (49ATVTORSION08SPX25)
TOOLS, TOOL KIT - A11DH50FX (49ATVTOOL08SPX25)
WHEELS, FRONT - A11DH50FX (49ATVWHEELFRT10SP500TRG)
WHEELS, REAR - A11DH50FX (49ATVWHEELREAR10SP500TRG)
BODY, ASM., BOX, FRONT - A11DH50FX (49ATVRACKMTG11SP500)
BODY, CLUTCH COVER - A11DH50FX (49ATVCLUTCHCVR10SP500TRG)
BODY, DECALS - A11DH50FX (49ATVDECAL11SPTRG500I)
BODY, FRONT BUMPER and MOUNTING - A11DH50FX (49ATVBUMPER11SP500TRG)
BODY, FRONT CAB and SIDE PANELS - A11DH50FX (49ATVCAB11SP500I)
BODY, FUEL TANK ASM. - A11DH50FX (49ATVFUEL11SPTRG500I)
BODY, HEADLIGHT POD - A11DH50FX (49ATVHEADLIGHT09SP500)
BODY, MIRRORS - A11DH50FX (49ATVMIRRORS09SP500TR)
BODY, OPERATOR SEAT - A11DH50FX (49ATVSEAT10SP500TRG)
BODY, PASSENGER SEAT BOTTOM and SEAT BACK - A11DH50FX (49ATVSEATBOTTOM10SP500TRG)
BODY, REAR CAB and FOOTWELLS - A11DH50FX (49ATVCABRR09SPTRG500)
BODY, REAR CAB FOIL - A11DH50FX (49ATVCABFOIL08SPTRG500)
BODY, REAR RACK ASM. - A11DH50FX (49ATVRACKMTG11SP500TRG)
BODY, REAR STORAGE BOX - A11DH50FX (49ATVSTORAGERR10SP500TRG)
BRAKES, FOOT PEDAL and MASTER CYLINDER - A11DH50FX (49ATVBRAKEFOOT10SP500TRGI)
BRAKES, FRONT BRAKE LEVER and MASTER CYLINDER - A11DH50FX (4999204069920406B08)
BRAKES, FRONT BRAKE LINES - A11DH50FX (49ATVBRAKELINE08X2500QUAD)
BRAKES, FRONT CALIPER - A11DH50FX (49ATVCALIPER08X2500QUAD)
BRAKES, REAR BRAKE LINES - A11DH50FX (49ATVBRAKELINERR11SP500TRGI)
BRAKES, REAR CALIPER - A11DH50FX (49ATVBRAKERR08SP500)
BRAKES, VALVE SYSTEM - A11DH50FX (49ATVBRAKEVALVEX2QUAD)
CHASSIS, FRAME - A11DH50FX (49ATVFRAME11SPTRG500I)
DRIVE TRAIN, FRONT DRIVE SHAFT - A11DH50FX (49ATVSHAFTDRIVE1332881)
DRIVE TRAIN, FRONT GEARCASE - A11DH50FX (49RGRTRANSINTL1332956)
DRIVE TRAIN, FRONT GEARCASE MOUNTING - A11DH50FX (49ATVGEARCASEMTG500EFI)
DRIVE TRAIN, GEAR SELECTOR - A11DH50FX (49ATVGEARSELECT09SPTRG500)
DRIVE TRAIN, MAIN GEARCASE - A11DH50FX (49ATVGEARCASE11SP500TRG)
DRIVE TRAIN, MAIN GEARCASE INTERNAL - A11DH50FX (49ATVTRANSINTL1332579)
DRIVE TRAIN, MAIN GEARCASE MOUNTING - A11DH50FX (49ATVGEARCASEMTG08SPTRG500)
DRIVE TRAIN, MAIN GEARCASE OUTPUT SHAFT - A11DH50FX (49ATVSHAFTOUTPUT08SPX25)
DRIVE TRAIN, MAIN GEARCASE SHIFT FORKS - A11DH50FX (4999204069920406D09)
DRIVE TRAIN, PRIMARY CLUTCH - A11DH50FX (49ATVCLUTCH08SPX25)
DRIVE TRAIN, PROP SHAFT - A11DH50FX (4999204069920406C02)
DRIVE TRAIN, REAR DRIVE SHAFT - A11DH50FX (49ATVSHAFTDRIVERR1332936)
DRIVE TRAIN, SECONDARY CLUTCH - A11DH50FX (49ATVCLUTCHDRIVEN08SPX25)
ELECTRICAL, BATTERY - A11DH50FX (49ATVBATTERY11SP500TRG)
ELECTRICAL, BULBS - A11DH50FX (49ATVBULBS09SPXP850I)
ELECTRICAL, GAUGES and INDICATORS - A11DH50FX (49ATVGAUGES08X2500QUAD)
ELECTRICAL, HARNESSES - A11DH50FX (49ATVHARNESS11SPTRG500I)
ELECTRICAL, HEADLIGHTS - A11DH50FX (49ATVHEADLTASM11SP500TR)
ELECTRICAL, IGNITION SYSTEM - A11DH50FX (49ATVMAGNETO11SP500TRG)
ELECTRICAL, SWITCHES, SENSORS and ECM - A11DH50FX (49ATVELECT10SP500TRG)
ELECTRICAL, TAILLIGHTS - A11DH50FX (49ATVTAILLAMPS08SPTRG500QD)
ELECTRICAL, TURN SIGNALS and HORN - A11DH50FX (49ATVTURNSIG11SPTRG500I)
ENGINE, AIR INTAKE SYSTEM - A11DH50FX (49ATVAIRBOX10SP500TRG)
ENGINE, CARBURETOR MOUNTING and FUEL LINES - A11DH50FX (49ATVCARBBRKT11SP500I)
ENGINE, CARBURETOR, LOWER - A11DH50FX (4999200099920009D08)
ENGINE, CARBURETOR, UPPER - A11DH50FX (49ATVCARBUPPER08SP500)
ENGINE, COOLING SYSTEM - A11DH50FX (49ATVCOOL11SP500TRG)
ENGINE, CRANKCASE - A11DH50FX (49ATVCRANKCASE11SP500)
ENGINE, CRANKSHAFT and PISTON - A11DH50FX (49ATVCRANKSHAFT08SP500)
ENGINE, CYLINDER and HEAD - A11DH50FX (49ATVCYLINDER08SP500)
ENGINE, EXHAUST - A11DH50FX (49ATVEXHAUST10SPTRG500)
ENGINE, FLYWHEEL COVER - A11DH50FX (49RGRFLYWHEELCVR11500EFI)
ENGINE, FUEL PUMP - A11DH50FX (49ATVFUELPUMP11SP500)
ENGINE, MOUNTING - A11DH50FX (49ATVENGINEMTG11SP500TRG)
ENGINE, OIL FILTER - A11DH50FX (4999200099920009D13)
ENGINE, OIL PUMP - A11DH50FX (49ATVOILPUMP09SP500)
ENGINE, OIL SYSTEM - A11DH50FX (4999204069920406B07)
ENGINE, SHORT BLOCK - A11DH50FX (49ATVENGINE08SP500)
ENGINE, STARTING SYSTEM - A11DH50FX (49ATVSTARTER09TB)
ENGINE, VALVES and CAMSHAFT - A11DH50FX (49ATVVALVE08SP500)
ENGINE, WATER PUMP - A11DH50FX (49ATVWATERPUMP10SP500)
STEERING, CONTROLS and THROTTLE - A11DH50FX (49ATVCONTROLS10SPTRG500)
STEERING, HANDLEBAR and CONTROLS - A11DH50FX (49ATVHANDLEBAR10SP500TRGI)
STEERING, STEERING POST - A11DH50FX (49ATVSTEERING08SPTRG500QD)
STEERING, STEERING POST LOCK - A11DH50FX (49ATVSTEERINGLOCK08X2500QUAD)
SUSPENSION, A-ARM and STRUT MOUNTING - A11DH50FX (49ATVAARM08SPX25)
SUSPENSION, FRONT STRUT - A11DH50FX (49ATVSTRUT10SP500I)
SUSPENSION, REAR - A11DH50FX (49ATVSUSPRR10SPTRG500)
SUSPENSION, TORSION BAR - A11DH50FX (49ATVTORSION08SPX25)
TOOLS, TOOL KIT - A11DH50FX (49ATVTOOL08SPX25)
WHEELS, FRONT - A11DH50FX (49ATVWHEELFRT10SP500TRG)
WHEELS, REAR - A11DH50FX (49ATVWHEELREAR10SP500TRG)
VIEW WISH LIST