Polaris
Browse New Models
Shop In-Stock
Honda
Browse New Models
Shop In-Stock
KTM
Browse New Models
Shop In-Stock
Beta
Browse New Models
Shop In-Stock
Timbersled
Browse New Models
1318 W 2nd St
,
The Dalles, OR
97058
541-298-1161
Search Inventory
Toggle navigation
Home
Brands
Inventory
All Inventory In Stock
New Inventory In Stock
Pre-Owned Inventory
Polaris Off-Road
Polaris Snowmobiles
Timbersled
Manufacturer Models
Value Your Trade-In
Request a Model
Government Purchasing Program
OEM Promotions
Secure Financing
Parts
Parts Department
Parts Finder
Shopping Cart
Service
Service Department
Warranty & Recall Look-Up
Schedule Polaris Service
Financing
About
Our Dealership
Our Team
Reviews
Customer Survey
Employment
Location & Hours
Contact
541-298-1161
The Dalles, OR
Fiche | Parts Diagrams
Home
›
Parts
›
Parts Finder
Search by :
Part / Desc
VIN
Please Select
Honda
KTM
Polaris
*Please enter at least 3 characters
SEARCH
Manufacturer
Polaris
ATVs
2013
INTL SPORTSMAN X2 550 (A13TN55FA)
VIEW WISH LIST
Select a Section
Show/Hide
BODY, BOX FRAME and LATCH - A13TN55FA (49ATVBOX11SPX2550)
BODY, BOX, REAR - A13TN55FA (49ATVBOXRR10SP550X2)
BODY, CLUTCH COVER - A13TN55FA (49ATVCLUTCHCVR11SPTRGEPS)
BODY, DECALS - A13TN55FA (49ATVDECAL13SPX2550I)
BODY, FRONT BUMPER and MOUNTING - A13TN55FA (49ATVBUMPER11SPXP850)
BODY, FRONT CAB - A13TN55FA (49ATVCAB12SPTRGEPS)
BODY, FRONT CARGO BOX - A13TN55FA (49ATVBOX11SP850)
BODY, FRONT RACK SUPPORT - A13TN55FA (49ATVRACKMTG11SPTRG550)
BODY, FUEL TANK - A13TN55FA (49ATVFUEL13SPX2550)
BODY, HEADLIGHT POD - A13TN55FA (49ATVHEADLIGHT09SPXP550)
BODY, MIRRORS - A13TN55FA (49ATVMIRRORS09SP500TR)
BODY, REAR CAB and FOOTWELL - A13TN55FA (49ATVFOOTWELL11SPX2550)
BODY, SEAT, OPERATOR - A13TN55FA (49ATVSEAT11SPX2550)
BODY, SEAT, PASSENGER, BACK - A13TN55FA (49ATVSEATBACK08SPX27)
BODY, SEAT, PASSENGER, BOTTOM - A13TN55FA (49ATVSEATBOTTOM11SPX2550)
BODY, SKID PLATES - A13TN55FA (49ATVSKIDPLATE12SPTRG550)
BODY, TAILGATE - A13TN55FA (49ATVTAILGATEMTG09SPX25)
BODY, TAILGATE BRACKETS - A13TN55FA (49ATVTAILGATEMTG08SPX25)
BRAKES, BRAKE LINES - A13TN55FA (49ATVBRAKELINE11SPX2550I)
BRAKES, BRAKE PEDAL and MASTER CYLINDER - A13TN55FA (49ATVBRAKEFOOT13SP850F)
BRAKES, FRONT BRAKE LEVER and MASTER CYLINDER - A13TN55FA (49ATVMCLH09SPXP550)
BRAKES, FRONT CALIPER - A13TN55FA (49ATVBRAKERR09SPXP850)
BRAKES, REAR CALIPER - A13TN55FA (49ATVBRAKERR09SPXP850I)
BRAKES, VALVE SYSTEM - A13TN55FA (49ATVBRAKEVALVE09SPXP850I)
CHASSIS, MAIN FRAME - A13TN55FA (49ATVFRAME12SPTRGEPS)
DRIVE TRAIN, DRIVE COUPLER - A13TN55FA (49ATVCOUPLER12SPTRGEPS)
DRIVE TRAIN, DRIVE SHAFT, FRONT - A13TN55FA (49ATVSHAFTDRIVE1332873)
DRIVE TRAIN, DRIVE SHAFT, REAR - A13TN55FA (49ATVSHAFTDRIVERR1332642)
DRIVE TRAIN, FRONT GEARCASE INTERNALS - A13TN55FA (49ATVGEARCASE1332963)
DRIVE TRAIN, GEAR SELECTOR - A13TN55FA (49ATVGEARSELECT09SPXP550)
DRIVE TRAIN, GEARCASE MOUNTING, FRONT - A13TN55FA (49ATVGEARCASEMTG13SP850F)
DRIVE TRAIN, GEARCASE MOUNTING, REAR - A13TN55FA (49ATVGEARCASEMTGRR09SPXP550)
DRIVE TRAIN, MAIN GEARCASE - A13TN55FA (49ATVGEARCASE1332847)
DRIVE TRAIN, MAIN GEARCASE INTERNALS - A13TN55FA (49ATVTRANSINTL1332847)
DRIVE TRAIN, MAIN GEARCASE SHIFT FORKS - A13TN55FA (49ATVSHIFT09SPXP850)
DRIVE TRAIN, PRIMARY CLUTCH - A13TN55FA (49ATVCLUTCH10SPXP550)
DRIVE TRAIN, PROP SHAFT, FRONT - A13TN55FA (49ATVSHAFTPROP09SPXP550)
DRIVE TRAIN, PROP SHAFT, REAR - A13TN55FA (49ATVSHAFTPROPRR10SP550X2)
DRIVE TRAIN, REAR DIFFERENTIAL INTERNALS - A13TN55FA (49ATVTRANSINTL1332723)
DRIVE TRAIN, SECONDARY CLUTCH - A13TN55FA (49ATVCLUTCHDRIVEN11SPTRG550)
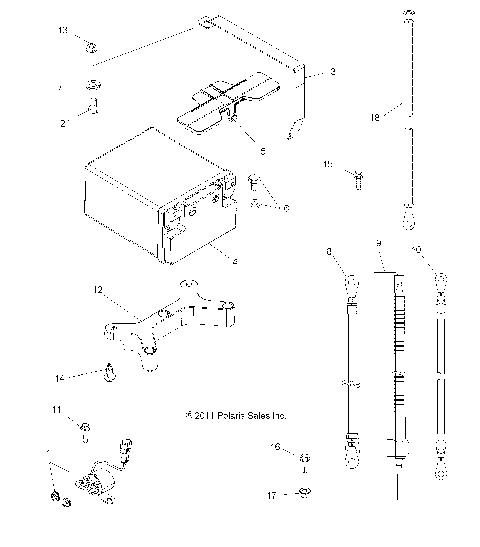
ELECTRICAL, BATTERY - A13TN55FA (49ATVBATTERY12SPEPS550)
ELECTRICAL, BULBS - A13TN55FA (49ATVBULBS09SPXP850I)
ELECTRICAL, GAUGES and INDICATORS - A13TN55FA (49ATVGAUGES11SPTRG550)
ELECTRICAL, HARNESS - A13TN55FA (49ATVHARNESS13SPX2550I)
ELECTRICAL, HEADLIGHTS - A13TN55FA (49ATVHEADLTASM09SPXP850I)
ELECTRICAL, IGNITION SYSTEM - A13TN55FA (49ATVMAGNETO11SPTRG550)
ELECTRICAL, SWITCHES, SENSORS, ECU and CONTROL MODULES - A13TN55FA (49ATVSWITCHES11SPX2550I)
ELECTRICAL, TAILLIGHTS - A13TN55FA (49ATVTAILLAMPS09SPX2500QD)
ELECTRICAL, TURN SIGNALS and HORN - A13TN55FA (49ATVTURNSIG11SPX2550I)
ENGINE, AIR INTAKE - A13TN55FA (49ATVAIRINTAKE11SP550)
ENGINE, BREATHER - A13TN55FA (49ATVBREATHER09SPXP550)
ENGINE, COOLING SYSTEM - A13TN55FA (49ATVCOOL11SPTRG550)
ENGINE, COOLING SYSTEM and WATER PUMP - A13TN55FA (49ATVWATERPUMP12SP550)
ENGINE, CRANKCASE - A13TN55FA (49ATVCRANKCASE09SPXP550)
ENGINE, CRANKSHAFT and PISTON - A13TN55FA (49ATVCRANKSHAFT09SPXP550)
ENGINE, CYLINDER - A13TN55FA (49ATVCYLINDER11SPXP550)
ENGINE, EXHAUST - A13TN55FA (49ATVEXHAUST11SPTRG550)
ENGINE, FUEL INJECTOR - A13TN55FA (49ATVFUELINJECT09SPXP550)
ENGINE, MAGNETO COVER - A13TN55FA (49ATVMAGNETOCVR09SPXP550)
ENGINE, MOUNTING - A13TN55FA (49ATVENGINEMTG10SPXP550)
ENGINE, OIL FILTER - A13TN55FA (49ATVOILFILTER09SPXP550)
ENGINE, OIL PUMP - A13TN55FA (49ATVOILPUMP09SPXP550)
ENGINE, SHORT BLOCK - A13TN55FA (49ATVENGINE09SPXP550)
ENGINE, STARTING SYSTEM - A13TN55FA (49ATVSTARTER11SPXP550)
ENGINE, THROTTLE BODY - A13TN55FA (49ATVTHROTTLEBODY09SPXP550)
ENGINE, VALVES and CAMSHAFT - A13TN55FA (49ATVVALVE09SPXP550)
REFERENCE, OWNERS MANUAL - A13TN55FA (49ATVOM07OTLW90)
STEERING, CONTROLS, THROTTLE ASM. and CABLE - A13TN55FA (49ATVCONTROLS10SPX2550)
STEERING, HANDLEBAR and CONTROLS - A13TN55FA (49ATVHANDLEBAR09SPXP850I)
STEERING, STEERING POST ASM. - A13TN55FA (49ATVSTEERING11SPX2550I)
SUSPENSION, FRONT A-ARMS - A13TN55FA (49ATVSUSPFRT10SPTRGEPS)
SUSPENSION, REAR - A13TN55FA (49ATVSUSPRR10SPXP550)
SUSPENSION, SHOCK, FRONT - A13TN55FA (49ATVSHOCKFRT7043168)
SUSPENSION, SHOCK, REAR - A13TN55FA (49ATVSHOCKRR7043169)
SUSPENSION, STABILIZER BAR - A13TN55FA (49ATVSTABILIZER10SPXP550)
TOOLS, TOOL KIT - A13TN55FA (49ATVTOOL10SPXP550)
WHEELS, FRONT and HUB - A13TN55FA (49ATVWHEELFRT10SPXP550)
WHEELS, REAR and HUB - A13TN55FA (49ATVWHEELREAR10SPXP550)
BODY, BOX FRAME and LATCH - A13TN55FA (49ATVBOX11SPX2550)
BODY, BOX, REAR - A13TN55FA (49ATVBOXRR10SP550X2)
BODY, CLUTCH COVER - A13TN55FA (49ATVCLUTCHCVR11SPTRGEPS)
BODY, DECALS - A13TN55FA (49ATVDECAL13SPX2550I)
BODY, FRONT BUMPER and MOUNTING - A13TN55FA (49ATVBUMPER11SPXP850)
BODY, FRONT CAB - A13TN55FA (49ATVCAB12SPTRGEPS)
BODY, FRONT CARGO BOX - A13TN55FA (49ATVBOX11SP850)
BODY, FRONT RACK SUPPORT - A13TN55FA (49ATVRACKMTG11SPTRG550)
BODY, FUEL TANK - A13TN55FA (49ATVFUEL13SPX2550)
BODY, HEADLIGHT POD - A13TN55FA (49ATVHEADLIGHT09SPXP550)
BODY, MIRRORS - A13TN55FA (49ATVMIRRORS09SP500TR)
BODY, REAR CAB and FOOTWELL - A13TN55FA (49ATVFOOTWELL11SPX2550)
BODY, SEAT, OPERATOR - A13TN55FA (49ATVSEAT11SPX2550)
BODY, SEAT, PASSENGER, BACK - A13TN55FA (49ATVSEATBACK08SPX27)
BODY, SEAT, PASSENGER, BOTTOM - A13TN55FA (49ATVSEATBOTTOM11SPX2550)
BODY, SKID PLATES - A13TN55FA (49ATVSKIDPLATE12SPTRG550)
BODY, TAILGATE - A13TN55FA (49ATVTAILGATEMTG09SPX25)
BODY, TAILGATE BRACKETS - A13TN55FA (49ATVTAILGATEMTG08SPX25)
BRAKES, BRAKE LINES - A13TN55FA (49ATVBRAKELINE11SPX2550I)
BRAKES, BRAKE PEDAL and MASTER CYLINDER - A13TN55FA (49ATVBRAKEFOOT13SP850F)
BRAKES, FRONT BRAKE LEVER and MASTER CYLINDER - A13TN55FA (49ATVMCLH09SPXP550)
BRAKES, FRONT CALIPER - A13TN55FA (49ATVBRAKERR09SPXP850)
BRAKES, REAR CALIPER - A13TN55FA (49ATVBRAKERR09SPXP850I)
BRAKES, VALVE SYSTEM - A13TN55FA (49ATVBRAKEVALVE09SPXP850I)
CHASSIS, MAIN FRAME - A13TN55FA (49ATVFRAME12SPTRGEPS)
DRIVE TRAIN, DRIVE COUPLER - A13TN55FA (49ATVCOUPLER12SPTRGEPS)
DRIVE TRAIN, DRIVE SHAFT, FRONT - A13TN55FA (49ATVSHAFTDRIVE1332873)
DRIVE TRAIN, DRIVE SHAFT, REAR - A13TN55FA (49ATVSHAFTDRIVERR1332642)
DRIVE TRAIN, FRONT GEARCASE INTERNALS - A13TN55FA (49ATVGEARCASE1332963)
DRIVE TRAIN, GEAR SELECTOR - A13TN55FA (49ATVGEARSELECT09SPXP550)
DRIVE TRAIN, GEARCASE MOUNTING, FRONT - A13TN55FA (49ATVGEARCASEMTG13SP850F)
DRIVE TRAIN, GEARCASE MOUNTING, REAR - A13TN55FA (49ATVGEARCASEMTGRR09SPXP550)
DRIVE TRAIN, MAIN GEARCASE - A13TN55FA (49ATVGEARCASE1332847)
DRIVE TRAIN, MAIN GEARCASE INTERNALS - A13TN55FA (49ATVTRANSINTL1332847)
DRIVE TRAIN, MAIN GEARCASE SHIFT FORKS - A13TN55FA (49ATVSHIFT09SPXP850)
DRIVE TRAIN, PRIMARY CLUTCH - A13TN55FA (49ATVCLUTCH10SPXP550)
DRIVE TRAIN, PROP SHAFT, FRONT - A13TN55FA (49ATVSHAFTPROP09SPXP550)
DRIVE TRAIN, PROP SHAFT, REAR - A13TN55FA (49ATVSHAFTPROPRR10SP550X2)
DRIVE TRAIN, REAR DIFFERENTIAL INTERNALS - A13TN55FA (49ATVTRANSINTL1332723)
DRIVE TRAIN, SECONDARY CLUTCH - A13TN55FA (49ATVCLUTCHDRIVEN11SPTRG550)
ELECTRICAL, BATTERY - A13TN55FA (49ATVBATTERY12SPEPS550)
ELECTRICAL, BULBS - A13TN55FA (49ATVBULBS09SPXP850I)
ELECTRICAL, GAUGES and INDICATORS - A13TN55FA (49ATVGAUGES11SPTRG550)
ELECTRICAL, HARNESS - A13TN55FA (49ATVHARNESS13SPX2550I)
ELECTRICAL, HEADLIGHTS - A13TN55FA (49ATVHEADLTASM09SPXP850I)
ELECTRICAL, IGNITION SYSTEM - A13TN55FA (49ATVMAGNETO11SPTRG550)
ELECTRICAL, SWITCHES, SENSORS, ECU and CONTROL MODULES - A13TN55FA (49ATVSWITCHES11SPX2550I)
ELECTRICAL, TAILLIGHTS - A13TN55FA (49ATVTAILLAMPS09SPX2500QD)
ELECTRICAL, TURN SIGNALS and HORN - A13TN55FA (49ATVTURNSIG11SPX2550I)
ENGINE, AIR INTAKE - A13TN55FA (49ATVAIRINTAKE11SP550)
ENGINE, BREATHER - A13TN55FA (49ATVBREATHER09SPXP550)
ENGINE, COOLING SYSTEM - A13TN55FA (49ATVCOOL11SPTRG550)
ENGINE, COOLING SYSTEM and WATER PUMP - A13TN55FA (49ATVWATERPUMP12SP550)
ENGINE, CRANKCASE - A13TN55FA (49ATVCRANKCASE09SPXP550)
ENGINE, CRANKSHAFT and PISTON - A13TN55FA (49ATVCRANKSHAFT09SPXP550)
ENGINE, CYLINDER - A13TN55FA (49ATVCYLINDER11SPXP550)
ENGINE, EXHAUST - A13TN55FA (49ATVEXHAUST11SPTRG550)
ENGINE, FUEL INJECTOR - A13TN55FA (49ATVFUELINJECT09SPXP550)
ENGINE, MAGNETO COVER - A13TN55FA (49ATVMAGNETOCVR09SPXP550)
ENGINE, MOUNTING - A13TN55FA (49ATVENGINEMTG10SPXP550)
ENGINE, OIL FILTER - A13TN55FA (49ATVOILFILTER09SPXP550)
ENGINE, OIL PUMP - A13TN55FA (49ATVOILPUMP09SPXP550)
ENGINE, SHORT BLOCK - A13TN55FA (49ATVENGINE09SPXP550)
ENGINE, STARTING SYSTEM - A13TN55FA (49ATVSTARTER11SPXP550)
ENGINE, THROTTLE BODY - A13TN55FA (49ATVTHROTTLEBODY09SPXP550)
ENGINE, VALVES and CAMSHAFT - A13TN55FA (49ATVVALVE09SPXP550)
REFERENCE, OWNERS MANUAL - A13TN55FA (49ATVOM07OTLW90)
STEERING, CONTROLS, THROTTLE ASM. and CABLE - A13TN55FA (49ATVCONTROLS10SPX2550)
STEERING, HANDLEBAR and CONTROLS - A13TN55FA (49ATVHANDLEBAR09SPXP850I)
STEERING, STEERING POST ASM. - A13TN55FA (49ATVSTEERING11SPX2550I)
SUSPENSION, FRONT A-ARMS - A13TN55FA (49ATVSUSPFRT10SPTRGEPS)
SUSPENSION, REAR - A13TN55FA (49ATVSUSPRR10SPXP550)
SUSPENSION, SHOCK, FRONT - A13TN55FA (49ATVSHOCKFRT7043168)
SUSPENSION, SHOCK, REAR - A13TN55FA (49ATVSHOCKRR7043169)
SUSPENSION, STABILIZER BAR - A13TN55FA (49ATVSTABILIZER10SPXP550)
TOOLS, TOOL KIT - A13TN55FA (49ATVTOOL10SPXP550)
WHEELS, FRONT and HUB - A13TN55FA (49ATVWHEELFRT10SPXP550)
WHEELS, REAR and HUB - A13TN55FA (49ATVWHEELREAR10SPXP550)
VIEW WISH LIST