Polaris
Browse New Models
Shop In-Stock
Honda
Browse New Models
Shop In-Stock
KTM
Browse New Models
Shop In-Stock
Beta
Browse New Models
Shop In-Stock
Timbersled
Browse New Models
1318 W 2nd St
,
The Dalles, OR
97058
541-298-1161
Search Inventory
Toggle navigation
Home
Brands
Inventory
All Inventory In Stock
New Inventory In Stock
Pre-Owned Inventory
Polaris Off-Road
Polaris Snowmobiles
Timbersled
Manufacturer Models
Value Your Trade-In
Request a Model
Government Purchasing Program
OEM Promotions
Secure Financing
Parts
Parts Department
Parts Finder
Shopping Cart
Service
Service Department
Warranty & Recall Look-Up
Schedule Polaris Service
Financing
About
Our Dealership
Our Team
Reviews
Customer Survey
Employment
Location & Hours
Contact
541-298-1161
The Dalles, OR
Fiche | Parts Diagrams
Home
›
Parts
›
Parts Finder
Search by :
Part / Desc
VIN
Please Select
Honda
KTM
Polaris
*Please enter at least 3 characters
SEARCH
Manufacturer
Polaris
Snowmobiles
2007
340 EDGE TOURING (S07NT3AS/AE)
VIEW WISH LIST
Select a Section
Show/Hide
BATTERY BOX - S07NT3AS/AE (4997299729B14)
BRAKE SYSTEM - S07NT3AS/AE (4997239723B04)
BUMPER/HITCH/FLAP - S07NT3AS/AE (49SNOWBUMPER340TOUR)
CARGO BOX/TAILLIGHT ASM. - S07NT3AS/AE (49SNOWCARGO340TOUR)
CHAINCASE - S07NT3AS/AE (4997239723C04)
CHASSIS - S07NT3AS/AE (49SNOWCHASSIS340TOUR)
CONSOLE - S07NT3AS/AE (4997299729B13)
DECALS - S07NT3AS/AE (49SNOWDECAL340TOUR)
DRIVE CLUTCH - S07NT3AS/AE (4997299729B11)
DRIVE TRAIN - S07NT3AS/AE (49SNOWDRIVETRAIN340LX)
DRIVEN CLUTCH - S07NT3AS/AE (49SNOWDRIVENCLUTCHTRAILRMK)
ENGINE BLOWER HOUSING and RECOIL STARTER - S07NT3AS/AE (4997299729C08)
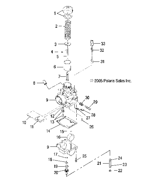
ENGINE, CARBURETOR - S07NT3AS/AE (4997299729C12)
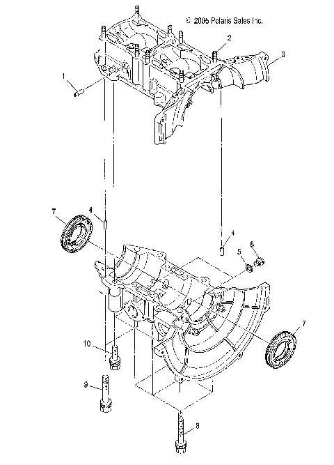
ENGINE, CRANKCASE - S07NT3AS/AE (4997299729C05)
ENGINE, CYLINDER - S07NT3AS/AE (4997299729C06)
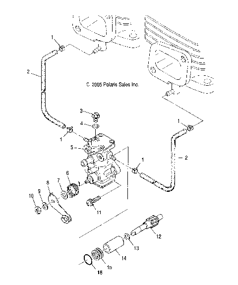
ENGINE, FUEL PUMP - S07NT3AS/AE (4997299729C09)
ENGINE, MAGNETO - S07NT3AS/AE (4997299729C11)
ENGINE, MOUNTING - S07NT3AS/AE (4997299729C02)
ENGINE, OIL PUMP - S07NT3AS/AE (4997299729C10)
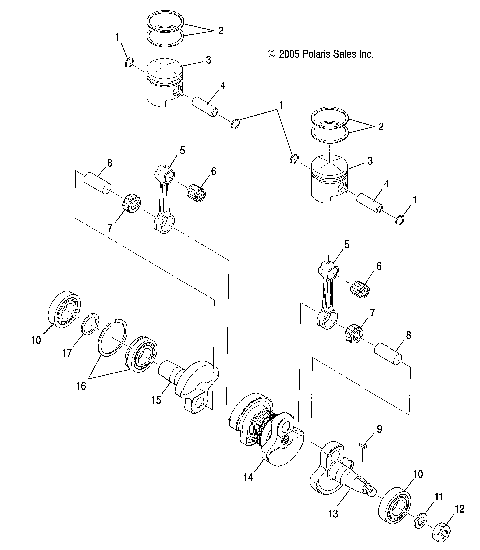
ENGINE, PISTON and CRANKSHAFT - S07NT3AS/AE (4997299729C07)
ENGINE, STARTING MOTOR - S07NT3AS/AE (4997299729C13)
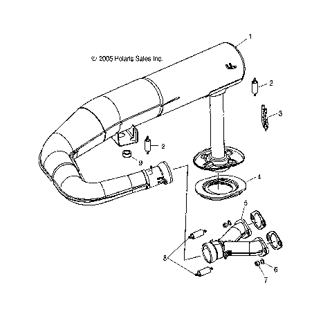
EXHAUST SYSTEM - S07NT3AS/AE (4997299729C04)
FUEL SYSTEM - S07NT3AS/AE (4997299729A07)
HANDLEBAR - S07NT3AS/AE (49SNOWHANDLEBAR550)
HOOD FOAM/FOIL/SCREENS - S07NT3AS/AE (4997299729A12)
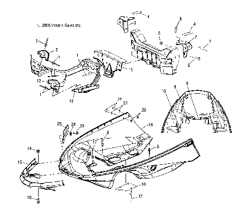
HOOD/HEADLIGHT - S07NT3AS/AE (49SNOWHOODHEADLIGHT340LX)
HOOD/WINDSHIELD - S07NT3AS/AE (4997299729A11)
NOSEPAN/BUMPER - S07NT3AS/AE (4997299729A08)
NOSEPAN/FOIL - S07NT3AS/AE (49SNOWNOSEPANFOIL340LX)
OIL TANK/AIRBOX - S07NT3AS/AE (4997299729C01)
SEAT - S07NT3AS/AE (49SNOWSEAT340TOUR)
SKI ASSEMBLY - S07NT3AS/AE (49SNOWSKIASMSUPER)
STEERING - S07NT3AS/AE (4997299729B02)
STEERING/POST - S07NT3AS/AE (4997259725B02)
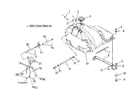
SUSPENSION - S07NT3AS/AE (49SNOWSUSPRR340TOUR)
SUSPENSION, FRONT - S07NT3AS/AE (4997239723A12)
SUSPENSION, RAIL MOUNTING - S07NT3AS/AE (49SNOWSUSPRAIL07340TRG)
TOOL KIT - S07NT3AS/AE (49SNOWTOOL340LX)
TORQUE ARM, FRONT - S07NT3AS/AE (4997299729B09)
TORQUE ARM, REAR - S07NT3AS/AE (4997299729B10)
BATTERY BOX - S07NT3AS/AE (4997299729B14)
BRAKE SYSTEM - S07NT3AS/AE (4997239723B04)
BUMPER/HITCH/FLAP - S07NT3AS/AE (49SNOWBUMPER340TOUR)
CARGO BOX/TAILLIGHT ASM. - S07NT3AS/AE (49SNOWCARGO340TOUR)
CHAINCASE - S07NT3AS/AE (4997239723C04)
CHASSIS - S07NT3AS/AE (49SNOWCHASSIS340TOUR)
CONSOLE - S07NT3AS/AE (4997299729B13)
DECALS - S07NT3AS/AE (49SNOWDECAL340TOUR)
DRIVE CLUTCH - S07NT3AS/AE (4997299729B11)
DRIVE TRAIN - S07NT3AS/AE (49SNOWDRIVETRAIN340LX)
DRIVEN CLUTCH - S07NT3AS/AE (49SNOWDRIVENCLUTCHTRAILRMK)
ENGINE BLOWER HOUSING and RECOIL STARTER - S07NT3AS/AE (4997299729C08)
ENGINE, CARBURETOR - S07NT3AS/AE (4997299729C12)
ENGINE, CRANKCASE - S07NT3AS/AE (4997299729C05)
ENGINE, CYLINDER - S07NT3AS/AE (4997299729C06)
ENGINE, FUEL PUMP - S07NT3AS/AE (4997299729C09)
ENGINE, MAGNETO - S07NT3AS/AE (4997299729C11)
ENGINE, MOUNTING - S07NT3AS/AE (4997299729C02)
ENGINE, OIL PUMP - S07NT3AS/AE (4997299729C10)
ENGINE, PISTON and CRANKSHAFT - S07NT3AS/AE (4997299729C07)
ENGINE, STARTING MOTOR - S07NT3AS/AE (4997299729C13)
EXHAUST SYSTEM - S07NT3AS/AE (4997299729C04)
FUEL SYSTEM - S07NT3AS/AE (4997299729A07)
HANDLEBAR - S07NT3AS/AE (49SNOWHANDLEBAR550)
HOOD FOAM/FOIL/SCREENS - S07NT3AS/AE (4997299729A12)
HOOD/HEADLIGHT - S07NT3AS/AE (49SNOWHOODHEADLIGHT340LX)
HOOD/WINDSHIELD - S07NT3AS/AE (4997299729A11)
NOSEPAN/BUMPER - S07NT3AS/AE (4997299729A08)
NOSEPAN/FOIL - S07NT3AS/AE (49SNOWNOSEPANFOIL340LX)
OIL TANK/AIRBOX - S07NT3AS/AE (4997299729C01)
SEAT - S07NT3AS/AE (49SNOWSEAT340TOUR)
SKI ASSEMBLY - S07NT3AS/AE (49SNOWSKIASMSUPER)
STEERING - S07NT3AS/AE (4997299729B02)
STEERING/POST - S07NT3AS/AE (4997259725B02)
SUSPENSION - S07NT3AS/AE (49SNOWSUSPRR340TOUR)
SUSPENSION, FRONT - S07NT3AS/AE (4997239723A12)
SUSPENSION, RAIL MOUNTING - S07NT3AS/AE (49SNOWSUSPRAIL07340TRG)
TOOL KIT - S07NT3AS/AE (49SNOWTOOL340LX)
TORQUE ARM, FRONT - S07NT3AS/AE (4997299729B09)
TORQUE ARM, REAR - S07NT3AS/AE (4997299729B10)
VIEW WISH LIST