Polaris
Browse New Models
Shop In-Stock
Honda
Browse New Models
Shop In-Stock
KTM
Browse New Models
Shop In-Stock
Beta
Browse New Models
Shop In-Stock
Timbersled
Browse New Models
1318 W 2nd St
,
The Dalles, OR
97058
541-298-1161
Search Inventory
Toggle navigation
Home
Brands
Inventory
All Inventory In Stock
New Inventory In Stock
Pre-Owned Inventory
Polaris Off-Road
Polaris Snowmobiles
Timbersled
Manufacturer Models
Value Your Trade-In
Request a Model
Government Purchasing Program
OEM Promotions
Secure Financing
Parts
Parts Department
Parts Finder
Shopping Cart
Service
Service Department
Warranty & Recall Look-Up
Schedule Polaris Service
Financing
About
Our Dealership
Our Team
Reviews
Customer Survey
Employment
Location & Hours
Contact
541-298-1161
The Dalles, OR
Fiche | Parts Diagrams
Home
›
Parts
›
Parts Finder
Search by :
Part / Desc
VIN
Please Select
Honda
KTM
Polaris
*Please enter at least 3 characters
SEARCH
Manufacturer
Polaris
Snowmobiles
2008
TURBO SWITCHBACK/EURO (S08PR7FS/FE)
VIEW WISH LIST
Select a Section
Show/Hide
BODY, CONSOLE - S08PR7FS/FE (49SNOWCONSOLEFSTSWTCH)
BODY, DECAL - S08PR7FS/FE (49SNOWDECAL08SBTRBO)
BODY, FENDERS and SIDE PANELS - S08PR7FS/FE (49SNOWFENDERS08IQTRBO)
BODY, HOOD ASM. - S08PR7FS/FE (49SNOWHOOD08IQTRBO)
BODY, HOOD FOAM, FOIL and SCREENS - S08PR7FS/FE (49SNOWHOODSCFLFSTSWTCH)
BODY, NOSEPAN and FRONT BUMPER - S08PR7FS/FE (49SNOWBUMPER08SBTRBO)
BODY, SEAT ASM. - S08PR7FS/FE (49SNOWSEAT086008BALL)
BODY, WINDSHIELD - S08PR7FS/FE (49SNOWWINDSHLD086008BALL)
BRAKES, BRAKE SYSTEM - S08PR7FS/FE (4997479747B02)
CHASSIS REAR BUMPER, SNOWFLAP and TAILLIGHT - S08PR7FS/FE (49SNOWTAILLIGHT086008BALL)
CHASSIS, FRONT - S08PR7FS/FE (49SNOWCHASSISFRT08SBTRBO)
COOLER, INTER - S08PR7FS/FE (49SNOWCOOLERFSTIQSWTCH)
DRIVE TRAIN, DRIVE SHAFT and JACKSHAFT - S08PR7FS/FE (49SNOWDRIVETRAIN08SBTRBO)
DRIVE TRAIN, GEARCASE ASM. - S08PR7FS/FE (49SNOWGEARCASE07FST)
DRIVE TRAIN, GEARCASE COVER - S08PR7FS/FE (49SNOWGEARCASECVR08SBTRBO)
DRIVE TRAIN, GEARCASE MOUNTING - S08PR7FS/FE (49SNOWGEARCASEMTG08SBTRBO)
DRIVE TRAIN, PRIMARY CLUTCH - S08PR7FS/FE (49SNOWDRIVECLUTCH08IQTRBO)
DRIVE TRAIN, SECONDARY CLUTCH - S08PR7FS/FE (49SNOWDRIVENCLUTCH08600TRG)
ELECTRICAL, BATTERY - S08PR7FS/FE (49SNOWBATTERY08IQTRBO)
ELECTRICAL, ECU MOUNTING - S08PR7FS/FE (49SNOWECU08SBTRBO)
ELECTRICAL, HEADLIGHT - S08PR7FS/FE (49SNOWHEADLGHT08RMK155)
ELECTRICAL, IGNITION COILS and SPARK PLUGS - S08PR7FS/FE (4997479747D06)
ELECTRICAL, SENSORS and COMPONENTS - S08PR7FS/FE (49SNOWSENSOR08IQTRBO)
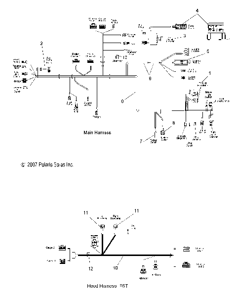
ELECTRICAL, WIRE HARNESS, MAIN - S08PR7FS/FE (49SNOWWIREHARNESS08IQTRBO)
ENGINE, AIR INTAKE SYSTEM - S08PR7FS/FE (49SNOWAIR08IQTRBO)
ENGINE, ALTERNATOR - S08PR7FS/FE (49SNOWALTERNATORFSTSWTCH)
ENGINE, CAM CHAIN and TENSIONERS - S08PR7FS/FE (4997479747D11)
ENGINE, COOLANT RAIL - S08PR7FS/FE (49SNOWCOOLANTFSTIQ)
ENGINE, COOLING SYSTEM - S08PR7FS/FE (49SNOWCOOLING08SBTRBO)
ENGINE, CRANKSHAFT and BALANCE SHAFT - S08PR7FS/FE (4997479747E02)
ENGINE, CYLINDER and CRANKCASE - S08PR7FS/FE (49SNOWCYLINDER08IQTRBO)
ENGINE, DRIVE GEAR and PULLEY - S08PR7FS/FE (4997479747E06)
ENGINE, EXHAUST - S08PR7FS/FE (49SNOWEXHAUSTFSTSWTCH)
ENGINE, FUEL RAIL - S08PR7FS/FE (4997479747E03)
ENGINE, MOUNTING, LH - S08PR7FS/FE (49SNOWENGINEMOUNTLH08IQTRBO)
ENGINE, MOUNTING, RH and FRONT - S08PR7FS/FE (49SNOWENGINEMOUNTRH08IQTRBO)
ENGINE, OIL COOLING SYSTEM - S08PR7FS/FE (49SNOWOILTANK08IQTRBO)
ENGINE, OIL FILTER - S08PR7FS/FE (49SNOWOILFILTERFS)
ENGINE, OIL PUMP - S08PR7FS/FE (4997479747E01)
ENGINE, OIL SUMP - S08PR7FS/FE (49SNOWOILSUMP11IQ)
ENGINE, PISTON - S08PR7FS/FE (4997479747D12)
ENGINE, REFERENCE HOSES - S08PR7FS/FE (49SNOWHOSES08IQTRBO)
ENGINE, SHORT BLOCK - S08PR7FS/FE (49SNOWENGINE08SBTRBO)
ENGINE, STARTER MOTOR - S08PR7FS/FE (4997479747E04)
ENGINE, THROTTLE BODY and INTAKE MANIFOLD - S08PR7FS/FE (4997479747D09)
ENGINE, TURBO - S08PR7FS/FE (49SNOWTURBOFST)
ENGINE, VALVE COVER - S08PR7FS/FE (49SNOWVALVECVR08IQTRBO)
ENGINE, VALVE TRAIN - S08PR7FS/FE (4997479747D13)
ENGINE, VALVES - S08PR7FS/FE (4997479747D14)
ENGINE, WATER PUMP - S08PR7FS/FE (4997479747D10)
ENGINE, WIRE HARNESS KIT - S08PR7FS/FE (49SNOWHARNESSFSTSWTCH)
FUEL SYSTEM, FUEL TANK and FUEL LINES - S08PR7FS/FE (49SNOWFUEL08SBTRBO)
STEERING, DRAG LINK - S08PR7FS/FE (49SNOWSTEERINGDRGLK08IQTRBO)
STEERING, HANDLEBAR - S08PR7FS/FE (49SNOWHANDLEBAR08IQTRBO)
STEERING, LOWER - S08PR7FS/FE (49SNOWSTEERINGLWR08IQTRBO)
STEERING, SKI ASM. - S08PR7FS/FE (49SNOWSKIASM600HO)
STEERING, STEERING HOOP - S08PR7FS/FE (49SNOWSTEERINGHOOPFSTSWTCH)
STEERING, STEERING POST ASM. - S08PR7FS/FE (4997479747B10)
SUSPENSION, FRONT - S08PR7FS/FE (49SNOWSUSPFRT08IQTRBO)
SUSPENSION, RAIL MOUNTING - S08PR7FS/FE (49SNOWSUSPRAIL08SBTRBO)
SUSPENSION, REAR - S08PR7FS/FE (49SNOWSUSPRR08SBTRBO)
SUSPENSION, SHOCK, FRONT TRACK (7043244) - S08PR7FS/FE (49SNOWSHOCKFRONT7043244IQ)
SUSPENSION, SHOCK, IFS (7043245) - S08PR7FS/FE (49SNOWSHOCKIFS7043245SB)
SUSPENSION, SHOCK, REAR TRACK (FOX/7043177) - S08PR7FS/FE (49SNOWSHOCKREAR7043177)
SUSPENSION, SWAY BAR - S08PR7FS/FE (4997479747B05)
SUSPENSION, TORQUE ARM, FRONT - S08PR7FS/FE (49SNOWFTA086008BALL)
SUSPENSION, TORQUE ARM, REAR - S08PR7FS/FE (49SNOWTORQUEREAR086008BALL)
TOOLS, TOOL KIT and OWNERS MANUAL - S08PR7FS/FE (49SNOWTOOL08IQTRBO)
BODY, CONSOLE - S08PR7FS/FE (49SNOWCONSOLEFSTSWTCH)
BODY, DECAL - S08PR7FS/FE (49SNOWDECAL08SBTRBO)
BODY, FENDERS and SIDE PANELS - S08PR7FS/FE (49SNOWFENDERS08IQTRBO)
BODY, HOOD ASM. - S08PR7FS/FE (49SNOWHOOD08IQTRBO)
BODY, HOOD FOAM, FOIL and SCREENS - S08PR7FS/FE (49SNOWHOODSCFLFSTSWTCH)
BODY, NOSEPAN and FRONT BUMPER - S08PR7FS/FE (49SNOWBUMPER08SBTRBO)
BODY, SEAT ASM. - S08PR7FS/FE (49SNOWSEAT086008BALL)
BODY, WINDSHIELD - S08PR7FS/FE (49SNOWWINDSHLD086008BALL)
BRAKES, BRAKE SYSTEM - S08PR7FS/FE (4997479747B02)
CHASSIS REAR BUMPER, SNOWFLAP and TAILLIGHT - S08PR7FS/FE (49SNOWTAILLIGHT086008BALL)
CHASSIS, FRONT - S08PR7FS/FE (49SNOWCHASSISFRT08SBTRBO)
COOLER, INTER - S08PR7FS/FE (49SNOWCOOLERFSTIQSWTCH)
DRIVE TRAIN, DRIVE SHAFT and JACKSHAFT - S08PR7FS/FE (49SNOWDRIVETRAIN08SBTRBO)
DRIVE TRAIN, GEARCASE ASM. - S08PR7FS/FE (49SNOWGEARCASE07FST)
DRIVE TRAIN, GEARCASE COVER - S08PR7FS/FE (49SNOWGEARCASECVR08SBTRBO)
DRIVE TRAIN, GEARCASE MOUNTING - S08PR7FS/FE (49SNOWGEARCASEMTG08SBTRBO)
DRIVE TRAIN, PRIMARY CLUTCH - S08PR7FS/FE (49SNOWDRIVECLUTCH08IQTRBO)
DRIVE TRAIN, SECONDARY CLUTCH - S08PR7FS/FE (49SNOWDRIVENCLUTCH08600TRG)
ELECTRICAL, BATTERY - S08PR7FS/FE (49SNOWBATTERY08IQTRBO)
ELECTRICAL, ECU MOUNTING - S08PR7FS/FE (49SNOWECU08SBTRBO)
ELECTRICAL, HEADLIGHT - S08PR7FS/FE (49SNOWHEADLGHT08RMK155)
ELECTRICAL, IGNITION COILS and SPARK PLUGS - S08PR7FS/FE (4997479747D06)
ELECTRICAL, SENSORS and COMPONENTS - S08PR7FS/FE (49SNOWSENSOR08IQTRBO)
ELECTRICAL, WIRE HARNESS, MAIN - S08PR7FS/FE (49SNOWWIREHARNESS08IQTRBO)
ENGINE, AIR INTAKE SYSTEM - S08PR7FS/FE (49SNOWAIR08IQTRBO)
ENGINE, ALTERNATOR - S08PR7FS/FE (49SNOWALTERNATORFSTSWTCH)
ENGINE, CAM CHAIN and TENSIONERS - S08PR7FS/FE (4997479747D11)
ENGINE, COOLANT RAIL - S08PR7FS/FE (49SNOWCOOLANTFSTIQ)
ENGINE, COOLING SYSTEM - S08PR7FS/FE (49SNOWCOOLING08SBTRBO)
ENGINE, CRANKSHAFT and BALANCE SHAFT - S08PR7FS/FE (4997479747E02)
ENGINE, CYLINDER and CRANKCASE - S08PR7FS/FE (49SNOWCYLINDER08IQTRBO)
ENGINE, DRIVE GEAR and PULLEY - S08PR7FS/FE (4997479747E06)
ENGINE, EXHAUST - S08PR7FS/FE (49SNOWEXHAUSTFSTSWTCH)
ENGINE, FUEL RAIL - S08PR7FS/FE (4997479747E03)
ENGINE, MOUNTING, LH - S08PR7FS/FE (49SNOWENGINEMOUNTLH08IQTRBO)
ENGINE, MOUNTING, RH and FRONT - S08PR7FS/FE (49SNOWENGINEMOUNTRH08IQTRBO)
ENGINE, OIL COOLING SYSTEM - S08PR7FS/FE (49SNOWOILTANK08IQTRBO)
ENGINE, OIL FILTER - S08PR7FS/FE (49SNOWOILFILTERFS)
ENGINE, OIL PUMP - S08PR7FS/FE (4997479747E01)
ENGINE, OIL SUMP - S08PR7FS/FE (49SNOWOILSUMP11IQ)
ENGINE, PISTON - S08PR7FS/FE (4997479747D12)
ENGINE, REFERENCE HOSES - S08PR7FS/FE (49SNOWHOSES08IQTRBO)
ENGINE, SHORT BLOCK - S08PR7FS/FE (49SNOWENGINE08SBTRBO)
ENGINE, STARTER MOTOR - S08PR7FS/FE (4997479747E04)
ENGINE, THROTTLE BODY and INTAKE MANIFOLD - S08PR7FS/FE (4997479747D09)
ENGINE, TURBO - S08PR7FS/FE (49SNOWTURBOFST)
ENGINE, VALVE COVER - S08PR7FS/FE (49SNOWVALVECVR08IQTRBO)
ENGINE, VALVE TRAIN - S08PR7FS/FE (4997479747D13)
ENGINE, VALVES - S08PR7FS/FE (4997479747D14)
ENGINE, WATER PUMP - S08PR7FS/FE (4997479747D10)
ENGINE, WIRE HARNESS KIT - S08PR7FS/FE (49SNOWHARNESSFSTSWTCH)
FUEL SYSTEM, FUEL TANK and FUEL LINES - S08PR7FS/FE (49SNOWFUEL08SBTRBO)
STEERING, DRAG LINK - S08PR7FS/FE (49SNOWSTEERINGDRGLK08IQTRBO)
STEERING, HANDLEBAR - S08PR7FS/FE (49SNOWHANDLEBAR08IQTRBO)
STEERING, LOWER - S08PR7FS/FE (49SNOWSTEERINGLWR08IQTRBO)
STEERING, SKI ASM. - S08PR7FS/FE (49SNOWSKIASM600HO)
STEERING, STEERING HOOP - S08PR7FS/FE (49SNOWSTEERINGHOOPFSTSWTCH)
STEERING, STEERING POST ASM. - S08PR7FS/FE (4997479747B10)
SUSPENSION, FRONT - S08PR7FS/FE (49SNOWSUSPFRT08IQTRBO)
SUSPENSION, RAIL MOUNTING - S08PR7FS/FE (49SNOWSUSPRAIL08SBTRBO)
SUSPENSION, REAR - S08PR7FS/FE (49SNOWSUSPRR08SBTRBO)
SUSPENSION, SHOCK, FRONT TRACK (7043244) - S08PR7FS/FE (49SNOWSHOCKFRONT7043244IQ)
SUSPENSION, SHOCK, IFS (7043245) - S08PR7FS/FE (49SNOWSHOCKIFS7043245SB)
SUSPENSION, SHOCK, REAR TRACK (FOX/7043177) - S08PR7FS/FE (49SNOWSHOCKREAR7043177)
SUSPENSION, SWAY BAR - S08PR7FS/FE (4997479747B05)
SUSPENSION, TORQUE ARM, FRONT - S08PR7FS/FE (49SNOWFTA086008BALL)
SUSPENSION, TORQUE ARM, REAR - S08PR7FS/FE (49SNOWTORQUEREAR086008BALL)
TOOLS, TOOL KIT and OWNERS MANUAL - S08PR7FS/FE (49SNOWTOOL08IQTRBO)
VIEW WISH LIST