Polaris
Browse New Models
Shop In-Stock
Honda
Browse New Models
Shop In-Stock
KTM
Browse New Models
Shop In-Stock
Beta
Browse New Models
Shop In-Stock
Timbersled
Browse New Models
1318 W 2nd St
,
The Dalles, OR
97058
541-298-1161
Search Inventory
Toggle navigation
Home
Brands
Inventory
All Inventory In Stock
New Inventory In Stock
Pre-Owned Inventory
Polaris Off-Road
Polaris Snowmobiles
Timbersled
Manufacturer Models
Value Your Trade-In
Request a Model
Government Purchasing Program
OEM Promotions
Secure Financing
Parts
Parts Department
Parts Finder
Shopping Cart
Service
Service Department
Warranty & Recall Look-Up
Schedule Polaris Service
Financing
About
Our Dealership
Our Team
Reviews
Customer Survey
Employment
Location & Hours
Contact
541-298-1161
The Dalles, OR
Fiche | Parts Diagrams
Home
›
Parts
›
Parts Finder
Search by :
Part / Desc
VIN
Please Select
Honda
KTM
Polaris
*Please enter at least 3 characters
SEARCH
Manufacturer
Polaris
Snowmobiles
2009
600 IQ SHIFT/EURO (S09PB6FS/FE)
VIEW WISH LIST
Select a Section
Show/Hide
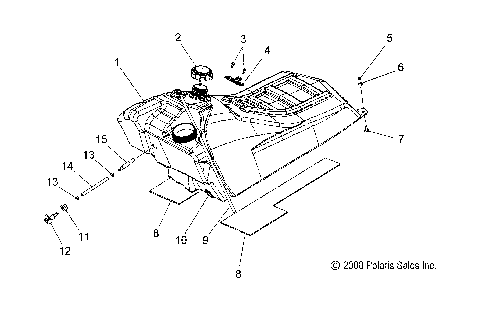
BODY, CONSOLE - S09PB6FS/FE (49SNOWCONSOLE09SHIFT)
BODY, DECAL - S09PB6FS/FE (49SNOWDECAL09SHIFT)
BODY, FENDER ASM., LH - S09PB6FS/FE (49SNOWFENDERS09SHIFT)
BODY, FENDER ASM., RH - S09PB6FS/FE (49SNOWFENDERFOAM09SHIFT)
BODY, FRONT BUMPER and NOSEPAN - S09PB6FS/FE (49SNOWBUMPER09SHIFT)
BODY, HOOD ASM. - S09PB6FS/FE (49SNOWHOOD09SHIFT)
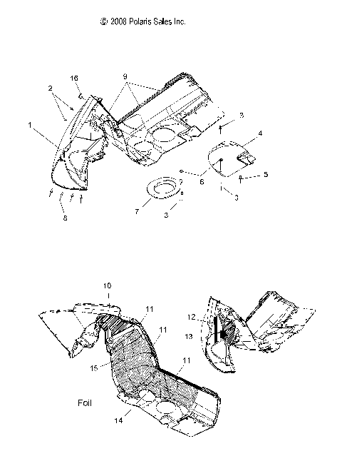
BODY, HOOD FOAM and FOIL - S09PB6FS/FE (49SNOWHOODSCFL09SHIFT)
BODY, HOOD SCREENS and HINGE ASM. - S09PB6FS/FE (49SNOWHOODMTG09SHIFT)
BODY, REAR BUMPER, SNOWFLAP, and TAILLIGHT HOUSING - S09PB6FS/FE (49SNOWRACK09SHIFT)
BODY, SEAT ASM. - S09PB6FS/FE (49SNOWSEAT09SHIFT)
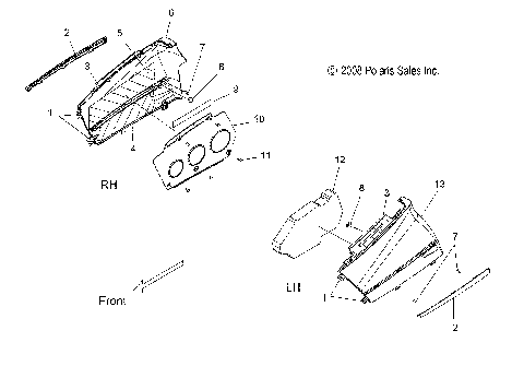
BODY, SIDE PANELS - S09PB6FS/FE (49SNOWPANEL09SHIFT)
BODY, WINDSHIELD - S09PB6FS/FE (49SNOWWINDSHLD086008BALL)
BRAKES, BRAKE SYSTEM - S09PB6FS/FE (49SNOWBRAKE09SHIFT)
CHASSIS, ASM. - S09PB6FS/FE (49SNOWCHASSIS09SHIFT)
CHASSIS, FOOTRESTS and CLUTCH GUARD - S09PB6FS/FE (49SNOWCLUTCHGUARD09SHIFT)
CHASSIS, FRONT - S08PB6FS/FE (49SNOWCHASSISFRT09SHIFT)
DRIVE TRAIN, CHAINCASE - S09PB6FS/FE (49SNOWCHAINCASE09SHIFT)
DRIVE TRAIN, CLUTCH, PRIMARY - S09PB6FS/FE (49SNOWDRIVECLUTCH09SHIFT)
DRIVE TRAIN, CLUTCH, SECONDARY - S09PB6FS/FE (49SNOWDRIVENCLUTCH09FSTRG)
DRIVE TRAIN, JACKSHAFT and DRIVESHAFT - S09PB6FS/FE (49SNOWDRIVETRAIN09SHIFT)
ELECTRICAL, HEADLIGHT and TAILLIGHT - S09PB6FS/FE (49SNOWHEADLGHT09SHIFT)
ELECTRICAL, IGNITION SYSTEM - S09PB6FS/FE (49SNOWMAGNETO009SHIFT)
ELECTRICAL, SPEEDOMETER and INDICATOR LIGHTS - S09PB6FS/FE (49SNOWSPEEDO09SHIFT)
ELECTRICAL, SWITCHES, SENSORS and COMPONENTS - S09PB6FS/FE (49SNOWELECT09SHIFT)
ELECTRICAL, WIRING HARNESSES - S09PB6FS/FE (49SNOWHARNESS09SHIFT)
ENGINE, AIR INTAKE SYSTEM - S09PB6FS/FE (49SNOWAIR09SHIFT)
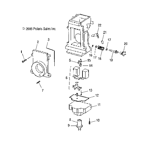
ENGINE, CARBURETOR AND CHOKE - S09PB6FS/FE (49SNOWCARBURETOR600HO)
ENGINE, CARBURETOR, LOWER - S09PB6FS/FE (49SNOWCARBLOWER086008BALL)
ENGINE, CARBURETOR, UPPER - S09PB6FS/FE (49SNOWCARBUPPER09SHIFT)
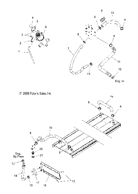
ENGINE, COOLING SYSTEM - S09PB6FS/FE (49SNOWCOOLING09SHIFT)
ENGINE, CRANKCASE - S09PB6FS/FE (49SNOWCRANKCASE09SHIFT)
ENGINE, CYLINDER - S09PB6FS/FE (49SNOWCYLINDER09SHIFT)
ENGINE, EXHAUST - S09PB6FS/FE (49SNOWEXHAUST09SHIFT)
ENGINE, EXHAUST VALVES and SOLENOID - S09PB6FS/FE (49SNOWEXHAUSTVALVES09SHIFT)
ENGINE, MOUNTING - S09PB6FS/FE (49SNOWENGINEMOUNT09SHIFT)
ENGINE, OIL BOTTLE - S09PB6FS/FE (49SNOWOILBOTTLE09600IQ)
ENGINE, OIL PUMP and OIL LINES - S09PB6FS/FE (49SNOWOILPUMP09SHIFT)
ENGINE, PISTON and CRANKSHAFT - S09PB6FS/FE (49SNOWPISTONCRANKSHAFT600HO)
ENGINE, RECOIL STARTER - S09PB6FS/FE (49SNOWRECOIL600HO)
ENGINE, REED VALVE and CARB ADAPTOR - S09PB6FS/FE (49SNOWCARBURETOR09SHIFT)
ENGINE, THROTTLE CONTROL ASM. - S09PB6FS/FE (49SNOWTHROTTLE09SHIFT)
ENGINE, WATER PUMP - S09PB6FS/FE (49SNOWWATERPUMP09SHIFT)
FUEL SYSTEM, FUEL PUMP and LINES - S09PB6FS/FE (49SNOW FUEL09SHIFT)
FUEL SYSTEM, FUEL TANK ASM. - S09PB6FS/FE (49SNOW FUELTANK09SHIFT)
STEERING, HANDLEBAR MOUNTING - S09PB6FS/FE (49SNOWHANDLEBAR09SHIFT)
STEERING, LOWER and TIE RODS - S09PB6FS/FE (49SNOWSTEERING09SHIFT)
STEERING, SKI ASM. - S09PB6FS/FE (49SNOWSKIASM09600DRGN)
STEERING, STEERING POST ASM. - S09PB6FS/FE (49SNOWSTEERINGPOST09SHIFT)
SUSPENSION, FRONT, CONTROL ARMS and SPINDLE - S09PB6FS/FE (49SNOWSUSPFRT09SHIFT)
SUSPENSION, RAIL MOUNTING - S09PB6FS/FE (49SNOWSUSPRAIL086008BALL)
SUSPENSION, REAR ASM. - S09PB6FS/FE (49SNOWSUSPRR086008BALL)
SUSPENSION, SHOCK, FRONT TRACK (7043280) - S09PB6FS/FE (49SNOWSHOCKFRONT7043280)
SUSPENSION, SHOCK, IFS (7043289) - S09PB6FS/FE (49SNOWSHOCKIFS7043289)
SUSPENSION, SHOCK, REAR TRACK (7043281) - S09PB6FS/FE (49SNOWSHOCKREAR7043281)
SUSPENSION, SWAY BAR - S09PB6FS/FE (49SNOWSWAYBAR09SHIFT)
SUSPENSION, TORQUE ARM, FRONT - S09PB6FS/FE (49SNOWFTA086008BALL)
SUSPENSION, TORQUE ARM, REAR - S09PB6FS/FE (49SNOWTORQUEREAR086008BALL)
TOOLS, TOOL KIT and OWNERS MANUAL - S09PB6FS/FE (49SNOWTOOL09SHIFT)
BODY, CONSOLE - S09PB6FS/FE (49SNOWCONSOLE09SHIFT)
BODY, DECAL - S09PB6FS/FE (49SNOWDECAL09SHIFT)
BODY, FENDER ASM., LH - S09PB6FS/FE (49SNOWFENDERS09SHIFT)
BODY, FENDER ASM., RH - S09PB6FS/FE (49SNOWFENDERFOAM09SHIFT)
BODY, FRONT BUMPER and NOSEPAN - S09PB6FS/FE (49SNOWBUMPER09SHIFT)
BODY, HOOD ASM. - S09PB6FS/FE (49SNOWHOOD09SHIFT)
BODY, HOOD FOAM and FOIL - S09PB6FS/FE (49SNOWHOODSCFL09SHIFT)
BODY, HOOD SCREENS and HINGE ASM. - S09PB6FS/FE (49SNOWHOODMTG09SHIFT)
BODY, REAR BUMPER, SNOWFLAP, and TAILLIGHT HOUSING - S09PB6FS/FE (49SNOWRACK09SHIFT)
BODY, SEAT ASM. - S09PB6FS/FE (49SNOWSEAT09SHIFT)
BODY, SIDE PANELS - S09PB6FS/FE (49SNOWPANEL09SHIFT)
BODY, WINDSHIELD - S09PB6FS/FE (49SNOWWINDSHLD086008BALL)
BRAKES, BRAKE SYSTEM - S09PB6FS/FE (49SNOWBRAKE09SHIFT)
CHASSIS, ASM. - S09PB6FS/FE (49SNOWCHASSIS09SHIFT)
CHASSIS, FOOTRESTS and CLUTCH GUARD - S09PB6FS/FE (49SNOWCLUTCHGUARD09SHIFT)
CHASSIS, FRONT - S08PB6FS/FE (49SNOWCHASSISFRT09SHIFT)
DRIVE TRAIN, CHAINCASE - S09PB6FS/FE (49SNOWCHAINCASE09SHIFT)
DRIVE TRAIN, CLUTCH, PRIMARY - S09PB6FS/FE (49SNOWDRIVECLUTCH09SHIFT)
DRIVE TRAIN, CLUTCH, SECONDARY - S09PB6FS/FE (49SNOWDRIVENCLUTCH09FSTRG)
DRIVE TRAIN, JACKSHAFT and DRIVESHAFT - S09PB6FS/FE (49SNOWDRIVETRAIN09SHIFT)
ELECTRICAL, HEADLIGHT and TAILLIGHT - S09PB6FS/FE (49SNOWHEADLGHT09SHIFT)
ELECTRICAL, IGNITION SYSTEM - S09PB6FS/FE (49SNOWMAGNETO009SHIFT)
ELECTRICAL, SPEEDOMETER and INDICATOR LIGHTS - S09PB6FS/FE (49SNOWSPEEDO09SHIFT)
ELECTRICAL, SWITCHES, SENSORS and COMPONENTS - S09PB6FS/FE (49SNOWELECT09SHIFT)
ELECTRICAL, WIRING HARNESSES - S09PB6FS/FE (49SNOWHARNESS09SHIFT)
ENGINE, AIR INTAKE SYSTEM - S09PB6FS/FE (49SNOWAIR09SHIFT)
ENGINE, CARBURETOR AND CHOKE - S09PB6FS/FE (49SNOWCARBURETOR600HO)
ENGINE, CARBURETOR, LOWER - S09PB6FS/FE (49SNOWCARBLOWER086008BALL)
ENGINE, CARBURETOR, UPPER - S09PB6FS/FE (49SNOWCARBUPPER09SHIFT)
ENGINE, COOLING SYSTEM - S09PB6FS/FE (49SNOWCOOLING09SHIFT)
ENGINE, CRANKCASE - S09PB6FS/FE (49SNOWCRANKCASE09SHIFT)
ENGINE, CYLINDER - S09PB6FS/FE (49SNOWCYLINDER09SHIFT)
ENGINE, EXHAUST - S09PB6FS/FE (49SNOWEXHAUST09SHIFT)
ENGINE, EXHAUST VALVES and SOLENOID - S09PB6FS/FE (49SNOWEXHAUSTVALVES09SHIFT)
ENGINE, MOUNTING - S09PB6FS/FE (49SNOWENGINEMOUNT09SHIFT)
ENGINE, OIL BOTTLE - S09PB6FS/FE (49SNOWOILBOTTLE09600IQ)
ENGINE, OIL PUMP and OIL LINES - S09PB6FS/FE (49SNOWOILPUMP09SHIFT)
ENGINE, PISTON and CRANKSHAFT - S09PB6FS/FE (49SNOWPISTONCRANKSHAFT600HO)
ENGINE, RECOIL STARTER - S09PB6FS/FE (49SNOWRECOIL600HO)
ENGINE, REED VALVE and CARB ADAPTOR - S09PB6FS/FE (49SNOWCARBURETOR09SHIFT)
ENGINE, THROTTLE CONTROL ASM. - S09PB6FS/FE (49SNOWTHROTTLE09SHIFT)
ENGINE, WATER PUMP - S09PB6FS/FE (49SNOWWATERPUMP09SHIFT)
FUEL SYSTEM, FUEL PUMP and LINES - S09PB6FS/FE (49SNOW FUEL09SHIFT)
FUEL SYSTEM, FUEL TANK ASM. - S09PB6FS/FE (49SNOW FUELTANK09SHIFT)
STEERING, HANDLEBAR MOUNTING - S09PB6FS/FE (49SNOWHANDLEBAR09SHIFT)
STEERING, LOWER and TIE RODS - S09PB6FS/FE (49SNOWSTEERING09SHIFT)
STEERING, SKI ASM. - S09PB6FS/FE (49SNOWSKIASM09600DRGN)
STEERING, STEERING POST ASM. - S09PB6FS/FE (49SNOWSTEERINGPOST09SHIFT)
SUSPENSION, FRONT, CONTROL ARMS and SPINDLE - S09PB6FS/FE (49SNOWSUSPFRT09SHIFT)
SUSPENSION, RAIL MOUNTING - S09PB6FS/FE (49SNOWSUSPRAIL086008BALL)
SUSPENSION, REAR ASM. - S09PB6FS/FE (49SNOWSUSPRR086008BALL)
SUSPENSION, SHOCK, FRONT TRACK (7043280) - S09PB6FS/FE (49SNOWSHOCKFRONT7043280)
SUSPENSION, SHOCK, IFS (7043289) - S09PB6FS/FE (49SNOWSHOCKIFS7043289)
SUSPENSION, SHOCK, REAR TRACK (7043281) - S09PB6FS/FE (49SNOWSHOCKREAR7043281)
SUSPENSION, SWAY BAR - S09PB6FS/FE (49SNOWSWAYBAR09SHIFT)
SUSPENSION, TORQUE ARM, FRONT - S09PB6FS/FE (49SNOWFTA086008BALL)
SUSPENSION, TORQUE ARM, REAR - S09PB6FS/FE (49SNOWTORQUEREAR086008BALL)
TOOLS, TOOL KIT and OWNERS MANUAL - S09PB6FS/FE (49SNOWTOOL09SHIFT)
VIEW WISH LIST