Polaris
Browse New Models
Shop In-Stock
Honda
Browse New Models
Shop In-Stock
KTM
Browse New Models
Shop In-Stock
Beta
Browse New Models
Shop In-Stock
Timbersled
Browse New Models
1318 W 2nd St
,
The Dalles, OR
97058
541-298-1161
Search Inventory
Toggle navigation
Home
Brands
Inventory
All Inventory In Stock
New Inventory In Stock
Pre-Owned Inventory
Polaris Off-Road
Polaris Snowmobiles
Timbersled
Manufacturer Models
Value Your Trade-In
Request a Model
Government Purchasing Program
OEM Promotions
Secure Financing
Parts
Parts Department
Parts Finder
Shopping Cart
Service
Service Department
Warranty & Recall Look-Up
Schedule Polaris Service
Financing
About
Our Dealership
Our Team
Reviews
Customer Survey
Employment
Location & Hours
Contact
541-298-1161
The Dalles, OR
Fiche | Parts Diagrams
Home
›
Parts
›
Parts Finder
Search by :
Part / Desc
VIN
Please Select
Honda
KTM
Polaris
*Please enter at least 3 characters
SEARCH
Manufacturer
Polaris
Snowmobiles
2010
TURBO LX (S10PD7FSL)
VIEW WISH LIST
Select a Section
Show/Hide
BODY, CONSOLE - S10PD7FSL (49SNOWCONSOLE10TRBOLX)
BODY, DECALS - S10PD7FSL (49SNOWDECAL10TRBOLX)
BODY, FENDERS, LH/RH - S10PD7FSL (49SNOWFENDERS10FSTTRG)
BODY, FRONT BUMPER and NOSEPAN - S10PD7FSL (49SNOWBUMPER10TRBOLX)
BODY, HOOD ASM. - S10PD7FSL (49SNOWHOOD10TRBOLX)
BODY, HOOD FOAM and FOIL - S10PD7FSL (49SNOWHOODSCFL10FSTTRG)
BODY, HOOD SCREENS and HINGE ASM. - S10PD7FSL (49SNOWHOODMTG10FSTTRG)
BODY, REAR BUMPER, SNOWFLAP, and TAILLIGHT HOUSING - S10PD7FSL (49SNOWRACK10TRBOLX)
BODY, SEAT ASM. - S10PD7FSL (49SNOWSEAT086008BALL)
BODY, SIDE PANEL ASM., LH/RH - S10PD7FSL (49SNOWPANEL09FSTRG)
BODY, WINDSHIELD and MIRRORS - S10PD7FSL (49SNOWWINDSHLD10600SB)
BRAKES, BRAKE SYSTEM - S10PD7FSL (49SNOWBRAKE09SHIFT)
CHASSIS, ASM. and FOOTRESTS - S10PD7FSL (49SNOWCHASSIS10TRBO)
CHASSIS, FRONT - S10PD7FSL (49SNOWCHASSISFRT09TRBOSB)
DRIVE TRAIN, GEARCASE ASM. - S10PD7FSL (49SNOWGEARCASE10FSTTRG)
DRIVE TRAIN, GEARCASE COVER ASM. and DIPSTICK - S10PD7FSL (49SNOWGEARCASECVR10FSTTRG)
DRIVE TRAIN, GEARCASE MOUNTING - S10PD7FSL (49SNOWGEARCASEMTG09FSTRG)
DRIVE TRAIN, JACKSHAFT and DRIVESHAFT - S10PD7FSL (49SNOWDRIVETRAIN09FSTRG)
DRIVE TRAIN, PRIMARY CLUTCH - S10PD7FSL (49SNOWDRIVECLUTCH08IQTRBO)
DRIVE TRAIN, SECONDARY CLUTCH and DRIVE BELT - S10PD7FSL (49SNOWDRIVENCLUTCH09FSTRG)
ELECTRICAL, BATTERY and CABLES - S10PD7FSL (49SNOWBATTERY10TRBOLX)
ELECTRICAL, HEADLIGHT and TAILLIGHT - S10PD7FSL (49SNOWHEADLGHT09SHIFT)
ELECTRICAL, IGNITION COILS and SPARK PLUGS - S10PD7FSL (4997479747D06)
ELECTRICAL, MULTI FUNCTION GAUGE - S10PD7FSL (49SNOWGAUGE09600TRG)
ELECTRICAL, SENSORS, SWITCHES and VALVES - S10PD7FSL (49SNOWSENSOR11FSTSBLX)
ELECTRICAL, SWITCHES and CONTROLS - S10PD7FSL (49SNOWELECT11FSTSBLX)
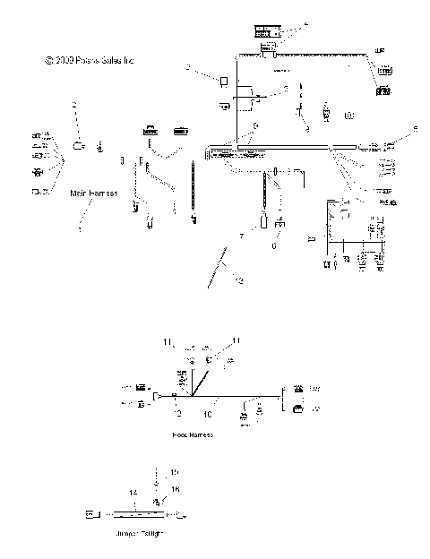
ELECTRICAL, WIRE HARNESS - S10PD7FSL (49SNOWELECT10TRBOLX)
ENGINE - S10PD7FSL (49SNOWENGINE10FSTTRG)
ENGINE, AIR INTAKE SYSTEM - S10PD7FSL (49SNOWAIR09FSTTRG)
ENGINE, ALTERNATOR - S10PD7FSL (49SNOWALTERNATORFSTSWTCH)
ENGINE, CAM CHAIN and TENSIONERS - S10PD7FSL (4997479747D11)
ENGINE, COOLANT RAIL - S10PD7FSL (49SNOWCOOLANTFSTIQ)
ENGINE, COOLING SYSTEM - S10PD7FSL (49SNOWCOOLING10TRBOLX)
ENGINE, CRANKSHAFT and BALANCE SHAFT - S10PD7FSL (4997479747E02)
ENGINE, CYLINDER and CRANKCASE - S10PD7FSL (49SNOWCYLINDER09TRBODRGN)
ENGINE, DRIVE GEAR and PULLEY - S10PD7FSL (4997479747E06)
ENGINE, EXHAUST - S10PD7FSL (49SNOWEXHAUST10FSTTRG)
ENGINE, FUEL RAIL - S10PD7FSL (4997479747E03)
ENGINE, IDLE AIR CONTROL ASM. - S10PD7FSL (49SNOWIDLE09FSTRG)
ENGINE, INTER COOLER - S10PD7FSL (49SNOWCOOLER09FSTTRG)
ENGINE, MOUNTING, LH - S10PD7FSL (49SNOWENGINEMOUNTLH08IQTRBO)
ENGINE, MOUNTING, RH and FRONT - S10PD7FSL (49SNOWENGINEMOUNTRH08IQTRBO)
ENGINE, OIL COOLING SYSTEM - S10PD7FSL (49SNOWOILTANK10FSTRG)
ENGINE, OIL FILTER - S10PD7FSL (49SNOWOILFILTERFS)
ENGINE, OIL PUMP - S10PD7FSL (4997479747E01)
ENGINE, OIL SUMP - S10PD7FSL (49SNOWOILSUMP11IQ)
ENGINE, PISTON - S10PD7FSL (4997479747D12)
ENGINE, REFERENCE HOSES - S10PD7FSL (49SNOWHOSES08IQTRBO)
ENGINE, STARTER MOTOR - S10PD7FSL (4997479747E04)
ENGINE, THROTTLE BODY/INTAKE MANIFOLD - S10PD7FSL (4997479747D09)
ENGINE, THROTTLE CONTROL ASM. - S10PD7FSL (49SNOWTHROTTLE10FSTTRG)
ENGINE, TURBO - S10PD7FSL (49SNOWTURBOFST)
ENGINE, VALVE COVER - S10PD7FSL (49SNOWVALVECVR08IQTRBO)
ENGINE, VALVE TRAIN - S10PD7FSL (4997479747D13)
ENGINE, VALVES - S10PD7FSL (4997479747D14)
ENGINE, WATER PUMP - S10PD7FSL (4997479747D10)
ENGINE, WIRE HARNESS - S10PD7FSL (49SNOWHARNESS10FSTTRG)
FUEL SYSTEM, FUEL TANK ASM. - S10PD7FSL (49SNOWFUELTANK10TRBOLX)
FUEL SYSTEM, THROTTLE BODY and FUEL LINES - S10PD7FSL (49SNOWTHROTTLE09FSTRG)
STEERING, ADJUSTABLE STEERING POST ASM. - S10PD7FSL (4997479747B10)
STEERING, DRAG LINK - S10PD7FSL (49SNOWSTEERINGDRGLK10FSTTRG)
STEERING, HANDLEBAR MOUNTING - S10PD7FSL (49SNOWHANDLEBAR09600TRG)
STEERING, LOWER and TIE RODS - S10PD7FSL (49SNOWSTEERINGLWR10FSTTRG)
STEERING, SKI ASM. - S10PD7FSL (49SNOWSKIASM09TRBODRGN)
STEERING, STEERING HOOP ASM. - S10PD7FSL (49SNOWSTEERINGHOOP10TRBOLX)
SUSPENSION, FRONT ASM. - S10PD7FSL (49SNOWSUSPFRT09FSTRG)
SUSPENSION, RAIL MOUNTING - S10PD7FSL (49SNOWSUSPRAIL10SBDRGN)
SUSPENSION, REAR - S10PD7FSL (49SNOWSUSPRR10600SB)
SUSPENSION, SHOCK, FRONT TRACK (7043244) - S10PD7FSL (49SNOWSHOCKFRONT7043244SB)
SUSPENSION, SHOCK, IFS (7043245) - S10PD7FSL (49SNOWSHOCKIFS7043245SB)
SUSPENSION, SHOCK, REAR TRACK (7043177) - S10PD7FSL (49SNOWSHOCKREAR7043177LX)
SUSPENSION, SWAY BAR - S10PD7FSL (49SNOWSWAYBAR09FSTRG)
SUSPENSION, TORQUE ARM, FRONT - S10PD7FSL (49SNOWFTA086008BALL)
SUSPENSION, TORQUE ARM, REAR - S10PD7FSL (49SNOWTORQUEREAR086008BALL)
TOOLS, TOOL KIT and OWNERS MANUAL - S10PD7FSL (49SNOWTOOL10TRBO)
BODY, CONSOLE - S10PD7FSL (49SNOWCONSOLE10TRBOLX)
BODY, DECALS - S10PD7FSL (49SNOWDECAL10TRBOLX)
BODY, FENDERS, LH/RH - S10PD7FSL (49SNOWFENDERS10FSTTRG)
BODY, FRONT BUMPER and NOSEPAN - S10PD7FSL (49SNOWBUMPER10TRBOLX)
BODY, HOOD ASM. - S10PD7FSL (49SNOWHOOD10TRBOLX)
BODY, HOOD FOAM and FOIL - S10PD7FSL (49SNOWHOODSCFL10FSTTRG)
BODY, HOOD SCREENS and HINGE ASM. - S10PD7FSL (49SNOWHOODMTG10FSTTRG)
BODY, REAR BUMPER, SNOWFLAP, and TAILLIGHT HOUSING - S10PD7FSL (49SNOWRACK10TRBOLX)
BODY, SEAT ASM. - S10PD7FSL (49SNOWSEAT086008BALL)
BODY, SIDE PANEL ASM., LH/RH - S10PD7FSL (49SNOWPANEL09FSTRG)
BODY, WINDSHIELD and MIRRORS - S10PD7FSL (49SNOWWINDSHLD10600SB)
BRAKES, BRAKE SYSTEM - S10PD7FSL (49SNOWBRAKE09SHIFT)
CHASSIS, ASM. and FOOTRESTS - S10PD7FSL (49SNOWCHASSIS10TRBO)
CHASSIS, FRONT - S10PD7FSL (49SNOWCHASSISFRT09TRBOSB)
DRIVE TRAIN, GEARCASE ASM. - S10PD7FSL (49SNOWGEARCASE10FSTTRG)
DRIVE TRAIN, GEARCASE COVER ASM. and DIPSTICK - S10PD7FSL (49SNOWGEARCASECVR10FSTTRG)
DRIVE TRAIN, GEARCASE MOUNTING - S10PD7FSL (49SNOWGEARCASEMTG09FSTRG)
DRIVE TRAIN, JACKSHAFT and DRIVESHAFT - S10PD7FSL (49SNOWDRIVETRAIN09FSTRG)
DRIVE TRAIN, PRIMARY CLUTCH - S10PD7FSL (49SNOWDRIVECLUTCH08IQTRBO)
DRIVE TRAIN, SECONDARY CLUTCH and DRIVE BELT - S10PD7FSL (49SNOWDRIVENCLUTCH09FSTRG)
ELECTRICAL, BATTERY and CABLES - S10PD7FSL (49SNOWBATTERY10TRBOLX)
ELECTRICAL, HEADLIGHT and TAILLIGHT - S10PD7FSL (49SNOWHEADLGHT09SHIFT)
ELECTRICAL, IGNITION COILS and SPARK PLUGS - S10PD7FSL (4997479747D06)
ELECTRICAL, MULTI FUNCTION GAUGE - S10PD7FSL (49SNOWGAUGE09600TRG)
ELECTRICAL, SENSORS, SWITCHES and VALVES - S10PD7FSL (49SNOWSENSOR11FSTSBLX)
ELECTRICAL, SWITCHES and CONTROLS - S10PD7FSL (49SNOWELECT11FSTSBLX)
ELECTRICAL, WIRE HARNESS - S10PD7FSL (49SNOWELECT10TRBOLX)
ENGINE - S10PD7FSL (49SNOWENGINE10FSTTRG)
ENGINE, AIR INTAKE SYSTEM - S10PD7FSL (49SNOWAIR09FSTTRG)
ENGINE, ALTERNATOR - S10PD7FSL (49SNOWALTERNATORFSTSWTCH)
ENGINE, CAM CHAIN and TENSIONERS - S10PD7FSL (4997479747D11)
ENGINE, COOLANT RAIL - S10PD7FSL (49SNOWCOOLANTFSTIQ)
ENGINE, COOLING SYSTEM - S10PD7FSL (49SNOWCOOLING10TRBOLX)
ENGINE, CRANKSHAFT and BALANCE SHAFT - S10PD7FSL (4997479747E02)
ENGINE, CYLINDER and CRANKCASE - S10PD7FSL (49SNOWCYLINDER09TRBODRGN)
ENGINE, DRIVE GEAR and PULLEY - S10PD7FSL (4997479747E06)
ENGINE, EXHAUST - S10PD7FSL (49SNOWEXHAUST10FSTTRG)
ENGINE, FUEL RAIL - S10PD7FSL (4997479747E03)
ENGINE, IDLE AIR CONTROL ASM. - S10PD7FSL (49SNOWIDLE09FSTRG)
ENGINE, INTER COOLER - S10PD7FSL (49SNOWCOOLER09FSTTRG)
ENGINE, MOUNTING, LH - S10PD7FSL (49SNOWENGINEMOUNTLH08IQTRBO)
ENGINE, MOUNTING, RH and FRONT - S10PD7FSL (49SNOWENGINEMOUNTRH08IQTRBO)
ENGINE, OIL COOLING SYSTEM - S10PD7FSL (49SNOWOILTANK10FSTRG)
ENGINE, OIL FILTER - S10PD7FSL (49SNOWOILFILTERFS)
ENGINE, OIL PUMP - S10PD7FSL (4997479747E01)
ENGINE, OIL SUMP - S10PD7FSL (49SNOWOILSUMP11IQ)
ENGINE, PISTON - S10PD7FSL (4997479747D12)
ENGINE, REFERENCE HOSES - S10PD7FSL (49SNOWHOSES08IQTRBO)
ENGINE, STARTER MOTOR - S10PD7FSL (4997479747E04)
ENGINE, THROTTLE BODY/INTAKE MANIFOLD - S10PD7FSL (4997479747D09)
ENGINE, THROTTLE CONTROL ASM. - S10PD7FSL (49SNOWTHROTTLE10FSTTRG)
ENGINE, TURBO - S10PD7FSL (49SNOWTURBOFST)
ENGINE, VALVE COVER - S10PD7FSL (49SNOWVALVECVR08IQTRBO)
ENGINE, VALVE TRAIN - S10PD7FSL (4997479747D13)
ENGINE, VALVES - S10PD7FSL (4997479747D14)
ENGINE, WATER PUMP - S10PD7FSL (4997479747D10)
ENGINE, WIRE HARNESS - S10PD7FSL (49SNOWHARNESS10FSTTRG)
FUEL SYSTEM, FUEL TANK ASM. - S10PD7FSL (49SNOWFUELTANK10TRBOLX)
FUEL SYSTEM, THROTTLE BODY and FUEL LINES - S10PD7FSL (49SNOWTHROTTLE09FSTRG)
STEERING, ADJUSTABLE STEERING POST ASM. - S10PD7FSL (4997479747B10)
STEERING, DRAG LINK - S10PD7FSL (49SNOWSTEERINGDRGLK10FSTTRG)
STEERING, HANDLEBAR MOUNTING - S10PD7FSL (49SNOWHANDLEBAR09600TRG)
STEERING, LOWER and TIE RODS - S10PD7FSL (49SNOWSTEERINGLWR10FSTTRG)
STEERING, SKI ASM. - S10PD7FSL (49SNOWSKIASM09TRBODRGN)
STEERING, STEERING HOOP ASM. - S10PD7FSL (49SNOWSTEERINGHOOP10TRBOLX)
SUSPENSION, FRONT ASM. - S10PD7FSL (49SNOWSUSPFRT09FSTRG)
SUSPENSION, RAIL MOUNTING - S10PD7FSL (49SNOWSUSPRAIL10SBDRGN)
SUSPENSION, REAR - S10PD7FSL (49SNOWSUSPRR10600SB)
SUSPENSION, SHOCK, FRONT TRACK (7043244) - S10PD7FSL (49SNOWSHOCKFRONT7043244SB)
SUSPENSION, SHOCK, IFS (7043245) - S10PD7FSL (49SNOWSHOCKIFS7043245SB)
SUSPENSION, SHOCK, REAR TRACK (7043177) - S10PD7FSL (49SNOWSHOCKREAR7043177LX)
SUSPENSION, SWAY BAR - S10PD7FSL (49SNOWSWAYBAR09FSTRG)
SUSPENSION, TORQUE ARM, FRONT - S10PD7FSL (49SNOWFTA086008BALL)
SUSPENSION, TORQUE ARM, REAR - S10PD7FSL (49SNOWTORQUEREAR086008BALL)
TOOLS, TOOL KIT and OWNERS MANUAL - S10PD7FSL (49SNOWTOOL10TRBO)
VIEW WISH LIST