Polaris
Browse New Models
Shop In-Stock
Honda
Browse New Models
Shop In-Stock
KTM
Browse New Models
Shop In-Stock
Beta
Browse New Models
Shop In-Stock
Timbersled
Browse New Models
1318 W 2nd St
,
The Dalles, OR
97058
541-298-1161
Search Inventory
Toggle navigation
Home
Brands
Inventory
All Inventory In Stock
New Inventory In Stock
Pre-Owned Inventory
Polaris Off-Road
Polaris Snowmobiles
Timbersled
Manufacturer Models
Value Your Trade-In
Request a Model
Government Purchasing Program
OEM Promotions
Secure Financing
Parts
Parts Department
Parts Finder
Shopping Cart
Service
Service Department
Warranty & Recall Look-Up
Schedule Polaris Service
Financing
About
Our Dealership
Our Team
Reviews
Customer Survey
Employment
Location & Hours
Contact
541-298-1161
The Dalles, OR
Fiche | Parts Diagrams
Home
›
Parts
›
Parts Finder
Search by :
Part / Desc
VIN
Please Select
Honda
KTM
Polaris
*Please enter at least 3 characters
SEARCH
Manufacturer
Polaris
Snowmobiles
2014
800 SWITCHBACK PRO R/ES/INT/LE ALL OPTIONS (S14BS8/BC8/BD8)
VIEW WISH LIST
Select a Section
Show/Hide
BODY, BUMPER, FRONT - S14BS8/BC8/BD8 ALL OPTIONS (49SNOWBUMPER12800SB)
BODY, BUMPER, REAR and CLOSEOFF - S14BS8/BC8/BD8 ALL OPTIONS (49SNOWBUMPERRR13RUSH)
BODY, CONSOLE - S14BS8/BC8/BD8 ALL OPTIONS (49SNOWCONSOLE13SB)
BODY, DECAL - S14BS8/BC8/BD8 ALL OPTIONS (49SNOWDECAL14SBPRO)
BODY, DECAL, LE (BLACK TUNNEL/ORANGE RAIL) - S14BS8/BC8/BD8 (49SNOWDECAL14SBPROLE1)
BODY, DECAL, LE (NAT. TUNNEL/RED RAIL) - S14BS8/BC8/BD8/BS8 (49SNOWDECAL14SBPROLE2)
BODY, DECAL, LE RETRO (NAT. TUNNEL/RED RAIL) - S14BS8/BC8/BD8/BS8 (49SNOWDECAL14SBPROLE1)
BODY, DECAL, SNOW CHECK - S14BS8/BC8/BD8 ALL OPTIONS (49SNOWDECAL14SBPRO)
BODY, FENDERS and SIDE PANELS - S14BS8/BC8/BD8 ALL OPTIONS (49SNOWFENDERS12SB)
BODY, HOOD ASM. - S14BS8/BC8/BD8 All OPTIONS (49SNOWHOOD13SB)
BODY, HOOD FOAM/FIBER - S14BS8/BC8/BD8 ALL OPTIONS (49SNOWHOODSCFL11RUSH)
BODY, NOSEPAN ASM. - S14BS8/BC8/BD8 ALL OPTIONS (49SNOWNOSEPAN12800SB)
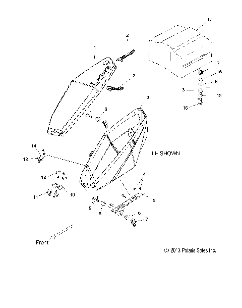
BODY, SADDLEBAG, LE - S14BS8/BC8/BD8 ALL OPTIONS (49SNOWSADDLEBAG14LEPR)
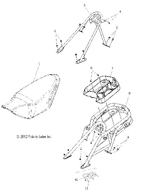
BODY, SEAT MOUNTING - S14BS8/BC8/BD8/BD8 ALL OPTIONS(49SNOWSEAT13800SBPRO)
BODY, WINDSHIELD - S14BS8/BC8/BD8 ALL OPTIONS (49SNOWWINDSHLD12800SB)
BRAKES, BRAKE SYSTEM - S14BS8/BC8/BD8 ALL OPTIONS (49SNOWBRAKE11600PRO)
CHASSIS, BULKHEAD ASM. - S14BS8/BC8/BD8 ALL OPTIONS (49SNOWCHASSISFRT13600RUSH)
CHASSIS, CHASSIS ASM. and OVER STRUCTURE - S14BS8/BC8/BD8 ALL OPTIONS (49SNOWCHASSISFRT2146SB)
CHASSIS, CLUTCH GUARD and FOOTRESTS - S14BS8/BC8/BD8 ALL OPTIONS (49SNOWCLUTCHGUARD13600SB)
CHASSIS, TUNNEL and REAR ASM. - S14BS8/BC8/BD8 ALL OPTIONS (49SNOWCHASSISRR12800SB)
DRIVE TRAIN, CHAINCASE - S14BS8/BC8/BD8 ALL OPTIONS (49SNOWCHAINCASE12600RUSH)
DRIVE TRAIN, CLUTCH, PRIMARY - S14BS8/BC8/BD8 ALL OPTIONS (49SNOWDRIVECLUTCH09600TRG)
DRIVE TRAIN, CLUTCH, SECONDARY - S14BS8/BC8/BD8 ALL OPTIONS (49SNOWDRIVENCLUTCH1322948)
DRIVE TRAIN, JACKSHAFT and DRIVESHAFT - S14BS8/BC8/BD8 ALL OPTIONS (49SNOWDRIVETRAIN11600PRO)
ELECTRICAL, BATTERY and CABLES - S14BS8/BC8/BD8 ALL OPTIONS (49SNOWBATTERY13LE)
ELECTRICAL, HEADLIGHT and TAILLIGHT - S14BS8/BC8/BD8 ALL OPTIONS (49SNOWHEADLGHT11RUSH)
ELECTRICAL, IGNITION SYSTEM - S14BS8/BC8/BD8 ALL OPTIONS (49SNOWIGNITION13RMKASLT)
ELECTRICAL, MULTI FUNCTION GAUGE - S14BS8/BC8/BD8 ALL OPTIONS (49SNOWGAUGE10PR)
ELECTRICAL, SWITCHES, SENSORS and COMPONENTS - S14BS8/BC8/BD8 ALL OPTIONS (49SNOWELECT13ADV)
ELECTRICAL, WIRE HARNESS - S14BS8/BC8/BD8 ALL OPTIONS (49SNOWHARNESS148SBP)
ENGINE, AIR INTAKE SYSTEM - S14BS8/BC8/BD8 ALL OPTIONS (49SNOWAIR13RUSH)
ENGINE, COOLING SYSTEM - S14BS8/BC8/BD8 ALL OPTIONS (49SNOWCOOLING138SB)
ENGINE, CRANKCASE - S14BS8/BC8/BD8 ALL OPTIONS (49SNOWCRANKCASE138LE)
ENGINE, CYLINDER - S14BS8/BC8/BD8 ALL OPTIONS (49SNOWCYLINDER14800LE)
ENGINE, EXHAUST - S14BS8/BC8/BD8 ALL OPTIONS (49SNOWEXHAUST13800LE)
ENGINE, EXHAUST VALVES and SOLENOID - S14BS8/BC8/BD8 ALL OPTIONS (49SNOWEXHAUSTVALVES13800LE)
ENGINE, MOUNTING & SHORT BLOCK - S14BS8/BC8/BD8 ALL OPTIONS (49SNOWENGINEMOUNT13800LE)
ENGINE, OIL BOTTLE ASM. - S14BS8/BC8/BD8 ALL OPTIONS (49SNOWOILBOTTLE13600RUSH)
ENGINE, OIL PUMP and LINES - S14BS8/BC8/BD8 ALL OPTIONS (49SNOWOILPUMP12PR)
ENGINE, PISTON and CRANKSHAFT - S14BS8/BC8/BD8 ALL OPTIONS (49SNOWPISTONCRANKSHAFT14800LE)
ENGINE, RECOIL STARTER - S14BS8/BC8/BD8 ALL OPTIONS (49SNOWRECOIL12SB)
ENGINE, REED VALVE and THROTTLE BODY ADAPTOR - S14BS8/BC8/BD8 ALL OPTIONS (49SNOWCARBURETOR09600TRG)
ENGINE, STARTER MOTOR - S14BS8/BC8/BD8 ALL OPTIONS (49SNOWSTARTER13RUSH)
ENGINE, THROTTLE CONTROL ASM. - S14BS8/BC8/BD8 ALL OPTIONS (49SNOWTHROTTLE13PR)
ENGINE, WATER PUMP - S14BS8/BC8/BD8 ALL OPTIONS (49SNOWWATERPUMP10PR)
FUEL SYSTEM, FUEL TANK ASM. - S14BS8/BC8/BD8 ALL OPTIONS (49SNOWFUEL13600LE)
FUEL SYSTEM, RAIL, LINES and THROTTLE BODY - S14BS8/BC8/BD8 ALL OPTIONS (49SNOWFUELLINE14STD)
STEERING, LOWER - S14BS8/BC8/BD8 ALL OPTIONS (49SNOWSTEERINGLWR12800SB)
STEERING, SKI ASM. - S14BS8/BC8/BD8 ALL OPTIONS (49SNOWSKIASM13SBPRO)
STEERING, UPPER and HANDLEBAR ASM. - S14BS8/BC8/BD8 ALL OPTIONS (49SNOWHANDLEBAR13800SBPRO)
SUSPENSION, CONTROL ARMS and SPINDLE - S14BS8/BC8/BD8 ALL OPTIONS (49SNOWSUSPFRT12800SB)
SUSPENSION, CRANK ASM., REAR - S14BS8/BC8/BD8 ALL OPTIONS (49SNOWSUSPCRANK12800)
SUSPENSION, RAIL ASM. - S14BS8/BC8/BD8 ALL OPTIONS (49SNOWSUSPRAIL12800SB)
SUSPENSION, REAR and TRACK - S14BS8/BC8/BD8 ALL OPTIONS (49SNOWSUSPRR12800SB)
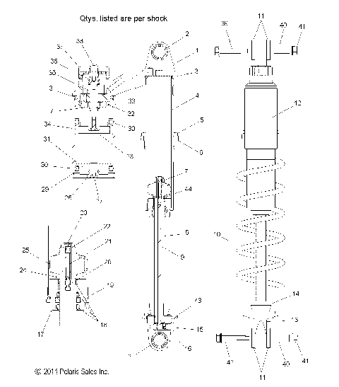
SUSPENSION, SHOCK, FRONT - S14BS8/BC8/BD8 ALL OPTIONS (49SNOWSHOCKFRONT7043828)
SUSPENSION, SHOCK, IFS (LE) - S14BS8/BC8/BD8 ALL OPTIONS (49SNOWSHOCKIFS7043827)
SUSPENSION, SHOCK, IFS - S14BS8/BC8/BD8 ALL OPTIONS (49SNOWSHOCKIFS7043731)
SUSPENSION, SHOCK, REAR - S14BS8/BC8/BD8 ALL OPTIONS (49SNOWSHOCKREAR7043723)
SUSPENSION, SWAY BAR - S14BS8/BC8/BD8 ALL OPTIONS (49SNOWSWAYBAR10PR)
SUSPENSION, TORQUE ARM, FRONT - S14BA8/BC8/BD8/ALL OPTIONS (49SNOWFTA13SB)
TOOLS, TOOL KIT and OWNERS MANUAL - S14BS8/BC8/BD8 ALL OPTIONS (49SNOWTOOL12600RUSH)
BODY, BUMPER, FRONT - S14BS8/BC8/BD8 ALL OPTIONS (49SNOWBUMPER12800SB)
BODY, BUMPER, REAR and CLOSEOFF - S14BS8/BC8/BD8 ALL OPTIONS (49SNOWBUMPERRR13RUSH)
BODY, CONSOLE - S14BS8/BC8/BD8 ALL OPTIONS (49SNOWCONSOLE13SB)
BODY, DECAL - S14BS8/BC8/BD8 ALL OPTIONS (49SNOWDECAL14SBPRO)
BODY, DECAL, LE (BLACK TUNNEL/ORANGE RAIL) - S14BS8/BC8/BD8 (49SNOWDECAL14SBPROLE1)
BODY, DECAL, LE (NAT. TUNNEL/RED RAIL) - S14BS8/BC8/BD8/BS8 (49SNOWDECAL14SBPROLE2)
BODY, DECAL, LE RETRO (NAT. TUNNEL/RED RAIL) - S14BS8/BC8/BD8/BS8 (49SNOWDECAL14SBPROLE1)
BODY, DECAL, SNOW CHECK - S14BS8/BC8/BD8 ALL OPTIONS (49SNOWDECAL14SBPRO)
BODY, FENDERS and SIDE PANELS - S14BS8/BC8/BD8 ALL OPTIONS (49SNOWFENDERS12SB)
BODY, HOOD ASM. - S14BS8/BC8/BD8 All OPTIONS (49SNOWHOOD13SB)
BODY, HOOD FOAM/FIBER - S14BS8/BC8/BD8 ALL OPTIONS (49SNOWHOODSCFL11RUSH)
BODY, NOSEPAN ASM. - S14BS8/BC8/BD8 ALL OPTIONS (49SNOWNOSEPAN12800SB)
BODY, SADDLEBAG, LE - S14BS8/BC8/BD8 ALL OPTIONS (49SNOWSADDLEBAG14LEPR)
BODY, SEAT MOUNTING - S14BS8/BC8/BD8/BD8 ALL OPTIONS(49SNOWSEAT13800SBPRO)
BODY, WINDSHIELD - S14BS8/BC8/BD8 ALL OPTIONS (49SNOWWINDSHLD12800SB)
BRAKES, BRAKE SYSTEM - S14BS8/BC8/BD8 ALL OPTIONS (49SNOWBRAKE11600PRO)
CHASSIS, BULKHEAD ASM. - S14BS8/BC8/BD8 ALL OPTIONS (49SNOWCHASSISFRT13600RUSH)
CHASSIS, CHASSIS ASM. and OVER STRUCTURE - S14BS8/BC8/BD8 ALL OPTIONS (49SNOWCHASSISFRT2146SB)
CHASSIS, CLUTCH GUARD and FOOTRESTS - S14BS8/BC8/BD8 ALL OPTIONS (49SNOWCLUTCHGUARD13600SB)
CHASSIS, TUNNEL and REAR ASM. - S14BS8/BC8/BD8 ALL OPTIONS (49SNOWCHASSISRR12800SB)
DRIVE TRAIN, CHAINCASE - S14BS8/BC8/BD8 ALL OPTIONS (49SNOWCHAINCASE12600RUSH)
DRIVE TRAIN, CLUTCH, PRIMARY - S14BS8/BC8/BD8 ALL OPTIONS (49SNOWDRIVECLUTCH09600TRG)
DRIVE TRAIN, CLUTCH, SECONDARY - S14BS8/BC8/BD8 ALL OPTIONS (49SNOWDRIVENCLUTCH1322948)
DRIVE TRAIN, JACKSHAFT and DRIVESHAFT - S14BS8/BC8/BD8 ALL OPTIONS (49SNOWDRIVETRAIN11600PRO)
ELECTRICAL, BATTERY and CABLES - S14BS8/BC8/BD8 ALL OPTIONS (49SNOWBATTERY13LE)
ELECTRICAL, HEADLIGHT and TAILLIGHT - S14BS8/BC8/BD8 ALL OPTIONS (49SNOWHEADLGHT11RUSH)
ELECTRICAL, IGNITION SYSTEM - S14BS8/BC8/BD8 ALL OPTIONS (49SNOWIGNITION13RMKASLT)
ELECTRICAL, MULTI FUNCTION GAUGE - S14BS8/BC8/BD8 ALL OPTIONS (49SNOWGAUGE10PR)
ELECTRICAL, SWITCHES, SENSORS and COMPONENTS - S14BS8/BC8/BD8 ALL OPTIONS (49SNOWELECT13ADV)
ELECTRICAL, WIRE HARNESS - S14BS8/BC8/BD8 ALL OPTIONS (49SNOWHARNESS148SBP)
ENGINE, AIR INTAKE SYSTEM - S14BS8/BC8/BD8 ALL OPTIONS (49SNOWAIR13RUSH)
ENGINE, COOLING SYSTEM - S14BS8/BC8/BD8 ALL OPTIONS (49SNOWCOOLING138SB)
ENGINE, CRANKCASE - S14BS8/BC8/BD8 ALL OPTIONS (49SNOWCRANKCASE138LE)
ENGINE, CYLINDER - S14BS8/BC8/BD8 ALL OPTIONS (49SNOWCYLINDER14800LE)
ENGINE, EXHAUST - S14BS8/BC8/BD8 ALL OPTIONS (49SNOWEXHAUST13800LE)
ENGINE, EXHAUST VALVES and SOLENOID - S14BS8/BC8/BD8 ALL OPTIONS (49SNOWEXHAUSTVALVES13800LE)
ENGINE, MOUNTING & SHORT BLOCK - S14BS8/BC8/BD8 ALL OPTIONS (49SNOWENGINEMOUNT13800LE)
ENGINE, OIL BOTTLE ASM. - S14BS8/BC8/BD8 ALL OPTIONS (49SNOWOILBOTTLE13600RUSH)
ENGINE, OIL PUMP and LINES - S14BS8/BC8/BD8 ALL OPTIONS (49SNOWOILPUMP12PR)
ENGINE, PISTON and CRANKSHAFT - S14BS8/BC8/BD8 ALL OPTIONS (49SNOWPISTONCRANKSHAFT14800LE)
ENGINE, RECOIL STARTER - S14BS8/BC8/BD8 ALL OPTIONS (49SNOWRECOIL12SB)
ENGINE, REED VALVE and THROTTLE BODY ADAPTOR - S14BS8/BC8/BD8 ALL OPTIONS (49SNOWCARBURETOR09600TRG)
ENGINE, STARTER MOTOR - S14BS8/BC8/BD8 ALL OPTIONS (49SNOWSTARTER13RUSH)
ENGINE, THROTTLE CONTROL ASM. - S14BS8/BC8/BD8 ALL OPTIONS (49SNOWTHROTTLE13PR)
ENGINE, WATER PUMP - S14BS8/BC8/BD8 ALL OPTIONS (49SNOWWATERPUMP10PR)
FUEL SYSTEM, FUEL TANK ASM. - S14BS8/BC8/BD8 ALL OPTIONS (49SNOWFUEL13600LE)
FUEL SYSTEM, RAIL, LINES and THROTTLE BODY - S14BS8/BC8/BD8 ALL OPTIONS (49SNOWFUELLINE14STD)
STEERING, LOWER - S14BS8/BC8/BD8 ALL OPTIONS (49SNOWSTEERINGLWR12800SB)
STEERING, SKI ASM. - S14BS8/BC8/BD8 ALL OPTIONS (49SNOWSKIASM13SBPRO)
STEERING, UPPER and HANDLEBAR ASM. - S14BS8/BC8/BD8 ALL OPTIONS (49SNOWHANDLEBAR13800SBPRO)
SUSPENSION, CONTROL ARMS and SPINDLE - S14BS8/BC8/BD8 ALL OPTIONS (49SNOWSUSPFRT12800SB)
SUSPENSION, CRANK ASM., REAR - S14BS8/BC8/BD8 ALL OPTIONS (49SNOWSUSPCRANK12800)
SUSPENSION, RAIL ASM. - S14BS8/BC8/BD8 ALL OPTIONS (49SNOWSUSPRAIL12800SB)
SUSPENSION, REAR and TRACK - S14BS8/BC8/BD8 ALL OPTIONS (49SNOWSUSPRR12800SB)
SUSPENSION, SHOCK, FRONT - S14BS8/BC8/BD8 ALL OPTIONS (49SNOWSHOCKFRONT7043828)
SUSPENSION, SHOCK, IFS (LE) - S14BS8/BC8/BD8 ALL OPTIONS (49SNOWSHOCKIFS7043827)
SUSPENSION, SHOCK, IFS - S14BS8/BC8/BD8 ALL OPTIONS (49SNOWSHOCKIFS7043731)
SUSPENSION, SHOCK, REAR - S14BS8/BC8/BD8 ALL OPTIONS (49SNOWSHOCKREAR7043723)
SUSPENSION, SWAY BAR - S14BS8/BC8/BD8 ALL OPTIONS (49SNOWSWAYBAR10PR)
SUSPENSION, TORQUE ARM, FRONT - S14BA8/BC8/BD8/ALL OPTIONS (49SNOWFTA13SB)
TOOLS, TOOL KIT and OWNERS MANUAL - S14BS8/BC8/BD8 ALL OPTIONS (49SNOWTOOL12600RUSH)
VIEW WISH LIST