Polaris
Browse New Models
Shop In-Stock
Honda
Browse New Models
Shop In-Stock
KTM
Browse New Models
Shop In-Stock
Beta
Browse New Models
Shop In-Stock
Timbersled
Browse New Models
1318 W 2nd St
,
The Dalles, OR
97058
541-298-1161
Search Inventory
Toggle navigation
Home
Brands
Inventory
All Inventory In Stock
New Inventory In Stock
Pre-Owned Inventory
Polaris Off-Road
Polaris Snowmobiles
Timbersled
Manufacturer Models
Value Your Trade-In
Request a Model
Government Purchasing Program
OEM Promotions
Secure Financing
Parts
Parts Department
Parts Finder
Shopping Cart
Service
Service Department
Warranty & Recall Look-Up
Schedule Polaris Service
Financing
About
Our Dealership
Our Team
Reviews
Customer Survey
Employment
Location & Hours
Contact
541-298-1161
The Dalles, OR
Fiche | Parts Diagrams
Home
›
Parts
›
Parts Finder
Search by :
Part / Desc
VIN
Please Select
Honda
KTM
Polaris
*Please enter at least 3 characters
SEARCH
Manufacturer
Polaris
Snowmobiles
2017
600 AXYS PRO RMK 155 ALL OPTIONS (S17EFK6)
VIEW WISH LIST
Select a Section
Show/Hide
BODY, BUMPER, FRONT - S17EFK6 ALL OPTIONS (49SNOWBUMPER15PROS)
BODY, BUMPER, REAR, SNOWFLAP and TAILLIGHT COVER - S17EFK6 ALL OPTIONS (600028)
BODY, CONSOLE - S17EFK6 ALL OPTIONS (600029)
BODY, DECAL - S17EFK6PSA/PSL (600483)
BODY, DECAL, SNOW CHECK BLK/PINK, BLK/RED - S17EFK6 (600276)
BODY, DECAL, SNOW CHECK RED, BLUE, ORANGE, BLK/TITANIUM - S17EFK6 (600233)
BODY, DECAL, SNOW CHECK WHITE - S17EFK6 (600275)
BODY, FENDERS AND NOSEPAN ASM. - S17EFK6 ALL OPTIONS (600314)
BODY, HOOD ASM. - S17EFK6 ALL OPTIONS (49SNOWHOOD15PROS)
BODY, HOOD FOAM/FIBER - S17EFK6 ALL OPTIONS (49SNOWHOODSCFL15PROS)
BODY, SEAT ASM. - S17EFK6 ALL OPTIONS (600368)
BODY, SIDE PANELS - S17EFK6 ALL OPTIONS (600052)
BODY, WINDSHIELD - S17EFK6 ALL OPTIONS (600031)
BRAKES, BRAKE SYSTEM - S17EFK6 ALL OPTIONS (600032)
CHASSIS, BULKHEAD ASM. - S17EFK6 ALL OPTIONS (600300)
CHASSIS, CHASSIS ASM. and OVER STRUCTURE - S17EFK6 ALL OPTIONS (600270)
CHASSIS, CLUTCH GUARD and FOOTRESTS - S17EFK6 ALL OPTIONS (600034)
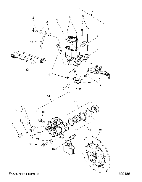
DRIVE TRAIN, CLUTCH, PRIMARY - S17EFK6 ALL OPTIONS (49SNOWDRIVECLUTCH15PROS)
DRIVE TRAIN, CLUTCH, SECONDARY - S17EFK6 ALL OPTIONS (49SNOWDRIVENCLUTCH09ASLT)
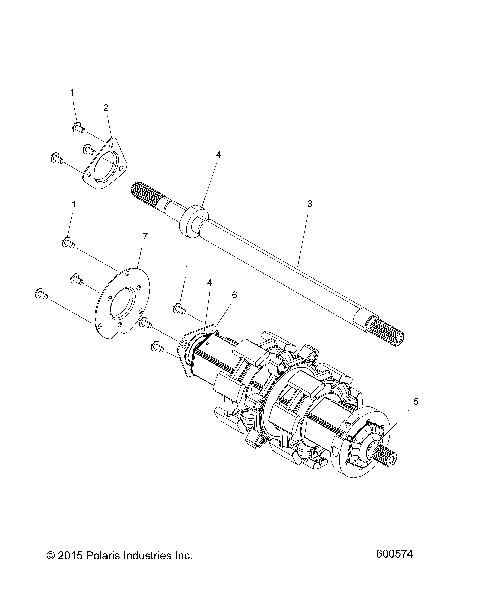
DRIVE TRAIN, JACKSHAFT and DRIVESHAFT - S17EFK6 ALL OPTIONS (600574)
DRIVE TRAIN, QUICKDRIVE BELT SYSTEM - S17EFK6 ALL OPTIONS (600027)
ELECTRICAL, BATTERY and CABLES - S17EFK6 (600267)
ELECTRICAL, HEADLIGHT and TAILLIGHT - S17EFK6 ALL OPTIONS (49SNOWHEADLGHT15PROS)
ELECTRICAL, IGNITION SYSTEM - S17EFK6 ALL OPTIONS (49SNOWIGNITION15PROS)
ELECTRICAL, MULTI FUNCTION GAUGE - S17EFK6 ALL OPTIONS (600266)
ELECTRICAL, SWITCHES, SENSORS and COMPONENTS - S17EFK6 ALL OPTIONS (600301)
ELECTRICAL, WIRE HARNESS - S17EFK6 ALL OPTIONS (600302)
ENGINE, AIR INTAKE SYSTEM - S17EFK6 ALL OPTIONS (600208)
ENGINE, COOLING SYSTEM - S17EFK6 ALL OPTIONS (600265)
ENGINE, CRANKCASE - S17EFK6 ALL OPTIONS (49SNOWCRANKCASE136LE)
ENGINE, CYLINDER - S17EFK6 ALL OPTIONS (600167)
ENGINE, EXHAUST - S17EFK6 ALL OPTIONS (600038)
ENGINE, EXHAUST VALVES and SOLENOID - S17EFK6 ALL OPTIONS (600168)
ENGINE, MOUNTING & LONG BLOCK - S17EFK6 ALL OPTIONS (600304)
ENGINE, OIL BOTTLE ASM. - S17EFK6 ALL OPTIONS (49SNOWOILBOTTLE15PROS)
ENGINE, OIL PUMP ASM. - S17EFK6 ALL OPTIONS (600040)
ENGINE, PISTON and CRANKSHAFT - S17EFK6 ALL OPTIONS (49SNOWPISTONCRANKSHAFT15600AS)
ENGINE, RECOIL STARTER - S17EFK6 ALL OPTIONS (49SNOWRECOIL12800RMK)
ENGINE, REED VALVE and THROTTLE BODY ADAPTOR - S17EFK6 ALL OPTIONS (49SNOWCARBURETOR15600AS)
ENGINE, STARTER MOTOR - S17EFK6 E.S. (600369)
ENGINE, THROTTLE CONTROL ASM. - S17EFK6 ALL OPTIONS (49SNOWTHROTTLE13RMK)
ENGINE, WATER PUMP - S17EFK6 ALL OPTIONS (600170)
FUEL SYSTEM, FUEL TANK ASM. - S17EFK6 ALL OPTIONS (600043)
FUEL SYSTEM, RAIL, LINES and THROTTLE BODY - S17EFK6 ALL OPTIONS (600046)
STEERING, HANDLEBAR MOUNTING - S17EFK6 ALL OPTIONS (600026)
STEERING, LOWER - S17EFK6 ALL OPTIONS (600044)
STEERING, SKI ASM. - S17EFK6 ALL OPTIONS (600036)
SUSPENSION, CONTROL ARMS and SPINDLE - S17EFK6 ALL OPTIONS (600025)
SUSPENSION, RAIL MOUNTING - S17EFK6 ALL OPTIONS (600023)
SUSPENSION, REAR - S17EFK6 ALL OPTIONS (600024)
SUSPENSION, SHOCK, FRONT TRACK - S17EFK6 (600054)
SUSPENSION, SHOCK, IFS - S17EFK6 (600056)
SUSPENSION, SHOCK, IFS W/RESERVOIR - S17EFK6 (600057)
SUSPENSION, SHOCK, REAR TRACK - S17EFK6 (600053)
SUSPENSION, SHOCK, REAR TRACK, W/RES. - S17EFK6 (600055)
SUSPENSION, SWAY BAR - S17EFK6 ALL OPTIONS (600068)
SUSPENSION, TORQUE ARM, FRONT - S17EFK6 ALL OPTIONS (600171)
SUSPENSION, TORQUE ARM, REAR - S17EFK6 ALL OPTIONS (600069)
TOOLS, BELT HOLDER, TOOLS, and OWNERS MANUAL - S17EFK6 ALL OPTIONS (600033)
BODY, BUMPER, FRONT - S17EFK6 ALL OPTIONS (49SNOWBUMPER15PROS)
BODY, BUMPER, REAR, SNOWFLAP and TAILLIGHT COVER - S17EFK6 ALL OPTIONS (600028)
BODY, CONSOLE - S17EFK6 ALL OPTIONS (600029)
BODY, DECAL - S17EFK6PSA/PSL (600483)
BODY, DECAL, SNOW CHECK BLK/PINK, BLK/RED - S17EFK6 (600276)
BODY, DECAL, SNOW CHECK RED, BLUE, ORANGE, BLK/TITANIUM - S17EFK6 (600233)
BODY, DECAL, SNOW CHECK WHITE - S17EFK6 (600275)
BODY, FENDERS AND NOSEPAN ASM. - S17EFK6 ALL OPTIONS (600314)
BODY, HOOD ASM. - S17EFK6 ALL OPTIONS (49SNOWHOOD15PROS)
BODY, HOOD FOAM/FIBER - S17EFK6 ALL OPTIONS (49SNOWHOODSCFL15PROS)
BODY, SEAT ASM. - S17EFK6 ALL OPTIONS (600368)
BODY, SIDE PANELS - S17EFK6 ALL OPTIONS (600052)
BODY, WINDSHIELD - S17EFK6 ALL OPTIONS (600031)
BRAKES, BRAKE SYSTEM - S17EFK6 ALL OPTIONS (600032)
CHASSIS, BULKHEAD ASM. - S17EFK6 ALL OPTIONS (600300)
CHASSIS, CHASSIS ASM. and OVER STRUCTURE - S17EFK6 ALL OPTIONS (600270)
CHASSIS, CLUTCH GUARD and FOOTRESTS - S17EFK6 ALL OPTIONS (600034)
DRIVE TRAIN, CLUTCH, PRIMARY - S17EFK6 ALL OPTIONS (49SNOWDRIVECLUTCH15PROS)
DRIVE TRAIN, CLUTCH, SECONDARY - S17EFK6 ALL OPTIONS (49SNOWDRIVENCLUTCH09ASLT)
DRIVE TRAIN, JACKSHAFT and DRIVESHAFT - S17EFK6 ALL OPTIONS (600574)
DRIVE TRAIN, QUICKDRIVE BELT SYSTEM - S17EFK6 ALL OPTIONS (600027)
ELECTRICAL, BATTERY and CABLES - S17EFK6 (600267)
ELECTRICAL, HEADLIGHT and TAILLIGHT - S17EFK6 ALL OPTIONS (49SNOWHEADLGHT15PROS)
ELECTRICAL, IGNITION SYSTEM - S17EFK6 ALL OPTIONS (49SNOWIGNITION15PROS)
ELECTRICAL, MULTI FUNCTION GAUGE - S17EFK6 ALL OPTIONS (600266)
ELECTRICAL, SWITCHES, SENSORS and COMPONENTS - S17EFK6 ALL OPTIONS (600301)
ELECTRICAL, WIRE HARNESS - S17EFK6 ALL OPTIONS (600302)
ENGINE, AIR INTAKE SYSTEM - S17EFK6 ALL OPTIONS (600208)
ENGINE, COOLING SYSTEM - S17EFK6 ALL OPTIONS (600265)
ENGINE, CRANKCASE - S17EFK6 ALL OPTIONS (49SNOWCRANKCASE136LE)
ENGINE, CYLINDER - S17EFK6 ALL OPTIONS (600167)
ENGINE, EXHAUST - S17EFK6 ALL OPTIONS (600038)
ENGINE, EXHAUST VALVES and SOLENOID - S17EFK6 ALL OPTIONS (600168)
ENGINE, MOUNTING & LONG BLOCK - S17EFK6 ALL OPTIONS (600304)
ENGINE, OIL BOTTLE ASM. - S17EFK6 ALL OPTIONS (49SNOWOILBOTTLE15PROS)
ENGINE, OIL PUMP ASM. - S17EFK6 ALL OPTIONS (600040)
ENGINE, PISTON and CRANKSHAFT - S17EFK6 ALL OPTIONS (49SNOWPISTONCRANKSHAFT15600AS)
ENGINE, RECOIL STARTER - S17EFK6 ALL OPTIONS (49SNOWRECOIL12800RMK)
ENGINE, REED VALVE and THROTTLE BODY ADAPTOR - S17EFK6 ALL OPTIONS (49SNOWCARBURETOR15600AS)
ENGINE, STARTER MOTOR - S17EFK6 E.S. (600369)
ENGINE, THROTTLE CONTROL ASM. - S17EFK6 ALL OPTIONS (49SNOWTHROTTLE13RMK)
ENGINE, WATER PUMP - S17EFK6 ALL OPTIONS (600170)
FUEL SYSTEM, FUEL TANK ASM. - S17EFK6 ALL OPTIONS (600043)
FUEL SYSTEM, RAIL, LINES and THROTTLE BODY - S17EFK6 ALL OPTIONS (600046)
STEERING, HANDLEBAR MOUNTING - S17EFK6 ALL OPTIONS (600026)
STEERING, LOWER - S17EFK6 ALL OPTIONS (600044)
STEERING, SKI ASM. - S17EFK6 ALL OPTIONS (600036)
SUSPENSION, CONTROL ARMS and SPINDLE - S17EFK6 ALL OPTIONS (600025)
SUSPENSION, RAIL MOUNTING - S17EFK6 ALL OPTIONS (600023)
SUSPENSION, REAR - S17EFK6 ALL OPTIONS (600024)
SUSPENSION, SHOCK, FRONT TRACK - S17EFK6 (600054)
SUSPENSION, SHOCK, IFS - S17EFK6 (600056)
SUSPENSION, SHOCK, IFS W/RESERVOIR - S17EFK6 (600057)
SUSPENSION, SHOCK, REAR TRACK - S17EFK6 (600053)
SUSPENSION, SHOCK, REAR TRACK, W/RES. - S17EFK6 (600055)
SUSPENSION, SWAY BAR - S17EFK6 ALL OPTIONS (600068)
SUSPENSION, TORQUE ARM, FRONT - S17EFK6 ALL OPTIONS (600171)
SUSPENSION, TORQUE ARM, REAR - S17EFK6 ALL OPTIONS (600069)
TOOLS, BELT HOLDER, TOOLS, and OWNERS MANUAL - S17EFK6 ALL OPTIONS (600033)
VIEW WISH LIST