Polaris
Browse New Models
Shop In-Stock
Honda
Browse New Models
Shop In-Stock
KTM
Browse New Models
Shop In-Stock
Beta
Browse New Models
Shop In-Stock
Timbersled
Browse New Models
1318 W 2nd St
,
The Dalles, OR
97058
541-298-1161
Search Inventory
Toggle navigation
Home
Brands
Inventory
All Inventory In Stock
New Inventory In Stock
Pre-Owned Inventory
Polaris Off-Road
Polaris Snowmobiles
Timbersled
Manufacturer Models
Value Your Trade-In
Request a Model
Government Purchasing Program
OEM Promotions
Secure Financing
Parts
Parts Department
Parts Finder
Shopping Cart
Service
Service Department
Warranty & Recall Look-Up
Schedule Polaris Service
Financing
About
Our Dealership
Our Team
Reviews
Customer Survey
Employment
Location & Hours
Contact
541-298-1161
The Dalles, OR
Fiche | Parts Diagrams
Home
›
Parts
›
Parts Finder
Search by :
Part / Desc
VIN
Please Select
Honda
KTM
Polaris
*Please enter at least 3 characters
SEARCH
Manufacturer
Polaris
Utility Vehicles
2017
RANGER XP 900 ALL OPTIONS (R17RTA87A1/A9/B1/B9/E87A1/B1/A4/B4/AU)
VIEW WISH LIST
Select a Section
Show/Hide
BODY, BOX MOUNTING and LATCH - R17RT_87 ALL OPTIONS (701157)
BODY, BOX, TAILGATE - R17RT_87 ALL OPTIONS (49RGRTAILGATE13900XP)
BODY, CARGO BOX - R17RT_87 ALL OPTIONS (701323)
BODY, DASH - R17RT_87 ALL OPTIONS (49RGRDASH14CREW)
BODY, DECALS - R17RT_87 ALL OPTIONS (701588)
BODY, FLOOR and FENDERS - R17RT_87 ALL OPTIONS (49RGRFLOOR15900XP)
BODY, FRONT BUMPER - R17RT_87 ALL OPTIONS (49RGRBUMPER13900XP)
BODY, FUEL TANK - R17RT_87 ALL OPTIONS (49RGRFUEL13900XP)
BODY, HOOD AND FRONT FACSIA - R17RT_87 ALL OPTIONS (49RGRMOLDINGS13900XP)
BODY, SEAT, 60/40 - R17RTE87AU (49RGRSEAT15900XP)
BODY, SEAT, 60/40 FULL BACK - R17RTA87A1/A4/A9/E87A1 (700386)
BODY, SIDE NETS - R17RT_87 ALL OPTIONS (701052)
BODY, SLIDER DRIVERS SEAT - R17RTE87AU (701115)
BODY, STORAGE - R17RT_87 ALL OPTIONS (49RGRSTORAGE13900XP)
BRAKES, BRAKE LINES and MASTER CYLINDER - R17RT_87 ALL OPTIONS (49RGRBRAKELINES13900XP)
BRAKES, CALIPER MOUNTING - R17RT_87 ALL OPTIONS (49RGRCALIPERMTG13900XP)
BRAKES, FRONT CALIPER - R17RT_87 ALL OPTIONS (49RGRCALIPER097004X4)
BRAKES, MASTER CYLINDER - R17RT_87 ALL OPTIONS (49RGRMC13900XP)
BRAKES, PEDAL and MASTER CYLINDER - R17RT_87 ALL OPTIONS (49RGRBRAKEFOOT13900XP)
BRAKES, REAR CALIPER - R17RT_87 ALL OPTIONS (49RGRCALIPERRR097004X4)
CHASSIS, CAB FRAME - R17RT_87 ALL OPTIONS (701121)
CHASSIS, MAIN FRAME - R17RT_87 ALL OPTIONS (701586)
DRIVE TRAIN, CLUTCH COVER and DUCTING - R17RT_87 ALL OPTIONS (701054)
DRIVE TRAIN, CLUTCH, PRIMARY, EBS - R17RT_87 ALL OPTIONS (49RGRCLUTCHDRV15900XP)
DRIVE TRAIN, CLUTCH, SECONDARY - R17RT_87 ALL OPTIONS (49RGRCLUTCHDVN14900XP)
DRIVE TRAIN, FRONT GEARCASE INTERNALS (FROM 6/01/2017) - R17RTE87A1/A4/B4/B1/AU [49BOBCATGCFRTINTL13900DH]
DRIVE TRAIN, FRONT GEARCASE INTERNALS - R17RTA87A1/B1/A9/B9 (701245)
DRIVE TRAIN, FRONT GEARCASE INTERNALS {TO 6/01/2017] - R17RTE87A1/A4/B4/B1/AU [49BOBCATGCFRTINTL13900DH]
DRIVE TRAIN, FRONT GEARCASE MOUNTING - R17RT_87 ALL OPTIONS (49RGRTRANSMTG13900XP)
DRIVE TRAIN, FRONT HALF SHAFT - R17RT_87 ALL OPTIONS (49RGRSHAFTDRV13900XP)
DRIVE TRAIN, FRONT PROP SHAFT - R17RT_87 ALL OPTIONS (701589)
DRIVE TRAIN, MAIN GEARCASE INTERNALS - R17RT_87 ALL OPTIONS (701328)
DRIVE TRAIN, MAIN GEARCASE MOUNTING - R17RT_87 ALL OPTIONS (700391)
DRIVE TRAIN, REAR DRIVE SHAFT (FROM 7/3/2017) - R17RT_87 ALL OPTIONS (49RGRSHAFTDRVRR1332878)
DRIVE TRAIN, REAR DRIVE SHAFT (TO 7/3/2017) - R17RT_87 ALL OPTIONS (49RGRSHAFTDRVRR13900XP)
DRIVE TRAIN, SHIFT LEVER and CABLE - R17RT_87 ALL OPTIONS (49RGRSHIFT13900XP)
ELECTRICAL, BATTERY - R17RT_87 ALL OPTIONS (701634)
ELECTRICAL, DASH CONTROLS - R17RT_87 ALL OPTIONS (49RGRCONTROLS14CREW)
ELECTRICAL, HARNESS - R17RT_87 ALL OPTIONS (49RGRHARNESS15900XP)
ELECTRICAL, HEADLIGHT and TAILLIGHT - R17RT_87 ALL OPTIONS (49RGRTAILLAMPS13900XP)
ELECTRICAL, IGNITION - R17RT_87 ALL OPTIONS (49RGRIGNITION13900XP)
ELECTRICAL, SENSORS and MODULES - R17RT_87 ALL OPTIONS (700397)
ELECTRICAL, THROTTLE PEDAL - R17RT_87 ALL OPTIONS (49RGRTHROTTLEPEDAL14900XP)
ENGINE, AIR INTAKE SYSTEM - R17RT_87 ALL OPTIONS (49RGRAIRBOX14900XP)
ENGINE, BALANCER - R17RT_87 ALL OPTIONS (49RGRBALANCER13900XP)
ENGINE, BREATHER - R17RT_87 ALL OPTIONS (49RGRBREATHER13900XP)
ENGINE, COOLING SYSTEM - R17RT_87 ALL OPTIONS (49RGRCOOL13900XP)
ENGINE, COOLING, THERMOSTAT and BYPASS - R17RT_87 ALL OPTIONS (700372)
ENGINE, COOLING, WATERPUMP - R17RT_87 ALL OPTIONS (700374)
ENGINE, CRANKCASE - R17RT_87 ALL OPTIONS (49RGRCRANKCASE13900XP)
ENGINE, CRANKSHAFT and PISTON - R17RT_87 ALL OPTIONS (700924)
ENGINE, CYLINDER and HEAD - R17RT_87 ALL OPTIONS (700371)
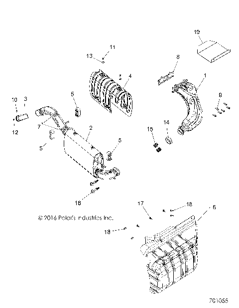
ENGINE, EXHAUST - R17RT_87 ALL OPTIONS (701055)
ENGINE, INTAKE and THROTTLE BODY - R17RT_87 ALL OPTIONS (49RGRTHROTTLEBODY14900XP)
ENGINE, MOUNTING & LONG BLOCK - R17RT_87 ALL OPTIONS (700375)
ENGINE, OIL DIPSTICK - R17RT_87 ALL OPTIONS (700373)
ENGINE, OIL PUMP and OIL COOLER - R17RT_87 ALL OPTIONS (49RGROILPUMP13900XP)
ENGINE, STARTER and DRIVE - R17RT_87 ALL OPTIONS (702178)
ENGINE, STATOR and COVER - R17RT_87 ALL OPTIONS (701256)
ENGINE, VALVE COVER - R17RT_87 ALL OPTIONS (49RGRVALVE13900XP)
ENGINE, VALVES and CAMSHAFTS - R17RT_87 ALL OPTIONS (701056)
REFERENCES, TOOL KIT and OWNERS MANUALS - R17RT_87 ALL OPTIONS (49RGRTOOL13900XP)
STEERING, STEERING ASM. - R17RT_87 ALL OPTIONS (700401)
SUSPENSION, FRONT - R17RT_87 ALL OPTIONS (49RGRSUSPFRT15900XP)
SUSPENSION, FRONT SHOCK - R17RT_87 ALL OPTIONS (49RGRSHOCKFRT7043755)
SUSPENSION, REAR - R17RT_87 ALL OPTIONS (49RGRSUSPRR13900XP)
SUSPENSION, REAR SHOCK - R17RT_87 ALL OPTIONS (49RGRSHOCKRR13900XP)
SUSPENSION, TORSION BAR, REAR - R17RT_87 ALL OPTIONS (49RGRSTABILIZERRR13900XP)
WHEELS, FRONT - R17RT_87 ALL OPTIONS (49RGRWHEELFRT13900XP)
WHEELS, REAR - R17RT_87 ALL OPTIONS (49RGRWHEELRR13900XP)
BODY, BOX MOUNTING and LATCH - R17RT_87 ALL OPTIONS (701157)
BODY, BOX, TAILGATE - R17RT_87 ALL OPTIONS (49RGRTAILGATE13900XP)
BODY, CARGO BOX - R17RT_87 ALL OPTIONS (701323)
BODY, DASH - R17RT_87 ALL OPTIONS (49RGRDASH14CREW)
BODY, DECALS - R17RT_87 ALL OPTIONS (701588)
BODY, FLOOR and FENDERS - R17RT_87 ALL OPTIONS (49RGRFLOOR15900XP)
BODY, FRONT BUMPER - R17RT_87 ALL OPTIONS (49RGRBUMPER13900XP)
BODY, FUEL TANK - R17RT_87 ALL OPTIONS (49RGRFUEL13900XP)
BODY, HOOD AND FRONT FACSIA - R17RT_87 ALL OPTIONS (49RGRMOLDINGS13900XP)
BODY, SEAT, 60/40 - R17RTE87AU (49RGRSEAT15900XP)
BODY, SEAT, 60/40 FULL BACK - R17RTA87A1/A4/A9/E87A1 (700386)
BODY, SIDE NETS - R17RT_87 ALL OPTIONS (701052)
BODY, SLIDER DRIVERS SEAT - R17RTE87AU (701115)
BODY, STORAGE - R17RT_87 ALL OPTIONS (49RGRSTORAGE13900XP)
BRAKES, BRAKE LINES and MASTER CYLINDER - R17RT_87 ALL OPTIONS (49RGRBRAKELINES13900XP)
BRAKES, CALIPER MOUNTING - R17RT_87 ALL OPTIONS (49RGRCALIPERMTG13900XP)
BRAKES, FRONT CALIPER - R17RT_87 ALL OPTIONS (49RGRCALIPER097004X4)
BRAKES, MASTER CYLINDER - R17RT_87 ALL OPTIONS (49RGRMC13900XP)
BRAKES, PEDAL and MASTER CYLINDER - R17RT_87 ALL OPTIONS (49RGRBRAKEFOOT13900XP)
BRAKES, REAR CALIPER - R17RT_87 ALL OPTIONS (49RGRCALIPERRR097004X4)
CHASSIS, CAB FRAME - R17RT_87 ALL OPTIONS (701121)
CHASSIS, MAIN FRAME - R17RT_87 ALL OPTIONS (701586)
DRIVE TRAIN, CLUTCH COVER and DUCTING - R17RT_87 ALL OPTIONS (701054)
DRIVE TRAIN, CLUTCH, PRIMARY, EBS - R17RT_87 ALL OPTIONS (49RGRCLUTCHDRV15900XP)
DRIVE TRAIN, CLUTCH, SECONDARY - R17RT_87 ALL OPTIONS (49RGRCLUTCHDVN14900XP)
DRIVE TRAIN, FRONT GEARCASE INTERNALS (FROM 6/01/2017) - R17RTE87A1/A4/B4/B1/AU [49BOBCATGCFRTINTL13900DH]
DRIVE TRAIN, FRONT GEARCASE INTERNALS - R17RTA87A1/B1/A9/B9 (701245)
DRIVE TRAIN, FRONT GEARCASE INTERNALS {TO 6/01/2017] - R17RTE87A1/A4/B4/B1/AU [49BOBCATGCFRTINTL13900DH]
DRIVE TRAIN, FRONT GEARCASE MOUNTING - R17RT_87 ALL OPTIONS (49RGRTRANSMTG13900XP)
DRIVE TRAIN, FRONT HALF SHAFT - R17RT_87 ALL OPTIONS (49RGRSHAFTDRV13900XP)
DRIVE TRAIN, FRONT PROP SHAFT - R17RT_87 ALL OPTIONS (701589)
DRIVE TRAIN, MAIN GEARCASE INTERNALS - R17RT_87 ALL OPTIONS (701328)
DRIVE TRAIN, MAIN GEARCASE MOUNTING - R17RT_87 ALL OPTIONS (700391)
DRIVE TRAIN, REAR DRIVE SHAFT (FROM 7/3/2017) - R17RT_87 ALL OPTIONS (49RGRSHAFTDRVRR1332878)
DRIVE TRAIN, REAR DRIVE SHAFT (TO 7/3/2017) - R17RT_87 ALL OPTIONS (49RGRSHAFTDRVRR13900XP)
DRIVE TRAIN, SHIFT LEVER and CABLE - R17RT_87 ALL OPTIONS (49RGRSHIFT13900XP)
ELECTRICAL, BATTERY - R17RT_87 ALL OPTIONS (701634)
ELECTRICAL, DASH CONTROLS - R17RT_87 ALL OPTIONS (49RGRCONTROLS14CREW)
ELECTRICAL, HARNESS - R17RT_87 ALL OPTIONS (49RGRHARNESS15900XP)
ELECTRICAL, HEADLIGHT and TAILLIGHT - R17RT_87 ALL OPTIONS (49RGRTAILLAMPS13900XP)
ELECTRICAL, IGNITION - R17RT_87 ALL OPTIONS (49RGRIGNITION13900XP)
ELECTRICAL, SENSORS and MODULES - R17RT_87 ALL OPTIONS (700397)
ELECTRICAL, THROTTLE PEDAL - R17RT_87 ALL OPTIONS (49RGRTHROTTLEPEDAL14900XP)
ENGINE, AIR INTAKE SYSTEM - R17RT_87 ALL OPTIONS (49RGRAIRBOX14900XP)
ENGINE, BALANCER - R17RT_87 ALL OPTIONS (49RGRBALANCER13900XP)
ENGINE, BREATHER - R17RT_87 ALL OPTIONS (49RGRBREATHER13900XP)
ENGINE, COOLING SYSTEM - R17RT_87 ALL OPTIONS (49RGRCOOL13900XP)
ENGINE, COOLING, THERMOSTAT and BYPASS - R17RT_87 ALL OPTIONS (700372)
ENGINE, COOLING, WATERPUMP - R17RT_87 ALL OPTIONS (700374)
ENGINE, CRANKCASE - R17RT_87 ALL OPTIONS (49RGRCRANKCASE13900XP)
ENGINE, CRANKSHAFT and PISTON - R17RT_87 ALL OPTIONS (700924)
ENGINE, CYLINDER and HEAD - R17RT_87 ALL OPTIONS (700371)
ENGINE, EXHAUST - R17RT_87 ALL OPTIONS (701055)
ENGINE, INTAKE and THROTTLE BODY - R17RT_87 ALL OPTIONS (49RGRTHROTTLEBODY14900XP)
ENGINE, MOUNTING & LONG BLOCK - R17RT_87 ALL OPTIONS (700375)
ENGINE, OIL DIPSTICK - R17RT_87 ALL OPTIONS (700373)
ENGINE, OIL PUMP and OIL COOLER - R17RT_87 ALL OPTIONS (49RGROILPUMP13900XP)
ENGINE, STARTER and DRIVE - R17RT_87 ALL OPTIONS (702178)
ENGINE, STATOR and COVER - R17RT_87 ALL OPTIONS (701256)
ENGINE, VALVE COVER - R17RT_87 ALL OPTIONS (49RGRVALVE13900XP)
ENGINE, VALVES and CAMSHAFTS - R17RT_87 ALL OPTIONS (701056)
REFERENCES, TOOL KIT and OWNERS MANUALS - R17RT_87 ALL OPTIONS (49RGRTOOL13900XP)
STEERING, STEERING ASM. - R17RT_87 ALL OPTIONS (700401)
SUSPENSION, FRONT - R17RT_87 ALL OPTIONS (49RGRSUSPFRT15900XP)
SUSPENSION, FRONT SHOCK - R17RT_87 ALL OPTIONS (49RGRSHOCKFRT7043755)
SUSPENSION, REAR - R17RT_87 ALL OPTIONS (49RGRSUSPRR13900XP)
SUSPENSION, REAR SHOCK - R17RT_87 ALL OPTIONS (49RGRSHOCKRR13900XP)
SUSPENSION, TORSION BAR, REAR - R17RT_87 ALL OPTIONS (49RGRSTABILIZERRR13900XP)
WHEELS, FRONT - R17RT_87 ALL OPTIONS (49RGRWHEELFRT13900XP)
WHEELS, REAR - R17RT_87 ALL OPTIONS (49RGRWHEELRR13900XP)
VIEW WISH LIST