Polaris
Browse New Models
Shop In-Stock
Honda
Browse New Models
Shop In-Stock
KTM
Browse New Models
Shop In-Stock
Beta
Browse New Models
Shop In-Stock
Timbersled
Browse New Models
1318 W 2nd St
,
The Dalles, OR
97058
541-298-1161
Search Inventory
Toggle navigation
Home
Brands
Inventory
All Inventory In Stock
New Inventory In Stock
Pre-Owned Inventory
Polaris Off-Road
Polaris Snowmobiles
Timbersled
Manufacturer Models
Value Your Trade-In
Request a Model
Government Purchasing Program
OEM Promotions
Secure Financing
Parts
Parts Department
Parts Finder
Shopping Cart
Service
Service Department
Warranty & Recall Look-Up
Schedule Polaris Service
Financing
About
Our Dealership
Our Team
Reviews
Customer Survey
Employment
Location & Hours
Contact
541-298-1161
The Dalles, OR
Fiche | Parts Diagrams
Home
›
Parts
›
Parts Finder
Search by :
Part / Desc
VIN
Please Select
Honda
KTM
Polaris
*Please enter at least 3 characters
SEARCH
Manufacturer
Polaris
Utility Vehicles
SERIES 10
RANGER (A10RB42AA)
VIEW WISH LIST
Select a Section
Show/Hide
A-ARM - STRUT MOUNTING - A10RB42AA (4970937093B08)
AIR BOX - A10RB42AA (4995359535D11)
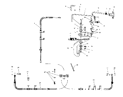
BRAKE LINES - MASTER CYLINDER - A10RB42AA (4970937093B11)
CAB FRAME - A10RB42AA (4970937093A03)
CARBURETOR - A10RB42AA (4970937093D03)
CHASSIS - BODY - A10RB42AA (4970937093A04)
CLUTCH COVER - A10RB42AA (4970937093C08)
COOLING SYSTEM - A10RB42AA (4970977097A10)
CRANKCASE - A10RB42AA (4970927092D09)
CRANKSHAFT AND PISTON - A10RB42AA (4970937093D01)
CYLINDER - A10RB42AA (4970937093C14)
DASH INSTRUMENTS AND CONTROLS - A10RB42AA (4970937093A06)
DECALS - A10RB42AA (4970937093A09)
DRIVE CLUTCH - A10RB42AA (4970937093C04)
DRIVEN CLUTCH - A10RB42AA (4970927092C10)
DUMP BOX - A10RB42AA (4970977097A08)
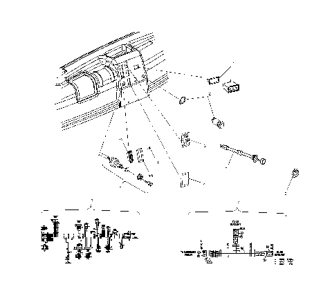
ELECTRICAL - BATTERY - A10RB42AA (4970937093B03)
ENGINE AND CLUTCH AIR INTAKE - A10RB42AA (4970977097C09)
ENGINE MOUNTING - A10RB42AA (4970977097A13)
EXHAUST SYSTEM - A10RB42AA (4970937093B01)
FLYWHEEL COVER - A10RB42AA (4981798179E04)
FOOT BRAKE - A10RB42AA (4970937093B10)
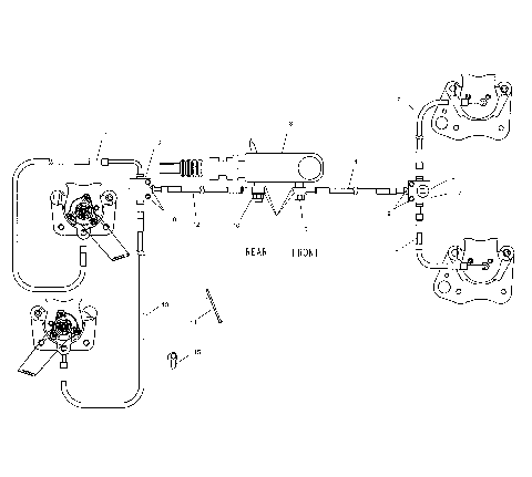
FRONT BRAKE CALIPER - A10RB42AA (4970927092C02)
FRONT STRUT - A10RB42AA (4987918791B07)
FRONT WHEEL - A10RB42AA (4970937093B06)
FUEL SYSTEM - A10RB42AA (4970927092A11)
GEAR SELECTOR - DIFFERENTIAL LOCK - A10RB42AA (4970937093C10)
GEARCASE - A10RB42AA (4981798179D03)
HOOD - A10RB42AA (4970937093A07)
INTAKE AND EXHAUST - A10RB42AA (4970937093D02)
MAGNETO - A10RB42AA (4970937093D10)
MOLDINGS AND SEAT - A10RB42AA (4970937093A05)
OIL FILTER - A10RB42AA (4999202119920211E03)
OIL PUMP - A10RB42AA (4970937093D06)
OIL TANK (If Built After 1/01/02) - A10RB42AA (4970937093D12)
OIL TANK (If Built Before 1/01/02) - A10RB42AA (4970977097A12)
PARK BRAKE LOCK - A10RB42AA (4970937093B13)
REAR BRAKE CALIPERS - A10RB42AA (4970937093B14)
REAR GEARCASE - A10RB42AA (4970937093C09)
REAR PROP SHAFT - A10RB42AA (4998179817B05)
REAR SHOCK - A10RB42AA (4970937093C03)
REAR WHEEL DRIVE - A10RB42AA (4970937093C01)
STARTING MOTOR - A10RB42AA (4970937093D09)
STEERING - A10RB42AA (4970937093B07)
SWING ARM - A10RB42AA (4970937093C02)
THROTTLE - A10RB42AA (4970937093B09)
TOOL KIT - A10RB42AA (4970937093D11)
TRANSMISSION MOUNTING - A10RB42AA (4970937093B02)
WATER PUMP - A10RB42AA (4970937093D05)
A-ARM - STRUT MOUNTING - A10RB42AA (4970937093B08)
AIR BOX - A10RB42AA (4995359535D11)
BRAKE LINES - MASTER CYLINDER - A10RB42AA (4970937093B11)
CAB FRAME - A10RB42AA (4970937093A03)
CARBURETOR - A10RB42AA (4970937093D03)
CHASSIS - BODY - A10RB42AA (4970937093A04)
CLUTCH COVER - A10RB42AA (4970937093C08)
COOLING SYSTEM - A10RB42AA (4970977097A10)
CRANKCASE - A10RB42AA (4970927092D09)
CRANKSHAFT AND PISTON - A10RB42AA (4970937093D01)
CYLINDER - A10RB42AA (4970937093C14)
DASH INSTRUMENTS AND CONTROLS - A10RB42AA (4970937093A06)
DECALS - A10RB42AA (4970937093A09)
DRIVE CLUTCH - A10RB42AA (4970937093C04)
DRIVEN CLUTCH - A10RB42AA (4970927092C10)
DUMP BOX - A10RB42AA (4970977097A08)
ELECTRICAL - BATTERY - A10RB42AA (4970937093B03)
ENGINE AND CLUTCH AIR INTAKE - A10RB42AA (4970977097C09)
ENGINE MOUNTING - A10RB42AA (4970977097A13)
EXHAUST SYSTEM - A10RB42AA (4970937093B01)
FLYWHEEL COVER - A10RB42AA (4981798179E04)
FOOT BRAKE - A10RB42AA (4970937093B10)
FRONT BRAKE CALIPER - A10RB42AA (4970927092C02)
FRONT STRUT - A10RB42AA (4987918791B07)
FRONT WHEEL - A10RB42AA (4970937093B06)
FUEL SYSTEM - A10RB42AA (4970927092A11)
GEAR SELECTOR - DIFFERENTIAL LOCK - A10RB42AA (4970937093C10)
GEARCASE - A10RB42AA (4981798179D03)
HOOD - A10RB42AA (4970937093A07)
INTAKE AND EXHAUST - A10RB42AA (4970937093D02)
MAGNETO - A10RB42AA (4970937093D10)
MOLDINGS AND SEAT - A10RB42AA (4970937093A05)
OIL FILTER - A10RB42AA (4999202119920211E03)
OIL PUMP - A10RB42AA (4970937093D06)
OIL TANK (If Built After 1/01/02) - A10RB42AA (4970937093D12)
OIL TANK (If Built Before 1/01/02) - A10RB42AA (4970977097A12)
PARK BRAKE LOCK - A10RB42AA (4970937093B13)
REAR BRAKE CALIPERS - A10RB42AA (4970937093B14)
REAR GEARCASE - A10RB42AA (4970937093C09)
REAR PROP SHAFT - A10RB42AA (4998179817B05)
REAR SHOCK - A10RB42AA (4970937093C03)
REAR WHEEL DRIVE - A10RB42AA (4970937093C01)
STARTING MOTOR - A10RB42AA (4970937093D09)
STEERING - A10RB42AA (4970937093B07)
SWING ARM - A10RB42AA (4970937093C02)
THROTTLE - A10RB42AA (4970937093B09)
TOOL KIT - A10RB42AA (4970937093D11)
TRANSMISSION MOUNTING - A10RB42AA (4970937093B02)
WATER PUMP - A10RB42AA (4970937093D05)
VIEW WISH LIST